83357 – CARLO
Instruction Manual
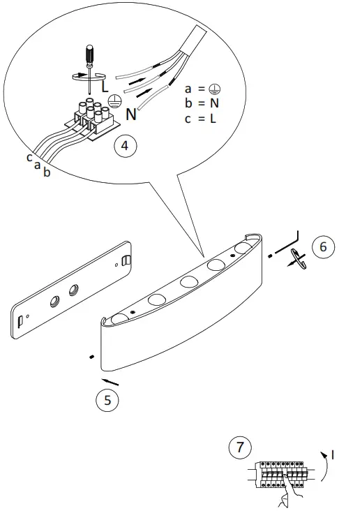
833579 CARLO LED Wall Light Silver Colored Oval Shape
This product contains light sources of energy efficiency class <C>.
| LED | 0,8 W 120 lm |
| 10 W 960 lm | |
| t | 20.000 h |
| Tk | 3.000 K |
| 15.000 x | |
| < 0,5 s |
833579
| 230V / 50Hz~ | |
| LED | 10x LED-Board 6V DC /0,8 W |

![]() | ![]() |
Paul Neuhaus GmbH
Olakenweg 36 · D-59457 Werl
+49(0)2922 9721 9290
[email protected]
www.paul-neuhaus.de





















