Leader Premiums AB0297 Magnetic Wireless Charger User Manual
It is recommended to read this user manual carefully and keep it for future reference.
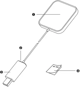
Product Overview
- Charging area
- Indicator Light
- USB
- Instruction sheet

Specifications
Input: 5V 2A, 9V 2A ,
Wireless Output: 5V 1A, 9V 1.1A,
Working distance: 6mm
395340 ITEM: AB0297
Magnetic alignment suitable for compatible devices only.
Suitable for all mobile devices with Qi technology
Operation
- Connect the cable into a USB port or into a USB AC adapter.
- Put your Qi compatible device on top of the wireless charger, ensuring that it is face up and centrally positioned.
- When the wireless charge is working correctly a white light of the USB connector will light up.
Note: If your phone has a protective case you may need to remove it for a successful connection when using the wireless charger.
Warnings
- Do not expose this product to rain or damp conditions.
- Prevent this ítem from falling as it could cause serious damage.
- Do not dismantle, repair or modify this product by yourself, contact an authorized specialist.
- In order to avoid any risk, do not dispose of this product inappropriately or throw it into the fire.
- Clean it with a dry cloth.
- Do not place this ítem near sources of heat or expose to direct sunlight.
- Do not insert any metal objects into this device as there is a risk of causing a short circuit in the unit.
- To avoid risk, do not place any metal objects between the charger and the mobile device during the charging process.
- Do not use mobile devices with a metal case.
- Keep out of reach of children.


FCC statement
This device complies with Part 15 of the FCC Rules. Operation is subject to the following two conditions:
- this device may not cause harmful interference, and
- this device must accept any interference received, including interference that may cause undesired operation
This device has been tested and found to comply with the limits for a Class B digital device, pursuant to Part 15 of the FCC Rules. These limits are designed to provide reasonable protection against harmful interference in a residential installation. This device generates, uses and can radiate radio frequency energy and, if not installed and used in accordance with the instructions, may cause harmful interference to radio communications.
However, there is no guarantee that interference will not occur in a particular installation.
If this device does cause harmful interference to radio or television reception, which can be determined by turning the device off and on, the user is encouraged to try to correct the interference by one or more of the following measures:
- Reorient or relocate the receiving antenna.
- Increase the separation between the device and receiver.
- Connect the device into an outlet on a circuit different from that to which the receiver is connected.
- Consult the dealer or an experienced radio/TV technician for help
Changes or modifications not expressly approved by the party responsible for compliance could void the user’s authority to operate the equipment FCC statement
The distance between user and products should be no less than 20cm




















