Vendnet 301 Cold Drink Vending Machine

GENERAL INFORMATION
Welcome to Selectivend, Inc., we offer you three convenient ways to order replacement parts. If you have any questions when placing your order, please call and we’ll be happy to assist you. Please provide the following information when placing your order:
Quantity Required
- Part Number
- Shipping and Billing Address
- Description
- Preferred Method of Shipment
- Vendor Model Number
- Customer Account Number
- Serial Number
TO ORDER BY MAIL:
You may place your requirements for replacement parts by providing necessary information as requested above, and mailing your order to:
Selectivend, Inc. 165 North 10th Street Waukee, Iowa 50263
If you have any questions, please call (515) 274-3641, ask for Selectivend Parts and we will be happy to assist you.
Order forms are av ailable upon request from Selectivend, Inc. or you may use your own purchase order form.
TO ORDER BY FAX MACHINE:
(515) 987-4447
You may Fax your order for replacement parts by providing the necessary information as requested above, to Selectivend, Inc. by using our fax: (515) 987-4447
If you have any questions, so indicate and we will respond via Fax, with your answer.
TO ORDER BY PHONE:
(515) 274-3641
You may call in your order for replacement parts. Ask for Selectivend Parts Department, Please provide the necessa ry information, as requested above, to allow us to provide you with prompt courteous service.
If you have any questions, so indicate and we will be happy to assist you.
- MINIMUM ORDER $25.00. You may wish to inquire on prices of parts at the time of your order. If you order Is less than the minimum, please check our catalog for other parts you may require to bring your order up to the $25.00 minimum order.
- OPEN ACCOUNT with approved credit.
- MASTER CARD – VISA- C.O.D.
If you have any questons, please call and we will be happy to assist you.
RETURNS:
- RESTOCKING CHARGE 20%. A restocking charge of 20% will apply to merchandise accepted by Selectivend for return, except items processed as a warranty.
- All items returned must be accompanied by a “material return tag” clearly stating the reason for return. Returns are to be shipped freight prepaid to Selectivend, Inc, 165 North loth street, Waukee, Iowa 50263. (Return tags are available upon request from Selectivend,)
- If you have any questions regarding returns, please call Selectlvend, Inc. (515) 274-3641, we will be happy to assist you,
LIMITATION OF LIABILITY:
- Selectivend, Inc. shall not be liable for any injury, loss or damage, whether direct, Incidental or consequential arising out of the use of or the inability to use any part, parts or products sold by Selectivend, Inc.
- The remedies of the buyer set forth herein are exclusive. and the liability of Selec tivend, Inc. with respect to any contract or sale or anything done In connection therewith, whether in contract, in tort, under any warranty, or otherwise, shall not, except as expressly provided herein, exceed the price of the part, parts or products on which such liability Is based.
- Any statements or representations about the parts or product, other than those contained herein, do not constitute warranties and shall not be relied on by the buyer and shall have no force or effect unless contained in a written agreement signed by officers of Selectlvend.
MACHINE FINAL 


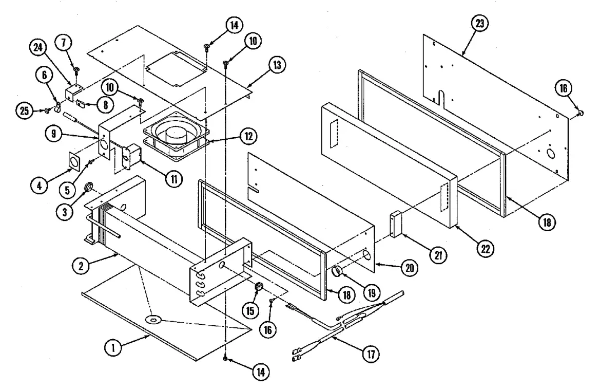
EJECTOR MECH ASSEMBLY


ROUND FRONT


A/R=AS REQUIRED
“FOR INTERNATIONAL APPLICATIONS SEPECIFY LANGUAGE
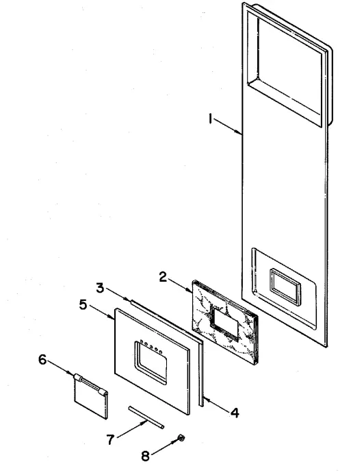
INNER DOOR ASSEMBLY

SQUARE FRONT


DISPLAY ASSEMBLY SQUARE FRONT

DOOR LINER ASSEMBLY

REFER ASSEMBLY











































