IOH6072RK
Built-in oven
User manual![]()


3


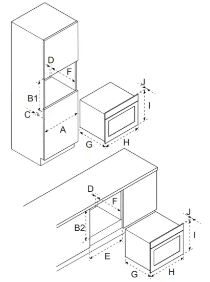
| A | 600mm | F | min. 550mm |
| B1 | 590mm(*) | G | 566mm |
| B2 | 600mm | H | 595mm |
| C | min. 5mm | I | 596mm |
| D | min. 35mm | J | 20mm |
| E | min. 560+8mm | K | min. 35mm |

|
|
|
|
|
|
|
|
Introduction
HOW TO USE THIS DOCUMENT
- Read this document completely. Make sure that you know and understand all the instructions.
- Obey the safety instructions to prevent injury and/or damage to the appliance and its surroundings.
- Do the procedures completely and in the given sequence.
- Keep this document in a safe area for future use. This document is a part of the appliance.
SYMBOLS USED IN THIS DOCUMENT
| Safety symbol | Function | Description |
| Warning | “Warning” means that injury or death is possible if you do not obey the instructions. |
| Caution | “Caution” means that damage to the appliance is possible if you do not obey the instructions. |
| Note | “Note” is used to give additional information. |
Safety
SAFETY INSTRUCTIONS
- Read the instructions before operating the appliance and keep the instructions for future use.
- The appliance is only intended for domestic use within a home. Do not use corrosive chemicals or vapors in this appliance. This appliance is specifically designed to heat. It is not designed for industrial or laboratory use.
- Do not place any object between the door of the appliance. Do not allow soil or cleaner residue to accumulate on the sealing surfaces.
- If the door or the door seal is damaged, the appliance must not be operated until it has been repaired by a competent person.
- Do not heat liquids and other foods in sealed containers because the container can explode.
- Only a competent person is allowed to carry out any service or repairs that involve removing the cover.
- Keep the appliance out of reach of children. Children do not understand the danger of handling electrical appliances.
- This appliance cannot be used by children from 0 to 8 years. This appliance can be used by children aged 8 years and above if they are continuously supervised. The appliance can also be used by people with reduced physical, sensory or mental capabilities or lack of experience or knowledge, if they have been given supervision or instruction concerning the use of the appliance in a safe way and understand the hazards involved. Keep the appliance and its cord out of reach of children aged less than 8 years.
- Cleaning and maintenance cannot be done by children.
- Children must not play with the appliance.
- Only use materials that are suitable for use in ovens.
- The appliance must be cleaned regularly and any food deposits must be removed.
- When you see smoke, switch off and unplug the appliance. Keep the door closed in order to stifle any flames.
- Do not place items on the door of the appliance.
- Install the appliance only in accordance with the installation instructions.
- Always carry out regular checks of the appliance and the main cable to make sure that no damage is evident. Should there be any signs that the appliance or the mains cable is damaged in the slightest degree, the entire appliance should be returned to the Customer Service Department. For your own safety, only use the accessories and spare parts from the manufacturer which are suitable for the appliance.
- Only use and store the appliance indoors.
- Do not use the appliance near water, in a wet basement/garage or near a swimming pool.
- Avoid touching hot surfaces, especially the inside of the appliance.
- Do not cover any vents of the appliance.
- Do not bend the main cable and keep it away from the heated surface.
- Failure to keep the appliance clean could lead to deterioration of the surface that could adversely affect the life of the appliance and possibly result in a hazardous situation.
- The appliance is not intended to be operated by means of an external timer or separate remote-control system.
- The appliance can only be used when it is built-in kitchen furniture.
- Never leave the appliance unattended when in use.
- For your own safety, only use the accessories and spare parts from the manufacturer that are suitable for the appliance.
- Never unplug the appliance from the main socket by pulling the main cable.
- Always make sure that your hands are dry before handling the mains cable, mains plug or switch.
- Should you decide not to use the appliance anymore, make it inoperative by cutting the mains cable after removing the mains plug from the mains socket. Make all potentially dangerous parts of the appliance harmless, particularly for children who might be tempted to play with it.
- Never immerse any part of the main body, lid, mains cable, and mains plug in water or any other liquid to protect against electrical hazards.
- If the appliance is used for other purposes than intended, or if it is not handled in accordance with the instruction manual, the full responsibility for any consequences will rest with the user. Any damages to the appliance or other things are not covered by the warranty.
- Never use a pressure cleaner or steam cleaner to clean the appliance.
- Legislation requires that all electrical and electronic equipment must be collected for reuse and recycling. Electrical and electronic equipment marked with the symbol indicating a separate collection of such equipment must be returned to a municipal waste collection point.
- Do not cover the bottom of the appliance with aluminum foil. The aluminum foil stops the heat and causes poor results and damage to the enamel.
- The appliance has a fan that continues after the operation.
- Only a qualified installer is allowed to install the appliance.
- In case of incorrect installation or connection, the warranty becomes invalid.
- If the mains cable is damaged, it may only be replaced by the manufacturer, its service organization, or similarly qualified persons, in order to prevent hazardous situations.
- The electrical connection must meet national and local regulations.
- The mains socket and mains plug must always be within reach.
- The appliance may not be connected to the main supply via a power strip or extension cable. If this is not observed, the safety of the appliance cannot be guaranteed.
- The appliance must be earthed.
- Only connect the appliance to alternate current, to an earthed mains socket. Make sure that the voltage in your home corresponds with the voltage printed on the type plate of the appliance.
- Make sure that the appliance is switched off before you replace a lamp.
Description
INTENDED USE
The appliance is intended to be used for preparing food.
Do not use the appliance for any other purpose than described in this document.
BUILT-IN OVEN
(Figure 1)
A Insert levels
B Door
C Door handle
D Control panel
E Baking tray
F Grill rack
| Item | Function |
| Insert levels | Refer to section ‘Using the insert levels’. |
| Door | To open the appliance. |
| Door handle | To open and close the door. |
| Control panel | Refer to section ‘Control panel’. |
| Baking tray | To cook food. Use the baking tray for cake rolls and roasting. |
| Grill rack | To cook food. Use the grill rack for grilling meat and for toasting bread. |
CONTROL PANEL
(Figure 2)
A Oven function knob
B Timer knob
C Temperature knob
D Temperature indicator
| Item | Function |
| Oven function knob | To select an oven mode. |
| Timer knob | To select the time.
|
| Temperature knob | To select the temperature. |
| Temperature indicator | To show if the appliance is preheating. The indicator is on if the heating elements are on. |
Installation
SAFETY INSTRUCTIONS FOR INSTALLATION
- Safety during use can only be guaranteed if the installation was done correctly and according to the instructions. The installer is liable for damage caused by incorrect installation.
- The electrical installation must be carried out by a qualified electrician. The electrician must comply to national and local regulations.
- The appliance has protection class I and may only be used in combination with an earthed connection.
- The appliance must be connected to a permanent installation in which provisions for switching off are integrated, in accordance with the installation instructions.
- Make sure that the mains cable does not get jammed during installation or is running along sharp edges. The main cable must be placed in such a way that no contact is made with hot parts of the appliance.
- The connection point, main socket and/or mains plug must always be accessible.
- The kitchen furniture in which the appliance is installed must be heat resistant to at least 90°C. This also applies to the doors or front of the furniture.
- Make sure that the kitchen furniture in which the appliance is installed is firmly attached, for example by fastening the furniture to adjacent elements.
- In case of incorrect installation or connection, the warranty becomes invalid.
- Changes to the appliance, including replacing the mains cable, must be carried out by a certified installer.
- Make sure that there is sufficient ventilation and fresh air around the appliance.
UNPACKING
- Remove the packaging.
Caution:
Make sure that you remove the sticker from the door. - Examine the appliance for damage.
- Make sure that the voltage is the same as on the type plate.
PREPARING FOR INSTALLATION
(Figure 3)
(*) The minimum dimension for B1 is 585 mm and the maximum dimension is 595 mm.
Note:
Make sure that the kitchen furniture is prepared according to the dimensions of the appliance.
INSTALLING THE APPLIANCE
Preliminary requirements
| 1. Make sure that the kitchen furniture is prepared according to the correct dimensions. |
Warning:
Two persons are required to install the appliance.
Caution:
Make sure that the mains cable does not get jammed during installation or is placed on top of the appliance.
Caution:
Do not cover the opening between the kitchen furniture and the top of the appliance. The opening is required for ventilation.
Note:
It is possible to connect the appliance to the main supply before positioning the appliance.
Procedure
- Put the appliance (A) in the center of the kitchen furniture.
Caution:
Make sure that there is a minimum space of 2 mm between the appliance and the walls of the kitchen furniture. (Figure 4) - Open the door (E) of the appliance.
- Place the appliance in the kitchen furniture.
- Install the plugs (B).
- Fasten the appliance to the kitchen furniture. Use the screws (D).
- Install the covers (C).
- Close the door.
- Connect the appliance. Refer to section ‘Connecting the appliance’.
CONNECTING THE APPLIANCE
- Make sure that the voltage in your home corresponds with the voltage of the appliance.
- Make sure that the electrical system in your home is supplied with a 16 Amp fuse.
- Use the supplied mains cable to connect the appliance to the mains socket.
REPLACING THE MAINS CABLE
If necessary, you can replace the supplied mains cable with a longer or different mains cable.
Warning:
Replacing the main cable must be carried out by a qualified person.
Note:
Make sure that the new mains cable has a minimum core cross-section of 1.5 mm2 and a length of 1 m. If you use a mains cable that is too short, you cannot connect the appliance and position it in the kitchen furniture before connecting the appliance to the mains socket.
- Find the terminal box at the rear of the appliance. (Figure 5)
- Carefully push the pins (B) to open the cover (A). Use a screwdriver.
- Remove the screws (C).
- Place the new mains cable (D) in the terminal box.
- Connect the wires according to the wiring diagram.
- Install the screws.
- Close the cover.
Operation
PREPARING FOR OPERATION
- Remove the accessories from the appliance.
- Clean the appliance and the accessories. Use warm water and a mild cleaning agent.
- Rinse the appliance and the accessories thoroughly with water.
- Dry the appliance and the accessories.
- Use the oven for 60 minutes with a temperature of 250°C to remove any production residues, such as oil and to prevent bad smells. Refer to section ‘Using the oven’.
Warning:
Make sure that the room is properly ventilated. - Let the appliance cool down.
- Clean the appliance again. Use warm water and a mild cleaning agent.
- Rinse the appliance thoroughly with water.
- Dry the appliance.
- Install the guide racks. Refer to section ‘Installing the guide racks’.
INSTALLING THE GUIDE RACKS
- Identify the guide tracks for the left side (A) and the right side (B).
- Push the guide rack (C) in the opening at the rear of the appliance.
- Push the guide rack in the opening at the front of the appliance.
(Figure 6)
(Figure 7)
USING THE INSERT LEVELS
The appliance has 5 insert levels to ensure that you can partly remove the grill rack or baking tray without tilting. As a result, you can safely remove the dish from the appliance and the grill rack or baking tray will not accidentally fall from the appliance.
Caution:
For safety reasons, the baking tray should be placed in one of the insert levels. Do not place the baking tray on the bottom of the appliance.
1. Use the guide racks to correctly place the grill rack (A) or baking tray (B) in the appliance.
2. Make sure that the accessories are fully placed in the appliance and that they do not make contact with the door.
USING THE OVEN
For an overview of the available oven modes, refer to section ‘Oven modes’.
- Turn the oven function knob to the desired oven mode.
- Turn the timer knob counter-clockwise to the infinity mode.
- Turn the temperature knob to the desired temperature.
- Wait until the appliance has reached the set temperature.
When the appliance reaches the set temperature, the temperature indicator goes off. - Turn the timer knob to the desired cooking time.
CHANGING THE TEMPERATURE DURING COOKING
You can change the temperature at any time.
- Turn the temperature knob to the desired temperature.
CHANGING THE COOKING TIME DURING COOKING
You can change the cooking time at any time.
- Turn the timer knob to the desired time.
CHANGING THE OVEN MODE DURING COOKING
You can change the oven mode at any time.
1. Turn the oven function knob to the desired oven mode.
Note:
If you turn the oven function knob to the modes ‘lamp’ or ‘defrost’, the heating elements will be switched off.
STOPPING THE APPLIANCE
- Turn the oven function knob to the off position ‘o’.
- Turn the temperature knob to the off position ‘o’.
Cleaning and maintenance
CLEANING THE APPLIANCE
Warning:
Make sure that the appliance is switched off and cooled down before cleaning.
Caution:
Do not use a pressure cleaner or steam cleaner to clean the appliance.
Caution:
Do not use abrasive cleaning agents or sharp scrapers.
Note:
You can remove the guide racks and the door to easily clean the appliance. Refer to sections ‘Removing
the guide racks’ and ‘Removing the door’.
- Clean the inside of the appliance after every use. Use a damp cloth.
- In case of heavy dirt, clean the inside of the appliance with warm water and a mild cleaning agent. Thoroughly
rinse and dry the inside after cleaning.
Note:
Leave the door open slightly to make sure that the appliance dries completely. - Clean the accessories. Use warm water and a mild cleaning agent. Dry the accessories after cleaning.
- Clean the outside of the appliance. Use a damp cloth or sponge.
- In case of heavy dirt, clean the outside of the appliance with a mild detergent.
Note:
The cover of the door can become discolored or the glass inside the door can be dirty. You can remove the cover for thorough cleaning. Refer to section ‘Removing the cover of the door’. - If necessary, clean the cover of the door and the glass inside the door. Use warm water and a mild cleaning agent. Dry the cover after cleaning.
REMOVING THE GUIDE RACKS
- Pull the guide rack (A) from the opening at the front of the appliance.
- Pull the guide rack from the opening at the rear of the appliance.
- Remove the guide racks.
- After cleaning, install the guide racks again. Refer to section ‘Installing the guide racks’.
(Figure 9)
REMOVING THE DOOR
Warning:
Risk of injury. Keep your hands away from the hinges.
1. Open the door (A) of the appliance.
Caution:
Do not use a sharp object to open the levers. This can cause damage to the appliance.
(Figure 10)
- Open the door (A) of the appliance.
Caution:
Do not use a sharp object to open the levers. This can cause damage to the appliance - Open the levers (B) on each side of the door.
- Close the door halfway.
- Remove the door. Use both hands.
- After cleaning, install the door again. Refer to section ‘Installing the door’.
INSTALLING THE DOOR
Warning:
Risk of injury. Keep your hands away from the hinges.
- Carefully place the door (A) in the appliance. (Figure 11)
Caution:
Make sure that the hinges are placed correctly. If the hinges are placed incorrectly, you cannot open the door. - Open the door.
- Close the levers (B) on each side of the door.
- Close the door of the appliance.
REMOVING THE COVER OF THE DOOR
- Push the pins (A) on each side of the door.
- Remove the cover (B).
Note:
When the cover is removed, the glass panels inside the door are also accessible. - After cleaning, install the cover again. Refer to section ‘Installing the cover of the door’.
INSTALLING THE COVER OF THE DOOR
Caution:
Make sure that the glass panels are installed correctly.
- Carefully push the cover (A) in the door until you hear a click.
CLEANING THE KNOBS
Caution:
Do not clean the knobs in a dishwasher.
Caution:
Do not use an abrasive cleaning agent.
- Pull the knobs to remove them.
- Clean the knobs. Use warm water and a mild cleaning agent.
- Dry the knobs. Use a soft cloth.
- Carefully push the knobs back in the control panel.
REPLACING THE LAMP
Warning:
Make sure that the appliance is cooled down.
Preliminary requirements
| 1. The appliance is switched off. 2. The appliance is disconnected from the main supply. | • Halogen lamp (25W, 230V, T300°C) |
Procedure
- Turn the glass cover (A) counter-clockwise to remove it.
- Carefully pull the lamp (B) to remove it.
- Replace the lamp.
- Install the glass cover.
Closing requirements
1. Connect the appliance.
Extra information
OVEN MODES
| Oven mode | Description | Temperature range | |
| Lamp | Used for activating and deactivating the lamp without switching on the appliance. The lamp is activated during all oven modes, except the eco mode. | – |
| Defrost | Used for slowly defrosting food. The fan circulates the air inside to appliance to defrost the food. The appliance does not use heat in this mode. | – |
| Double grill + fan | Used for grilling a layer of food or to gratin dishes. | 50-250°C |
| Double grill | Used for grilling large portions of meat. | 50-250°C | |
| Eco | Used for baking at several levels while saving energy. The heat comes from the heating elements at the rear of the appliance. | 50-250°C |
| Oven mode | Description | Temperature range | |
| Single grill | Used for grilling small portions and for browning food. Place the dish in the middle of the appliance. | 50-250°C |
| Conventional + fan | Used for baking at several levels, for example, baking trays with cookies. The fan distributes the heat from the heating elements evenly throughout the appliance. | 50-250°C | |
|
| Conventional | The upper and lower heating elements are both used for perfect baking results, such as cake and puff pastry. | 50-250°C |
| Heat from below | Used for extra browning of pizza bottoms, quiches and pies. The heat comes from the lower heating element. | 50-250°C |
Troubleshooting
GENERAL TROUBLESHOOTING PROCEDURE
- Try to find a solution for the problem with the help of the troubleshooting table.
- If you cannot find a solution for the problem, contact the Inventum-servicedienst
TROUBLESHOOTING TABLE
| Problem | Possible cause | Possible solution |
| The appliance does not start. | There is no power supply. | Do a check on the fuse, if necessary replace the fuse. |
| The power is interrupted. | Do a check if the power in the kitchen is working. | |
| A knob is loose. | The knob is not installed correctly. | 1. Carefully push the knob back in the control panel. 2. Do a check if you can easily turn the knob. |
| A knob does not turn. | There is dirt under the knob. | Clean the knob. Refer to section ‘Cleaning the knobs‘. |
| The lamp does not work. | The lamp is broken. | Replace the lamp. Refer to section ‘Replacing the lamp’. |
| The appliance does not become hot. | The door is not closed correctly. | Make sure that the door is closed completely. |
| There is no oven mode selected. | Make sure that you set the oven mode. | |
| There is no temperature selected. | Make sure that you set the temperature. | |
| The temperature indicator is off. | There is no oven mode selected. | Make sure that you set the oven mode. |
Product fiche
TECHNICAL SPECIFICATIONS
| Item | Specification |
| Model | IOH6072RK |
| Voltage | 220-240 Volt ~50-60Hz |
| Power | 2300 Watt |
| Energy class | A |
| Energy consumption, cavity (conventional) | 0,85 kWh |
| Energy consumption, cavity (hot air) | 0,78 kWh |
| Energy efficiency index | 95.9 |
| Capacity | 72 liter |
| External dimensions (without door handle) | 595 x 566 x 596 mm |
| Net weight | 33 kg |
General terms and conditions of service and warranty
We do not need to remind you of the importance of service. After all, we develop our products to a standard so that you can enjoy them for many years, without any concerns. If, nevertheless, there is a problem, we believe you are entitled to a solution straight away. Hence our products come with an exchange service, on top of the rights and claims you are entitled to by law. By exchanging a product or part, we save you time, effort, and costs. 2-year full manufacturer’s warranty
- Customers enjoy a 2-year full manufacturer’s warranty on all Inventum products. Within this period, a faulty product or part will always be exchanged for a new model, free of charge. In order to claim under the 2-year full manufacturer’s warranty, you can either return the product to the shop you bought it from or contact the Inventum customer service department via the form at ‘https://www.inventum.eu/service-aanvraag’.
- The 2-year warranty period starts from the date the product is bought.
- In order to claim under the warranty, you must produce a copy of the original receipt.
- The warranty applies only to normal domestic use of Inventum products within the Netherlands.
5-year Inventum warranty
- Inventum offers a 5-year warranty on most large domestic appliances and a selection of small domestic appliances. This 5-year Inventum warranty consists of a 2-year full manufacturer’s warranty, extended by a further 3-year warranty. The only thing you need to do to qualify for the 3-year extended warranty is to register the product within 45 days of purchase. You can read more about registering the product in the following paragraph.
- In accordance with the 5-year Inventum warranty provisions, a faulty product or part will always be exchanged for a new model during the first 2 years under the warranty. During the 3rd to 5th year under the warranty, you will only pay the costs of exchange. The current costs of exchange are listed at ‘https://www.inventum.eu/omruilkosten‘.
- In order to claim under the 5-year Inventum warranty, you can either return the product to the shop you bought it from or contact the Inventum customer service department via the form at ‘https://www.inventum.eu/service-aanvraag‘.
- The 5-year warranty period starts from the date the product is bought.
- In order to claim under the warranty, you must produce a copy of the original receipt.
- The warranty applies only to normal domestic use of Inventum products within the Netherlands.
Product registration
- The 3-year extended warranty is easy to obtain, free of charge, by registering the product within 45 days of purchase, via the website ‘https://www.inventum.eu/garantie-registratie‘. If you did not register the product within 45 days of purchase, you can still do so up to 2 years after the purchase date. However, there will be a charge. The one-off registration charge is € 89 for each separate product. Registration is possible only for products that are subject to the 5-year Inventum warranty. Whether the product qualifies for the 5-year Inventum warranty is stated in the product user manual and in the product information sheet, on Inventum’s website.
- The warranty period always starts from the date the product is bought. If the product is registered for the extended warranty at a later date, the warranty period still starts from the original date of purchase.
- The 3-year extended warranty can only be applied for if you are in the possession of a copy of the original receipt and the Inventum 5-year warranty certificate.
Large domestic appliances
- Breakdowns or faults in large domestic appliances (separate and built-in white goods) can be registered via the form at ‘https://www.inventum.eu/service-aanvraag‘, by calling the Inventum customer service department or in the store where you bought the device. The telephone number of the customer service department can be found at ‘https://www.inventum.eu‘.
- In the event of breakdowns or faults in large domestic appliances, Inventum will have the option to have a service engineer inspect the faulty device onsite at the customer in the Netherlands and to carry out repairs, there and then. The Inventum customer service department can also decide to have the device exchanged.
- If you suffer a breakdown or fault in a large domestic appliance during the first 2 years from the date of purchase, Inventum will not charge any costs for the exchange, call-out or for parts and labor.
- If you registered the product as described before at ‘https://www.inventum.eu/garantie-registratie‘ and you subsequently report a breakdown of a large domestic appliance in the 3rd to 5th year of the date of purchase, the 5-year Inventum warranty applies and the device will be repaired or exchanged, free of charge. In the event of a repair or exchange of the device, you only pay the costs of the exchange. The current costs of exchange are listed at ‘https://www.inventum.eu/omruilkosten‘. If you did not register the product, the 3-year extended warranty does not apply.
- When reporting a breakdown or fault, a service engineer will contact the customer within 1 working day in order to make an appointment. When the report is made in a weekend or during a public holiday, this will be the next working day.
- If you report a breakdown or fault via the form at ‘https://www.inventum.eu/service-aanvraag’, you will be kept informed of the progress via mobile messages and e-mail.
- The warranty period starts from the date the product is bought.
- In order to claim under the warranty, you must produce a copy of the original receipt and the Inventum 5-year warranty certificate.
- The warranty applies only to normal domestic use of Inventum products within the Netherlands.
Breakdowns or faults outside the warranty period
- Breakdowns or faults in small or large domestic appliances outside the warranty period can be reported to the customer services department via the form at ‘https://www.inventum.eu/service-aanvraag’ or by calling the customer services department.
- The customer services department may ask you to send the product for inspection or repair. The costs of dispatch will be at your expense.
- The inspection to establish whether the repair is possible involves a charge. You need to grant your permission for this, in advance.
- In the event of a large domestic appliance, Inventum, at your request, can send out a service engineer. In that case, you will be charged the call-out costs, as well as parts and labor.
- In the event of an instruction to repair, the repair costs must be paid in advance. In the event of a repair by a service engineer, the costs of the repair must be settled with the engineer on-site, preferably by means of PIN payment.
Warranty exclusions
- The following is excluded from the aforesaid warranties:
• normal wear and tear;
• improper use or misuse;
• insufficient maintenance;
• failure to comply with the operating and maintenance instructions;
• unprofessional installation or repairs by third parties or the customer himself;
• non-original parts used by the customer;
• use for commercial or business purposes;
• removal of the serial number and/or rating label. - In addition, the warranty does not apply to normal consumer goods, such as:
• dough hooks, baking tins, (carbon) filters, etc.;
• batteries, bulbs, carbon filters, fat filters, etc.;
• external connection cables;
• glass accessories and glass parts such as oven doors;
• and similar items. - Transport damage not caused by Inventum is also excluded. Therefore, inspect your new device before starting to use it. If you detect any damage, you must report this to the store where you purchased the product within 5 working days, or to the Inventum customer service department via the form at ‘https://www.inventum.eu/service-
aanvraag‘. If transport damage is not reported within this period, Inventum does not accept any liability in this respect. - The following are excluded from warranty and/or replacement: faults, loss of, and damage to the device as a
result of an event that is normally insured under the home contents insurance.
Important to know
- The replacement or repair of a faulty product, or a part thereof, does not lead to an extension of the original warranty period.
- Parts that have been replaced, packaging material, and exchanged devices are taken back by the service engineer and become the property of Inventum.
- If a complaint is unfounded, all costs arising from it will be at the customer’s expense.
- Following the expiry of the warranty period, all costs of repair or replacement, including administration costs, dispatch, and call-out charges, will be charged to the customer.
- Inventum cannot be held liable for damage as a result of devices built-in incorrectly.
- Inventum cannot be held liable for damage caused by external events unless this liability arises from mandatory statutory provisions.
- These warranty and service provisions are governed by Dutch law. Disputes will be settled exclusively by the competent Dutch court.
![]()
Inventum huishoudelijke Apparaten B.V.
Postbus 5023
6802 EA Arnhem
www.inventum.eu
facebook.com/inventum1908
youtube.com/inventum1908![]()
IOH6072RK/01.0920
Modifications and printing errors reserved



























