Whirlpool w10505281 36-Inch Wide 4-Door Refrigerator

Overview
Bottom Mount Refrigerator
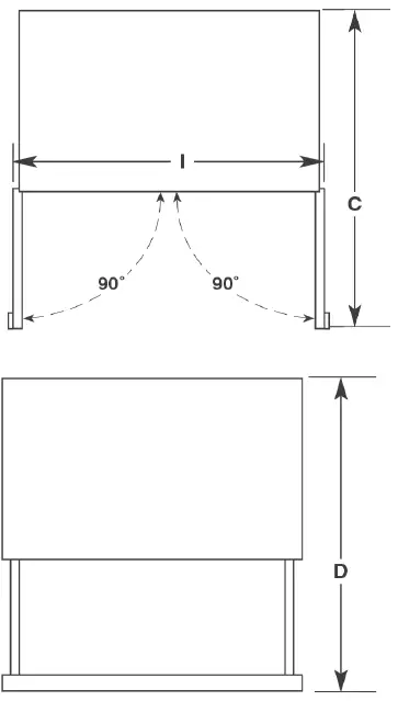
Specifications
| Model Size | Height Overall “A” | Height – Top of Cabinet “B” | Depth – Door Open 90° “C” | Depth – Drawer Open “D” | Depth – With Handles “E” | Depth – Without Handles “F” | Depth – Cabinet Only “G” | Width – Cabinet “H” | Width – Door Open 90° “I” |
| WRX988SIB | 701/8″ (1781 mm) | 685/8″ (1743 mm) | 48″ (1219 mm) | 475/8″ (1210 mm) | 3511/16″ (906 mm) | 333/16″ (843 mm) | 2815/16″ (735 mm) | 3511/16″ (906 mm) | 383/16″ (970 mm) |
| WRX986SIH | 701/8″ (1781 mm) | 683/4″ (1746 mm) | 485/8″ (1235 mm) | 475/8″ (1210 mm) | 363/8″ (924 mm) | 333/4″ (847 mm) | 29″ (737 mm) | 353/4″ (908 mm) | 383/16″ (970 mm) |
ELECTRICAL REQUIREMENTS
WARNING: Electrical Shock Hazard
- Plug into a grounded 3 prong outlet.
- Do not remove ground prong.
- Do not use an adapter.
- Do not use an extension cord.
- Failure to follow these instructions can result in death, fire, or electrical shock.
Electrical:
A 115 V, 60 Hz., AC only, 15 A or 20 A fused, grounded electrical supply is required. It is recommended that a separate circuit serving only your refrigerator be provided. Use an outlet that cannot be turned off by a switch. Do not use an
extension cord.
NOTE: Before performing any type of installation, cleaning, or removing a light bulb, turn the control (Thermostat, Refrigerator or Freezer Control depending on the model) to OFF and then disconnect the refrigerator from the electrical source. When you are finished, reconnect the refrigerator to the electrical source and reset the control (Thermostat, Refrigerator or Freezer Control depending on the model) to the desired setting. See “Using the Controls.”
Water:
A cold water supply with water pressure between 35 psi and 120 psi (241 kPa and 827 kPa) is required to operate ice maker and water dispenser. If you have questions about your water pressure, call a licensed, qualified plumber.
IMPORTANT:
The pressure of the water coming out of a reverse osmosis system going to the water inlet valve of the refrigerator needs to be between 35 psi and 120 psi (241 kPa and 827 kPa). Reverse Osmosis Water Supply: If a reverse osmosis water filtration system is connected to your cold water supply, the water pressure to the reverse osmosis system needs to be a minimum of 40 psi to 60 psi (276 kPa to 414 kPa)
LOCATION REQUIREMENTS
WARNING: Explosion Hazard Keep flammable materials and vapors, such as gasoline, away from refrigerator. Failure to do so can result in death, explosion, or fire.
To ensure proper ventilation for your refrigerator, it is recommended to allow a 1/2″ (1.27 cm) space on each side and at the refrigerator top. Allow at least 1″ (2.54 cm) between back of cabinet and the wall (consider the condenser as back in case is present). If your refrigerator has an ice maker, make sure you leave extra space at the back for the water line connections. If you are installing your refrigerator next to a fixed wall, leave 33/4″ (9.5 cm) on the hinge side (depending on your model) to allow the door to swing open. This space on the hinge side also allows for crisper removal when the door is fully swung open.
NOTE: It is recommended that you do not install the refrigerator near an oven, radiator, or other heat source, nor in a location where the temperature will fall below 13°C (55°F).
Because Whirlpool Corporation policy includes a continuous commitment to improve our products, we reserve the right to change materials and specifications without notice. Dimensions are for planning purposes only. For complete details, see Installation Instructions packed with product. Specifications subject to change without notice.





















