IKEA UTBY Leg


WARNING!
Serious or fatal crushing injuries can occur from furniture tip over. To prevent tip over this furniture must be used with the wall attachment device(s) provided.
Screw(s) and plug(s) for the wall are not included.
Use screw(s) and plug(s) suitable for your walls. If you are uncertain, seek professional advice. Read and follow each step of the instruction carefully
PRECAUTIONS



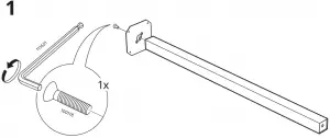
REQUIRED TOOLS


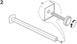
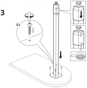
INSTALLATION






















