OWNER’S MANUAL
WVX-P INDUSTRIAL WET VAC
USER & MAINTENANCE BOOK
SAVE THESE INSTRUCTIONS FOR FUTURE REFERENCE
INTRODUCTION
Thank you for your recent DiamaPro® Systems purchase. You have bought a high quality, long-life commercial vacuum cleaner. For your safety and continued satisfaction with this product, please read this owner’s manual carefully before using. For your information, all parts used in the manufacturing of this vacuum cleaner meet or exceed rigid quality control standards. We stand behind all our products and are available to assist you with a knowledgeable and dedicated staff. If we can help you in anyway, please call Customer Service at 470-977-2323.
We also recommend that you visit our website www.diamaprosystems.com for the fastest, most efficient way to complete your product registration and see other DiamaPro Systems’ products and accessories to meet your cleaning needs.
OPERATION
BEFORE EACH USE
- This vacuum cleaner is designed for wet only pickup. Please avoid picking up dry materials.
- Make sure the tank is clean, and that there is no debris in the tank that can impede the action of the pump float mechanism.
- Make sure the mesh filter bag is installed on the inlet inside the canister. The bag should be empty, and the slide-on clamp should be installed on the bottom of the bag. Position the thin, flat plastic strip that is attached to the mesh filter bag, over the rim of the canister. This strip helps retain the bag when it fills with debris.
- Make sure that the float mounted on the underside of the motor head is able to move freely, and that the filter on the outside of the float housing is clean and properly in place. This filter will protect the vacuum motor from debris.
- Attach the motor head to the canister using the two metal clamps mounted on the side of canister. The pump cord exits the rear of the canister, near the top. Plug this cord into the electrical outlet on the top rear of the motor head.
- Attach the long discharge hose to the brass fitting on the rear of the canister. The fitting is a ball coupling type. Pull the collar of the female brass fitting toward the canister before inserting the hose fitting.
TO OPERATE
- The vacuum cleaner motor is controlled by the switch on the top left side of the motor head. The pump out feature is controlled by the switch on the top right side of the motor head. If using the pump out feature, the pump switch can be left on.
- The pump is equipped with a float switch, which will automatically start the pump when the water level in the canister rises. The float switch will automatically stop the pump when the liquid level drops.
- If the vacuum is being used without the long discharge hose, leave the pump switch off. The liquid in the canister can also be emptied using the short, black, corrugated hose attached to the rear of the canister. Be sure the end of the hose is securely attached to the stationary drain hose plug after use.
- Check the mesh bag frequently for debris. To empty, remove the bag from the canister and slide off the retaining clip on the bottom of the bag. Reinstall the mesh filter bag before continuing to use the vacuum. Do not operate the vacuum without the mesh filter bag in place
NEVER LUBRICATE THE VACUUM CLEANER MOTOR. THE MOTOR BEARINGS ARE PERMANENTLY SEALED. THIS VACUUM IS INTENDED FOR INDOOR OR OUTDOOR USE AND FOR WET PICKUP, BUT IT IS NOT INTENDED TO BE EXPOSED TO RAIN.
WARRANTY
DiamaPro Systems’ WVX model vacuums are warranted to be free from manufacturing defects in normal service for a period of one or two years from the date of purchase by the original consumer purchaser. Component manufacturers offer separate warranty periods. Call 470-977-2323 for complete information.
DiamaPro System’s obligation under this warranty is expressly limited to the replacement of such part or parts as inspection shall disclose to have been defective.
This warranty does not apply to defects caused by damage, unreasonable use, faulty repairs made by others or defects caused by failure to provide reasonable maintenance.
Further, the warranty is void if the product, or any of its components, is altered or modified by the consumer or if the product is used in an inappropriate manner or with equipment not recommended by the manufacturer.
Wear items are not covered under warranty: examples include: belts, wheels, casters, bearings, cart wheels, filters, wear pads, spark plugs, hoses, wands and squeegees, motors, etc.
To qualify for warranty coverage, DiamaPro SVX vacuums must be registered within 30 days of purchase. Registration can be completed online at www.DiamaProSystems.com.
To request your warranty service you MUST send a written request to the dealer or directly to the manufacturer including the manufacturing details that can be found on a plate fitted inside your machine together with a copy of the invoice.
SAFETY INSTRUCTIONS
When using an electrical vacuum, basic safety precautions should always be followed, including the following:
READ ALL INSTRUCTIONS BEFORE USING YOUR VACUUM CLEANER
WARNING: To reduce the risk of fire, electrical shock, or injury:
- Do not leave appliance when plugged in. Unplug from outlet when not in use and before servicing.
- Do not expose to rain. Store indoors.
- Do not allow to be used as a toy. Close attention is necessary when used by or near children.
- Use only as described in this manual. Use only manufacturer’s recommended attachments.
- Do not use with damaged cord or plug. If appliance is not working as it should, has been dropped, damaged, left outdoors, or dropped into water, contact Customer Service.
- Do not pull or carry by cord, use as a handle, close a door on cord, or pull cord around sharp edges or corners. Do not run appliances over cord. Keep cord away from heated surfaces.
- Do not unplug by pulling on cord. To unplug, grasp the plug, not the cord.
- Do not handle plug or appliance with wet hands.
- Do not put any object into openings. Do not use with any opening blocked; keep free of dust, lint, hair and anything that may reduce air flow.
- Keep hair, loose clothing, fingers and all parts of the body away from openings and moving parts.
- Do not pick up anything that is burning or smoking, such as cigarettes, matches, or hot ashes.
- Do not use without dust bag and/or filters in place.
- Turn off all controls before unplugging.
- Use extra care when cleaning on stairs.
- Do not use to pick up flammable or combustible liquids such as gasoline, or use in areas where they may be present.
- This vacuum is for commercial use only.
- Connect to a properly grounded outlet only. See grounding instructions
SAVE THESE INSTRUCTIONS – GROUNDING
This appliance must be grounded. If it should malfunction or breakdown, grounding provides a path of least resistance for electric current to reduce the risk of electric shock. This appliance is equipped with a cord having equipment grounding conductor and grounding plug. The plug must be inserted into an appropriate outlet that is properly installed and grounded in accordance with all local codes and ordinances.
IMPROPER CONNECTION OF THE EQUIPMENT GROUNDING CONDUCTOR CAN RESULT IN A RISK OF ELECTRIC SHOCK. CHECK WITH A QUALIFIED ELECTRICIAN OR SERVICE PERSON IF YOU ARE IN DOUBT AS TO WEATHER THE OUTLET IS PROPERLY GROUNDED.
Do not modify the plug provided with the appliance – if it will not fit the outlet, have a proper outlet installed by a qualified electrician.
This appliance is for use on a nominal 120 – Volt circuit, and has a grounded plug that looks like the plug illustrated in sketch A below. A temporary adapter that looks like the adapter illustrated in sketches B and C may be used to connect this plug to a 2-pole receptacle as shown in sketch B if a properly grounded receptacle is not available. The temporary adapter should be used only until a properly grounded outlet (sketch A) can be installed by a qualified electrician. The green colored ear, lug, or the like extending from the adapter must be connected to a permanent ground such as a properly grounded outlet box cover. Whenever the adapter is used, it must be held in place by a metal screw.

NOTE: In Canada, the use of a temporary adapter is not permitted by the Canadian Electrical Code.
REPLACEMENT PARTS

MOTOR HEAD ASSEMBLY
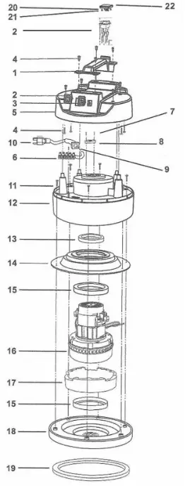
| Ref. | Part No. | Description | Qty. |
| 1 | WVX-TOP-HANDLE | TOP HANDLE | 1 |
| 2 | WVX-SWITCH | SWITCH | 2 |
| 3 | WVX-OUTLET | OUTLET | 1 |
| 4 | WVX-SCREW-4.8X15MM | SCREW 4.8X15MM | 8 |
| 5 | WVX-DOME | DOME | 1 |
| 6 | WVX-TERMINAL-STRIP | TERMINAL STRIP | 1 |
| 7 | WVX-SCREW-2.9X19MM | SCREW 2.9X19MM | 3 |
| 8 | WVX-CORD-RESTRAINT | CORD RESTRAINT | 1 |
| 9 | WVX-RUBBER-STRAIN-REL | RUBBER-STRAIN RELIEF | 1 |
| 10 | WVX-16/3-50 | CORD SET 16/3-50’ | 1 |
| 11 | WVX-SCREW-4.9X25MM | SCREW 4.9X25MM | 6 |
| 12 | WVX-BLOWER-CHAMBER | BLOWER CHAMBER | 1 |
| 13 | WVX-COOLING-GASKET | MOTOR COOLING GASKET | 1 |
| 14 | WVX-TPMOTOR-ADPT | TOP MOTOR ADAPTOR | 1 |
| 15 | WVX-HOUSING-GASKET | MOTOR HOUSING GASKET | 2 |
| 16 | WVX-MOTOR-120V | MOTOR 120V | 1 |
| 17 | WVX-FOAM | FOAM | 1 |
| 18 | WVX-CAN-CAP | CAN CAP | 1 |
| 19 | WVX-GASKET-CAN-CAP | GASKET CAN CAP | 1 |
| 20 | WVX-SCREW | SCREW | 4 |
| 21 | WVX-LOCK-NUT | LOCK NUT | 4 |
| 22 | WVX-PUMP-OUTLET | PUMP OUTLET | 1 |

| Ref. | Part No. | Description | Qty. |
| 1 | WVX-20GL-POVTANK | 20 GALLON POV TANK | 1 |
| 2 | WVX-CLAMP | CLAMP | 2 |
| 3 | WVX-SS-SCREW | STAINLESS STEEL SCREW | 4 |
| 4 | WVX-HOSE-INLET-WGASKET | HOSE INLET W/GASKET | 1 |
| 5 | WVX-WHEEL-RETAINER | WHEEL RETAINER | 2 |
| 6 | WVX-WHEEL-RETAINER-S | WHEEL RETAINER W/SCREW | 2 |
| 7 | WVX-WHEEL | WHEEL | 2 |
| 8 | WVX-WHEEL-BEARING | WHEEL BEARING | 2 |
| 9 | WVX-AXLE | AXLE | 1 |
| 10 | WVX-AXLE-MOUNT-SCREW | AXLE MOUNTING SCREW | 2 |
| 11 | WVX-WASHER | WASHER | 2 |
| 12 | WVX-CAST-COMPLETE | CASTER COMPLETE | 2 |
| 13 | WVX-DRAIN-HOSE-ASSEMBLY | DRAIN HOSE ASSEMBLY | 1 |
| 14 | WVX-PUMP-OUT-HOSE | PUMP OUT HOSE | 1 |
| 15 | WVX-MESH-FILTER-BAG | MESH FILTER BAG | 1 |
| 16 | WVX-BAG-CLIP | BAG CLIP | 1 |
| 17 | WVX-SQUEEGEE-FRAME | FRAME FOR SQUEEGEE | 1 |
| 18 | WVX-SQUEEGEE-FRONTBLADE | SQUEEGEE FRONT BLADE | 1 |
| 19 | WVX-SQUEEGEE-REARBLADE | SQUEEGEE REAR BLADE | 1 |
PUMP OUT ASSEMBLY

| Ref. | Part No. | Description | Qty. |
| 1 | WVX-PPLUMBING-PACKAGE | PUMP PLUMBING PACKAGE | 1 |
| 2 | WVX-PUMP-120V/500W | PUMP 120V/500W | 1 |
| 3 | WVX-PCLAMP-RING-ASSEMBLY | PUMP CLAMP RING ASSEMBLY | 1 |
FILTER ASSEMBLY

| Ref. | Part No. | Description | Qty. |
| 1 | WVX-FLOAT | FLOAT | 1 |
| 2 | WVX-FILTER-RING | FILTER RING | 1 |
| 3 | WVX-SCREW-4.8X15MM | SCREW 4.8X15MM | 2 |
| 4 | WVX-FLOAT-CAGE | FLOAT CAGE | 1 |
TOOL KIT

| Part No. | Description | Qty. |
| WVX-WAND | 5’ TWO-PIECE WAND | 1 |
| WVX-CRUSHPROOF-W/ENDS | 10’ CRUSHPROOF HOSE W/ENDS | 1 |
| WVX-CREVICE-TOOL | 17” CREVICE TOOL | 2 |
| WVX-SQUEEGEE-TOOL | SQUEEGEE TOOL | 1 |

DiamaPro Systems®
3343 Peachtree Road NE
Suite 145 #24
Atlanta, GA 30326
470-977-2323



















