Libretti Fridge

Thank you for purchasing this product.
Before using your refrigerator, please carefully read this instruction manual in order to maximize its performance. Store all documentation for subsequent use or for other owners. This product is intended solely for household use or similar applications such as:
– the kitchen area for personnel in shops, offi ces and other working environments
– on farms, by clientele of hotels, motels and other environments of a residential type
– at bed and breakfasts (B & B)
– for catering services and similar applications not for retail sale. This appliance must be used only for purposes of storage of food, any other use is considered dangerous and the manufacturer will not be responsible for any omissions. Also, it is recommended that you take note of the warranty conditions.
SAFET INFORMATION
The refrigerator contains a refrigerant gas (R600a: isobutane) and insulating gas (cyclopentane), with high compatibility with the environment, that are, however, inflammable. We recommend that you follow the following regulations so as to avoid situations dangerous to you:
- Before performing any operation, unplug the power cord from the power socket.
- The refrigeration system positioned behind and inside the refrigerator contains refrigerant. Therefore, avoid damaging the tubes.
- If in the refrigeration system a leak is noted, do not touch the wall outlet and do not use open flames. Open the window and let air into the room. Then call a service centre to ask for repair.
- Do not scrape with a knife or sharp object to remove frost or ice that occurs. With these, the refrigerant circuit can be damaged, the spill from which can cause a fire or damage your eyes.
- Do not install the appliance in humid, oily or dusty places, nor expose it to direct sunlight and to water.
- Do not install the appliance near heaters or inflammable materials.
- Do not use extension cords or adapters.
- Do not excessively pull or fold the power cord or touch the plug with wet hands.
- Do not damage the plug and/or the power cord; this could cause electrical shocks or fires.
- It is recommended to keep the plug clean, any excessive dust residues on the plug can be the cause fire.
- Do not use mechanical devices or other equipment to hasten the defrosting process.
- Absolutely avoid the use of open flame or electrical equipment, such as heaters, steam cleaners, candles, oil lamps and the like in order to speed up the defrosting phase.
- Do not use or store inflammable sprays, such as spray paint, near the refrigerator. It could cause an explosion or fire.
- Do not use electrical appliances inside the food storage compartments, unless they are of the type recommended by the manufacturer.
- Do not place or store inflammable and highly volatile materials such as ether, petrol, LPG, propane gas, aerosol spray cans, adhesives, pure alcohol, etc. These materials may cause an explosion.
- Do not store medicine or research materials in the refrigerator. When the material that requires a strict control of storage temperatures is to be stored, it is possible that it will deteriorate or an uncontrolled reaction may occur that can cause risks.
- Maintain the ventilation openings in the appliance enclosure or in the built-in structure, free of obstruction.
- Do not place objects and/or containers filled with water on the top of the appliance.
- Do not perform repairs on this refrigerator. All interventions must be performed solely by qualified personnel.
- This appliance can be used by children aged from 8 years and above and by persons with reduced physical, sensory or mental capabilities or with a lack of experience and knowledge, provided that they have been given adequate supervision or instruction concerning how to use the appliance in a safe way and understand the hazards involved.
Children should not play with the appliance. Cleaning and user maintenance should not be made by children without supervision.
Turning the knob fully counterclockwise, you will hear a click which corresponds to the switch-off of the product.
When the appliance is installed, the electrical cord and the current socket must be easily reached. The socket is compatible with the plug of the appliance. If not, request replacement of the plug by an authorized technician; do not use extension cords and/or multiple connectors.
Do not touch the internal parts or frozen food with moist or wet hands as it can cause burns.
Scrapping old appliance

This appliance is marked according to the European directive 2012/19/EU on Waste Electrical and Electronic Equipment (WEEE). WEEE contains both polluting substances (which can cause negative consequences for the environment) and basic components (which can be re-used). It is important to have WEEE subjected to specific treatments, in order to remove and dispose properly all pollutants, and recover and recycle all materials. Individuals can play an important role in ensuring that WEEE does not become an environmental issue; it is essential to follow some basic rules:
– WEEE should not be treated as household waste;
– WEEE should be handed over to the relevant collection points managed by the municipality or by registered companies. In many countries, for large WEEE, home collection could be present.
In many countries, when you buy a new appliance, the old one may be returned to the retailer who has to collect it free of charge on a one-to-one basis, as long as the equipment is of equivalent type and has the same functions as the supplied equipment.
Conformity
By placing the
mark on this product, we are confirming compliance to all relevant European safety, health and environmental requirements which are applicable in legislation for this product.
INSTALLATION
WARNINGS:
- Do not install the appliance in a damp or wet location as this could compromise the insulation and result in leakage. Furthermore, on the exterior of the same, condensate could accumulate
- Do not place the appliance in locations outside or near sources of heat or exposed to direct sunlight.
The appliance operates properly within the range of environmental temperatures indicated:
+10 +32’C for the climatic class SN
+16 +32’C for the climatic class N
+16 +38’C for the climatic class ST
+16 +43’C for the climatic class T
(See the nameplate of the product)
- Do not place containers with liquids on top of the appliance.
- Wait at least 3 hours after final placement before placing the appliance in operation.
Electrical connection
After shipping, place the appliance vertically and wait at least 2 – 3 hours before connecting it to the electrical system. Before inserting the plug into the electrical socket, make sure that:
- The socket is earthed and in compliance with the law.
- The socket can withstand the maximum power load of the appliance, as indicated on the nameplate of the refrigerator.
- The power supply voltage is within the amounts indicated on the nameplate of the refrigerator.
- The cord must not be folded or compressed.
- The cord must be checked regularly and replaced solely by authorized technicians.
- The manufacturer declines any liability whenever these safety measures are not respected.
Appliance start-up
Remove all wrapping/packaging present inside the appliance and clean with water and baking soda or neutral soap.
After the installation, wait 2 – 3 hours to allow time for the refrigerator/ freezer to stabilize at normal working temperature, before placing fresh or frozen foods inside.
If the power cord becomes disconnected, wait at least five minutes before restarting the refrigerator/ freezer. At this point, the appliance is ready for use.
OPERATION
Turning On/Off
Control panel

- Temperature indicator LED
- Temperature control
- ON/OFF button
Turning the appliance ON:
Plug the appliance in, if all the temperature indicators LEDs are off, press ON/OFF (3) for 1 second. When you release the ON/OFF button (3) a temperature light will come on and the appliance will beep.
Turning the appliance OFF:
Press the ON/OFF button (3) for 1 second, when you release it, the temperature light will go out and the appliance will beep. In the event of a power failure, when the power comes back on, the appliance will run using the last saved setting.
Setting the temperature
Press the button for setting the temperature until you reach the level you want where level 1 is the warmest and level 4 is the coldest. Under normal operating conditions, we recommend using an intermediate setting (level 2)
On/Off ![]()
Press button (2) for less than 2 seconds to change the temperature level.
On/Off ![]()
Advanced settings menu:
Use this menu to set an intermediate level.
On/Off ![]()
Press button (2) for more than 2 seconds. When you release it, LED 2 will flash
On/Off ![]()
The next time you press button (2) for less than 2 seconds, the intermediate level will be set. This operation works in cycles every time you press the button.
On/Off ![]()
OOn/Off ![]()
If you do not press the button (2) for more than 5 seconds, the settings will be saved.
The temperature levels in advanced settings are set from warmest to coldest e.g. 2/2.1/2.3/2.4 which means there are 4 sub-levels for every main level.
Door open alarm
If the door is left open for longer than 90 seconds, an alarm is sounded. To turn it off, simply close the door or press button 2.
| Position | Conditions |
| 1-2 | Summer or ambient temperature between 25-35 °C |
| 2-3 | Spring, autumn or ambient temperature between 15-25 °C |
| 3-4 | Winter, or ambient temperature between 5-15 °C |
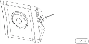
Refrigerator Compartment Fan (if present)
The fan is preset to OFF.
To activate, press the switch (Fig. 2).
To optimize energy consumption, it is recommended that you turn the fan on only when the ambient air temperature exceeds 28 to 30°C.
CONSERVATION
- To maintain the best flavour, nourishment and freshness of foods, it is advisable to store them in the refrigerator compartment as shown in Fig. 5 below, making sure to wrap them in aluminium or plastic sheets or in appropriate covered containers to avoid cross-contamination.
Refrigerator zone
Fruit / Vegetables
- To decrease fruit and vegetable moisture losses they must be wrapped in plastic materials such as, for example, films or bags and then inserted in the fruit/vegetable zone. In this way rapid deterioration is avoided.

Refrigerated section fresh zone
(not all models)
The zone shown below is recommended for meat, fish, poultry, etc.; do not store fruit and vegetables because they can freeze;
Indicator of the temperature in the coldest zone (not all models)
Some models are equipped with an indicator of the temperature in the refrigerator compartment in the coldest zone, for you to be able to control the average temperature.
This symbol indicates the coldest zone of the refrigerator (Fig. 4).
Check that on the indicator of the temperature, the word OK is clearly shown (Fig. 5). If the word does not appear, this means that the temperature is too high: adjust the temperature to a cooler setting and wait for about 10 hours.
Recheck the indicator: if necessary, proceed with a new adjustment.
NOTE:
If large quantities of food are inserted or the refrigerator door frequently opened, it is normal for the indicator fails to show OK. Wait for at least 10 hours before setting the temperature at its coldest levels (3,4)
Freezer zone
Use the table below for the compartments ![]()
Freezing process can only occur in the compartments ![]()

Practical recommendations
Place food on the shelves in a homogeneous manner to allow air to circulate properly and to cool it.
- Avoid contact between the food and the far end walls of the refrigerator compartment.
- Do not introduce hot foods as they can cause deterioration of existing ones and increase energy consumption.
- Remove the wrappings of foods before inserting them.
- Do not put in dishes or other containers unless previously washed.
- Do not obstruct the cold air ventilator openings with food.
- Do not cover the glass shelf of the vegetable bin to allow for proper air circulation.
- Do not store bottles in the freezer compartment as they can burst when frozen.
- ln the case of prolonged power outage, keep the doors closed so that foods remain cold as long as possible.
- The installation of the appliance in a hot and humid location, with frequent door openings and storing large amounts of vegetables can cause the formation of condensate and affect the performance of the unit itself.
- To prevent excessive energy consumption, the frequent or prolonged opening of the doors is not recommended.
FREEZING
- Foods must be fresh.
- Freeze small amounts of food at a time in order to freeze quickly. Never exceed the maximum amount indicated on the rating label.
- During freezing, do not open the freezer door. · Food must be sealed, airtight.
- Separate food to be frozen by those already frozen.
- Label bags or containers to keep an inventory of frozen foods.
- Once defrosted, do not ever refreeze foods and consume them promptly.
NOTE:
The temperature doesn’t usually need to be adjusted.
Only in case you find excessive cooling of the products contained in the refrigerator compartment, gently set the warmest temperature levels (1,2).
On completion of freezing, set the warmest temperature levels (1,2).
DEFROSTING
Defrosting the refrigerator compartment
During normal functioning, the refrigerator is automatically defrosted. There is no need to dry the drops of water present on the rear wall or to eliminate the frost (depending on functioning). The water is conveyed to the rear part through the drain hole found there and the heat of the compressor causes it to evaporate.
- Keep the drainage pipe (Fig. 6) clean in the refrigerator compartment to keep it free of water.
The rating plate states the maximum quantity of foods that can be frozen, (see Figure 6).
Defrosting of the fridge compartment occurs automatically in this product.
Important: if your ambient temperature is high, the appliance may operate continuously, thus building up excessive frost on the inner wall of the fridge. Set the warmest temperature levels (1,2).
The most energy-saving configuration requires drawers, food box and shelves to be positioned in the product, please refer to the above pictures
Defrosting the freezer compartment
(static products without NO-FROST technology)
When the layer of frost present in the freezer compartment exceeds 3mm, it is recommended to proceed with the defrosting as it increases energy consumption.
- Press the ON / OFF button (3) for 1 second.
- Disconnect the power cord.
- Remove the frozen food and temporarily place them in a cool place.
- Leave the freezer door open to speed defrosting.
- Collect the water on the bottom of the product.
- Dry the freezer.
- Reconnect the power cord and set the desired values.
- Wait a moment and reintroduce the frozen foods.
WARNING:
Absolutely avoid the use of open flames or electrical appliances, such as heaters, steam cleaners, candles, oil lamps and the like to accelerate the defrosting phase.
Do not scrape with a knife or sharp object to remove frost or ice present. These can damage the refrigerant circuit, the leakage of which can cause a fire or damage your eyes.d.
Defrosting the freezer compartment
(NO-FROST products)
Defrosting is automatic.
MAINTENANCE AND CLEANING
Lighting
LED lighting
The p roduct is equipped with LED lights, please contact the Technical Assistance Service in case of replacement.
Compared to traditional light bulbs, the LEDs last longer and are environmentally friendly
Cleaning
NOTICE:
- Before each operation, remove the refrigerator plug from the power socket to prevent electric shocks.
- Do not pour water directly on the outside or inside of the refrigerator itself. This could lead to oxidation and damaging of the electrical insulation.
MPORTANT:
To prevent cracking of the inside surfaces and plastic parts, follow these suggestions:
- Wipe away any food oils adhered to plastic components.
- The internal parts, gaskets and external parts can be cleaned with a cloth with warm water and baking soda or a neutral soap. Do not use solvents, ammonia, bleach or abrasives.
- Remove the accessories, for example, the shelves, from the refrigerator and from the door. Wash in hot soapy water. Rinse and thoroughly dry.
- The back of the appliance tends to accumulate dust which can be eliminated with the use of a vacuum cleaner, after having switched off and disconnected the appliance from the electrical outlet. This provides greater energy efficiency.
ENERGY SAVINGS
For better energy savings, we suggest:
- Installing the appliance away from heat sources and not exposed to direct sunlight and in a well ventilated room.
- Avoid putting hot food into the refrigerator to avoid increasing the internal temperature and therefore causing continuous functioning of the compressor.
- Do not excessively stuff foods so as to ensure proper air circulation.
- Defrost the appliance in case there is ice (see DEFROSTING) to facilitate the transfer of cold.
- In case of absence of electrical energy, it is advisable to keep the refrigerator door closed.
- Open or keep the doors of the appliance open as little as possible
- Avoid adjusting the thermostat to temperatures too cold.
- Remove dust present on the rear of the appliance (see CLEANING).
AVOIDING NOISES
During its operation, the refrigerator emits some absolutely normal noises, such as:
- HUMMING, the compressor is running.
- RUMBLINGS, RUSTLINGS and HISSING, the refrigerant is flowing through the tubes.
- TICKS and CLICKS, the operation shutdown of the compressor.
Small measures to r ed uce the vibration nois es: - Containers touch each other: Avoid contact between containers and glass recipients.
- Drawers, shelves, bins vibrate: Check the proper installation of internal accessories.
NOTE:
The refrigerant gas produces noise even when the compressor is off; it is not a defect, it is normal.
If you hear a clicking sound inside the appliance, it is normal as due to expansion of the various materials.
REVERSIBILITY OF THE DOOR
The doors of the appliance can be reversed so as to allow the opening to the right or left according to exigency.
NOTE:
- Inversion of the doors must be performed by qualified technical personnel.
- Inversion of the doors is not covered by the warranty.
REVERSING THE OPENING OF THE DOORS





PRODUCT DIMENSIONS AND BUILT-IN COMPARTMENT

INSTALLATION OF THE APPLIANCE IN THE COLUMN



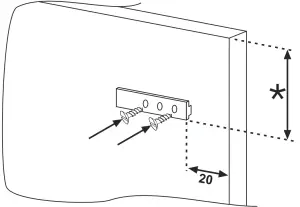
COUPLING OF THE PANELS OF THE BUILT-IN COLUMN OF THE APPLIANCE DOORS
The appliance is equipped with coupling devices for the appliance doors with the column panels (loader slide).
- Secure the slide in the inner part of the panel of the built-in column at the desired height and at approx. 20 mm. From the outer wire of the door.

- Open the doors of the built-in column and the fridge. Position the built-in loader in the slide, then fit it into the fridge door.

- Mark the fixing points for the screws and drill with a bit of a diameter of 2.5mm.

- Connect the appliance door to the cabinet panel keeping the loader slots as guidelines.

PRECAUTIONS FOR THE CORRECT OPERATION
Once the product has been embedded, place the rear part of the column in contact with the wall so as to prevent access to the compressor compartment.
For the product to operate correctly it is essential to allow adequate air circulation so as to cool down the condenser located in the rear part of the appliance.
For this reason, the column must be equipped with a rear chimney, whose upper opening must not be blocked and with a front slot which will be covered with a ventilation grill.

SUSPENDING USE OF THE APPLIANCE
If the appliance is not to be used for a long time:
- Turn the appliance OFF (see Operation).
- Extract the plug or remove the safety device.
- Clean the appliance
- Leave the doors of the appliance open.
TROUBLESHOOTING
| PROBLEM | CAUSE | REMEDY |
| The inside illumination light bulb does not turn on. |
|
|
| The refrigerator and freezer do not sufficiently cool. |
|
|
| The food in the refrigerator freezes |
|
|
| The bottom of the refrigerator compartment is wet or droplets are present. |
|
|
| Presence of drops or water on the back wall of the refrigerator |
|
|
| Presence of water in the vegetable drawer |
|
|
| The motor runs continuously. |
|
|
| The frozen food is thawing |
|
|
| WI-FI light flashes 3 sec on – 1 sec off. |
|
|
IF YOU ARE NOT SOLVED THE PROBLEM, CONTACT THE SERVICE CENTER, PLEASE GIVE THE TYPE OF FAULT AND THE INFORMATION ON THE PLATE OF THIS APPARATUS TO INSIDE THE REFRIGERATOR COMPARTMENT:
- The model of equipment.
- The number of series.
CANDY HOOVER GROUP
Strada Eden Fumagalli, 1
20861 Brugherio (MB)Italy





















