SAMSUNG RT18M6213WW 29 Inch Freestanding Top Mount Refrigerator

Safety information
Important safety symbols and precautions:
WARNING
Hazards or unsafe practices that may result in severe personal injury or death.
CAUTION
Hazards or unsafe practices that may result in minor personal injury or property damage.
These warning signs are here to prevent injury to you and others.
Please follow them carefully.
After reading this section, keep it in a safe place for future reference.
State of California Proposition 65 Warning
WARNING
Cancer and Reproductive Harm – www.P65Warnings.ca.gov.
Severe warning signs for transportation and site
WARNING
- When transporting and installing the appliance, care should be taken to ensure that no parts of the refrigerating circuit are damaged.
– Refrigerant leaking from the pipe work could ignite or cause an eye injury. If a leak is detected, avoid any naked flames or potential sources of ignition and air the room in which the appliance is standing for several minutes.
– This appliance contains a small amount of isobutane refrigerant (R-600a), a natural gas with high environmental compatibility that is, however, also combustible. When transporting and installing the appliance, care should be taken to ensure that no parts of the refrigerating circuit are damaged.
Before connecting the water line
To use the ice maker, you must connect the water line to it. For the ice maker to operate properly, a water pressure of 20 – 125 psi (0.138 – 0.862 mPa) is required.
WARNING
Make sure to connect the water line only to a potable water source.
CAUTION
- Do not reuse an old hose set. Use the new hose sets supplied with your refrigerator only.
- The water line installation is not covered by the Warranty of this product. Read carefully through these instructions to protect your property and prevent possible damage.
- Banging pipes (water banging in the pipes) can cause damage to the refrigerator, and lead to water leakage or flooding. If you encounter this problem, contact a plumber for professional assistance.
- To prevent burns and product damage, do not connect the water line to a hot water source.
- Do not install the water line in areas where temperatures fall below the freezing point.
- When using any electrical device (such as a motorized drill) during installation, be sure the device is insulated and properly grounded to prevent electric shock.
- All installations must be in accordance with local plumbing code requirements.
- The water filter must be replaced as instructed by the manufacturer or the retailer.
- To purchase additional water filters, contact the manufacturer or the retailer of the filter.
NOTE
- You can purchase the water line installation kit from your retailer. We recommend using a kit that contains copper tubing and a 6 mm (1/4”) compression nut.
- In an area with low water pressure (below 20 psi (0.138 mPa)), you can install a booster pump to compensate for the low pressure.
Install the Auto Ice Maker
To purchase a new Auto Ice Maker (part type : RA-TIMO63PP/AA), visit the Samsung website (www.samsung.com) or contact your retailer.
Ice maker kit

Tools required (not provided)

To install the ice maker kit
WARNING
Refrigerator must be disconnected from the source of electrical supply before attempting the installation.
- Remove the screws tightening the water inlet cover (A) located on the top of the refrigerator. Then, slide out the water inlet cover (A) to remove.
– After removing the water inlet cover (A), remove the aluminum seal.
- Remove the pipe plug foam (A) from the pipe.

- Slide the flexible tube (A) towards the water inlet tube (B) (with a white water line) and secure it to the water inlet tube (B).

NOTE
Do not remove the cap plugged in at the end of the white water line. - Straighten the wire (A) attached to the white water line and put it into the water inlet on the top of the refrigerator. Be careful not to damage the wire.

- Insert the water inlet tube (A) (with a white water line) into the water inlet on the top of the refrigerator. Secure the water inlet tube (A) with the hook (B).

- Place the aluminum seal (A) on the water inlet tube. Then, slide the water inlet cover (B) back into its place, and then fasten the water inlet cover (B) with the screws.

NOTE
Make sure the flexible tube is securely fixed to protect the bending part of the water line. - Open the freezer door, and then remove the shelf (A).

- Remove the screws fastening the cover (A) on the inner upper corner of the freezer. Then, remove the cover (A) by pulling it to the front.

- Connect the wire harness (A) of the white water line (which you have inserted through the water inlet on the top of the refrigerator) to the right socket in the freezer. Make sure the connector is fully inserted. (You should hear a clicking sound.)

- Connect the wire harness (A) of the ice maker to the left socket in the freezer. Make sure the connector is fully inserted to prevent system failure.

- Insert the ice maker into the front side of the grommets (A) as shown. Then, push the ice maker (B) inwards to the end. To prevent deviation of the ice maker, make sure the ice maker fits into position.

- Tighten the provided screws (x2) to attach the ice maker (A) firmly to the refrigerator.
– Make sure the screw holes are aligned with each other before tightening the screws.
- Put the ice bucket (A) on the shelf as shown. By design, the ice bucket (A) is supposed to sit behind the ice maker.
Otherwise, the ice cubes from the ice maker will not collect in the bucket as intended.
- Unscrew the screws to remove the compressor compartment cover (A) at the back of the refrigerator.
WARNING
Be careful not to get a cut on your hands when removing the compressor compartment cover (A).
- Remove the cap at the end of the white water line and slide the flexible tube (A) to the white water line. Then, connect the white water line to the bottom of the valve (B) (with a blue water line).

NOTE
Dispose the cap immediately after removing it from the water line. Do not play with the cap or put it in your mouth.
NOTE
There is line (A) marked on the white water line. Make sure to insert the water line up to the marked line when you connect it to the valve. - Connect the valve connector (A) to the port in the compressor compartment. Make sure the connector is fully inserted. (You should hear a clicking sound.

- Secure the valve bracket (A) to the refrigerator as shown in the figure.

NOTE
Make sure the valve or the bracket does not come in contact with the surrounding parts (especially the refrigerant pipe) in the compressor compartment.
NOTE
• Make sure to arrange the water lines as shown in the figures.
• Make sure the water lines are not pinched or kinked during the process.
• Make sure the flexible tube is securely fixed to protect the bending part of the water line.
- Reattach the compressor compartment cover (A).

NOTE
Make sure the water lines are not pinched or kinked during the process. - Use the 3 fixers (A) to secure the water lines.

NOTE
• Do not remove the cap plugged in at the end of the blue water line until you connect the blue water line to a water source.
• If the water hose is loose, use a tape to firmly attach it to the back of the refrigerator.
CAUTION
Do not mount the water filter on any part of the refrigerator. This may damage the refrigerator.
NOTE
If you must relocate the refrigerator after connecting the water line, make sure the joined section of the water line is straight.
Connect the water line
Install a Water Filter
The water filter and the water filter installation kit containing necessary parts illustrated in this section are not provided. You must purchase the water filter and the water filter installation kit at a local hardware store.
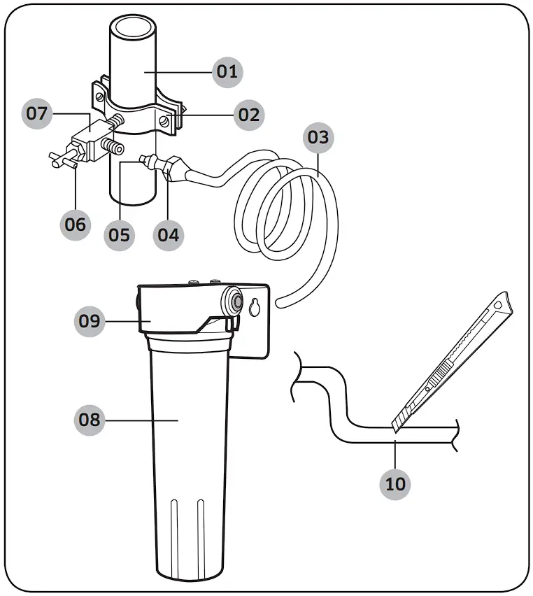
To connect to the water supply line

01 Cold water line
02 Pipe clamp
03 Plastic line
04 Compression nut
05 Compression sleeve
06 Packing nut
07 Shut off valve
08 Filter cartridge
09 Cartridge holder
10 Cut vertically by 90 degrees
- Shut off the main water line and turn the ice maker off.
- Locate the nearest cold potable water line.
- Follow the instructions mentioned in the water filter installation kit.
- After connecting the water line to the inlet of the cartridge holder with the plastic line fully inserted, insert and tighten the filter cartridge.
- Turn on the water line and flush 11 liters of water (approximately 6 minutes) through the filter before use.

CAUTION
- The water line must be connected outside of the refrigerator.
- Do not use copper lines.
- If cutting the tubing for resizing, make sure the ends of the tubing are vertically clean cut.
To connect the water line to the refrigerator

01 Cartridge holder
02 Plastic clip
03 Plastic line
04 Filter cartridge
- Connect the plastic line from the rear of the refrigerator to the outlet of the cartridge holder until the plastic line is fully inserted.
- Clamp both ends of the cartridge holder using the plastic clips.
- Turn the water line on and check for leaks.
CAUTION
- Use only potable water.
- The filter cartridge is not provided. You must purchase it at a local hardware store.
- When moving the refrigerator for line connection, use caution so that you don’t step on the power cord or water line.
Troubleshooting
Auto Ice Maker
| Symptom | Possible causes | Solution |
| The ice maker does not produce ice. | • The freezer room is not cold enough. | • Make sure the cold air outlet is not clogged. |
| • The ice maker is turned off. | • Make sure the ice maker is turned on. Turn on the switch located at the top of the refrigerator, and check if the ice maker starts working. | |
| • The wire connector of the ice maker is not connected properly. | • Make sure the wire connector from the wire housing is connected properly. | |
| • The water line flowing to the ice maker is bent or kinked. | • Make sure the water line in the rear of the refrigerator is not bent or kinked. |
Warranty (U.S.A)
LIMITED WARRANTY TO ORIGINAL PURCHASER
This Samsung brand ice maker, as supplied and distributed by Samsung Electronics America, Inc. (Samsung) and delivered new, in the original carton to the original consumer purchaser is warranted by Samsung against manufacturing defects in materials and workmanship for a limited warranty period of:
One (1) year Parts on the ice maker.
This limited warranty begins on the original date of purchase, and is valid only on products purchased from SAMSUNG or a SAMSUNG authorized reseller and used in the United States. Before receiving warranty service, SAMSUNG or its agents may require that you respond to questions designed to assist with diagnosing potential issues and follow SAMSUNG’s procedures for obtaining warranty service. You must contact SAMSUNG at the number provided below. Warranty service can only be performed by a SAMSUNG authorized service center. The original dated bill of sale must be presented upon request as proof of purchase to SAMSUNG or SAMSUNG’s authorized service center. In the event SAMSUNG determines, in its sole discretion, that the product is eligible for warranty service, and subject to the conditions and exceptions stated in this limited warranty, SAMSUNG will repair or replace this product, at our option and at no charge. SAMSUNG may, at SAMSUNG’s option, use rebuilt, reconditioned or new parts or components when repairing the product, or may replace the product with a rebuilt, reconditioned or new product. If return of the product is required, you must ship the product to the specified SAMSUNG authorized service center or other address provided by SAMSUNG in its original or equivalent packaging. You are responsible for the shipping charges. You are advised to ship any product to SAMSUNG or its designated service center with the benefit of tracking information, as SAMSUNG is not responsible for any damage or loss to the product while in transit. In the case of replacements, ownership of the original product, parts or components will be transferred to SAMSUNG and SAMSUNG will not return the original product, parts or components to you. Replacement product, parts and components assume the remainder of the original warranty, or ninety (90) days, whichever is longer.
This limited warranty covers manufacturing defects in materials and workmanship encountered in normal, reasonable, noncommercial use of this product and shall not apply to the following: damage that occurs in shipment, delivery or installation; damage caused by applications and uses for which this product is not intended or designed; damage caused by ordinary wear and tear; product alterations or modifications; products with a serial number that has been removed, defaced, damaged, altered or made illegible; cosmetic damage or damage to the exterior finish; damage caused by accidents, abuse, neglect, misuse, mishandling; damage due to liquid spills; fire, water, lightning, or other acts of nature or God; damage that results from the use of products, equipment, systems, utilities, services, parts, supplies, accessories, applications, installations, repairs, external wiring or connectors not supplied or authorized by SAMSUNG; damage caused by connections to incorrect or improper power supply; electrical current fluctuations; power surges; damage caused by failure to follow operating instructions or user manuals or failure to perform preventive maintenance; product removal and reinstallation; or problems caused by pest infestations.
SAMSUNG does not warrant uninterrupted or error-free operation of the product.
THERE ARE NO EXPRESS WARRANTIES OTHER THAN THOSE LISTED AND DESCRIBED ABOVE AND ALL OTHER WARRANTIES WHETHER EXPRESS OR IMPLIED, INCLUDING, BUT NOT LIMITED TO, ANY IMPLIED WARRANTIES OF MERCHANTABILITY OR FITNESS FOR A PARTICULAR PURPOSE, IS EXPRESSLY DISCLAIMED, AND NO OTHER EXPRESS WARRANTY OR GUARANTY GIVEN BY ANY PERSON, FIRM OR CORPORATION WITH RESPECT TO THIS PRODUCT SHALL BE BINDING TO SAMSUNG. SAMSUNG SHALL NOT BE LIABLE FOR LOSS OF REVENUE OR PROFITS, FAILURE TO REALIZE SAVINGS OR OTHER BENEFITS, OR ANY OTHER SPECIAL, INCIDENTAL OR CONSEQUENTIAL DAMAGES CAUSED BY THE USE, MISUSE OR INABILITY TO USE THIS PRODUCT, REGARDLESS OF THE LEGAL THEORY ON WHICH THE CLAIM IS BASED, AND EVEN IF SAMSUNG HAS BEEN ADVISED OF THE POSSIBILTY OF SUCH DAMAGES; NOR SHALL RECOVERY OF ANY KIND AGAINST SAMSUNG BE GREATER IN AMOUNT THAN THE PURCHASE PRICE OF THE PRODUCT SOLD BY SAMSUNG AND CAUSING THE ALLEGED DAMAGE. WITHOUT LIMITING THE FOREGOING, PURCHASER ASSUMES ALL RISK AND LIABILITY FOR LOSS, DAMAGE OR INJURY TO PURCHASER AND PURCHASER’S PROPERTY AND TO OTHER AND THEIR PROPERTY ARISING OUT OF THE USE, MISUSE OR INABILITY TO USE THIS PRODCUT SOLD BY SAMSUNG NOT CAUSED DIRECTLY BY THE NEGLIGENCE OF SAMSUNG. THIS LIMITED WARRANTY SHALL NOT EXTEND TO ANYONE OTHER THAN THE ORIGINAL PURCHASER OF THIS PRODUCT, IS NONTRANSFERABLE AND STATES YOUR EXCLUSIVE REMEDY.
Some states do not allow limitations on how long an implied warranty lasts, or the exclusion or limitation of incidental or consequential damages, so the above limitations or exclusions may not apply to you. This warranty gives you specific rights, and you may also have other rights, which vary from state to state.
To obtain warranty service, please contact SAMSUNG at:
SAMSUNG CUSTOMER CARE CENTER
Samsung Electronics America, Inc.
85 Challenger Road Ridgefield Park, NJ 07660
1-800-SAMSUNG (726-7864)
www.samsung.com/us/support
Warranty Information (CANADA)
Limited Warranty for Original Purchaser
This Samsung ice maker is warranted by Samsung Electronics Canada Inc. (hereafter referred to as SECA) against manufacturing defects in material or workmanship for the following periods:
Parts : 1 year
SECA further warrants that if this product fails to operate properly within the specified warranty period and the failure is due to defective material, SECA will repair or replace the ice maker. In-home service is not available in all areas. Contact us to find out if in-home service is currently available in your area by using the contact information at the back of this warranty.
All warranty repairs or replacements must be performed by a SECA Authorized Service Center. (To find the nearest SECA Service Center, call 1-800-SAMSUNG (7267864) or visit our web site at www.samsung.com/ca)
Obligation to the Original Owner
The original dated sales receipt must be retained by the customer and is the only acceptable proof of purchase. It must be presented to a SECA Authorized Service Center at the time service is requested before warranty services are rendered. On all carry-in models, transportation to and from the Authorized Service Center is the responsibility of the customer.
Exclusions of the Warranty
This warranty does not cover damage due to accident, fire, flood, and/or other Acts of God, misuse, incorrect line voltage, improper installation, improper or unauthorized repairs, commercial use, or damage that occurs during shipping. Customer adjustments which are explained in this owners manual are not covered under the terms of this warranty. This warranty will automatically be voided for any unit found with a missing or altered serial number. This warranty is valid only on products purchased and used in the Canada.
SAMSUNG CUSTOMER CARE CENTER
Samsung Electronics Canada Inc.
2050 Derry Road West Mississauga, Ontario L5N 0B9 Canada
1-800-SAMSUNG (726-7864)
www.samsung.com/ca/support (English)
www.samsung.com/ca_fr/support (French)
![]() | Scan the QR code* or visit www.samsung.com/spsn to view our helpful How-to Videos and Live Shows * Requires reader to be installed on your smartphone |
Contact SAMSUNG WORLD WIDE
If you have any questions or comments relating to Samsung products, please contact the SAMSUNG Customer Care Center.
| Country | Contact Center | Web Site |
| U.S.A | 1-800-SAMSUNG (726-7864) 1-844-SAM-PAYS (726-7297) | www.samsung.com/us/support |
| CANADA | 1-800-SAMSUNG(726-7864) 1-844-SAM-PAYS (726-7297) | www.samsung.com/ca/support www.samsung.com/ca_fr/support |

DA68-03648A-04










































