
SPDR
Stereo Portable Digital Recorder
microSDHC Logo is a trademark of SD-3C, LLC

INSTRUCTION MANUAL
Quick Start Steps
- Install batteries (or connect to external power) and turn the power on (p. 4).
- Insert microSDHC memory card and format it with the SPDR (p. 6).
- Jam to a timecode source, if needed. (p. 10).
- Connect microphone or audio source (p. 7).
- Set input type and level, if the analog source (p.12).
- Select record mode (p. 11).
- Set output level (HP Volume p. 10).
- Begin recording (p.8).
![]()
Rio Rancho, NM, USA
www.lectrosonics.com
Introduction
The second recorder from Lectrosonics, the SPDR (Stereo Portable Digital Recorder) delivers advanced technology and features, including stereo mode with two channels available. As a backup recorder in a bag, the recorder is small, yet packed with features, including extended run time, optional external power, and higher sample rates.
On occasion, there is a need to record high-quality, stereo audio in circumstances where a traditional full-sized recorder is impractical or when a reliable backup is needed. When talent is at an extreme distance or using a wireless microphone is not practical (knights in armor come to mind), the SPDR can travel with your subject and record professional-quality stereo audio, synchronized with timecode.
The SPDR can be tethered to a camera to capture a higher quality or backup audio recording. The headphone output doubles as a line output to feed the AV input on a camera.
Setup and adjustment are made through an intuitive interface provided by the keypad and LCD. The housing is an aluminum extrusion with machined aluminum top and control panels, as well as a hard-anodized finish.
Technical Highlights
Broadcast Wave FormatWith a timecode jam at the start of the production, the audio data file contents include a timing reference to make it easy to synchronize with a video track in the timeline. The industry standard BWF/.WAV file format is compatible with essentially any audio or video editing software.
iXML HEADER SUPPORT
Recordings contain industry-standard iXML chunks in the file headers, with the most commonly used fields filled in.
Standard TA5 mic/line inputs
The input connectors are the industry standard TA5M jacks that accept analog mic or line-level signals. If using mic inputs, the SPDR provides bias voltage to power a wide variety of electret lavaliere microphones. The input connection and wiring are compatible with microphones pre-wired for “compatible” and “servo bias” configurations to feed 5-pin inputs on Lectrosonics wireless microphone transmitters.
AES3 Digital Input
An optional digital input is available with a suggested Lectrosonics MCAES3 cable to connect the output to the AES3 digital input of a mixer or recorder; TA5F jack to the 3-pin female XLR connector.
Timecode Support
Timecode can be copied from the internal real-time clock, for projects where it is desirable for timecode to approximately match the time of day but it is not necessary to synchronize with other devices. Timecode can also be “jammed” from an external source.
Timecode defaults to zero at power-up if no timecode source is used to jam the unit. A timing reference is logged into the BWF metadata.
Dual Sample Rates
The SPDR has two sample rate options available (48 kHz and 96 kHz); 48 kHz is an industry-standard rate and should be suitable for nearly all purposes. At 96 kHz, the microSDHC memory card will be used up twice as fast but will have slightly less phase distortion near the top end of the audible spectrum (close to 20 kHz).
Linked vs. Independent Stereo
The Linked Stereo option operates limiters on both channels together to preserve the balance of the stereo image.
The Independent Stereo option is used when you have two separate sounds/voices and each input will have a separate limiter. In this mode, there are two input gain controls and two LF roll-off controls.
Split Gain Mode
HD Stereo records a stereo audio track and Split Gain, records two stereo pairs, for a total of four tracks, one of each pair at the normal level and another at -18 dB as a “safety” track that can be used in place of the normal track in the event that overload distortion (clipping) has occurred on the normal track. In either mode, recordings over 4GB are broken into sequential segments so very long recordings (over approx 5 hours in HD stereo or 2.5 hours in split mode) will not be a single file.
Dual Power Sources
The SPDR has an external power input with an internal battery switchover, allowing all-day recording with immediate fall back to the internal batteries should there be an external power loss.
Power Options
Battery Installation
The audio recorder is powered by two AA Quantum (recommended) or Lithium batteries. Run time for 2 AA Quantum batteries:
- Analog Stereo Mode (48KHZ sample rate) – 13H00M
- Analog Stereo Mode (96KHZ sample rate) – 9H40M
- Digital Mode 48KHZ sample rate – 7H50M
- Digital Mode 96KHZ sample rate – 7H30M
NOTE: Zinc-carbon batteries marked “heavy-duty” or “long-lasting” are not adequate.
Push outward on the battery compartment door and lift it to open.

Insert the batteries according to the markings on the backside of the housing.
Power Input Connector
The SPDR is designed to be used with the CH12 external (or equivalent) power source. The nominal voltage to operate the unit is 12 VDC, although it will operate at voltages as low as 6 VDC and as high as 17 VDC. External power sources must be able to supply 200 mA continuously.
NOTE: There is an automatic switch over to internal batteries if power is interrupted.

Compatibility with microSDHC memory cards
Please note that the PDR and SPDR are designed for use with the microSDHC memory cards. There are several types of SD card standards (as of this writing) based on capacity (storage in GB).
SDSC: standard capacity, up to and including 2 GB – DO NOT USE!
SDHC: high capacity, more than 2 GB and up to and including 32 GB – USE THIS TYPE.
SDXC: extended capacity, more than 32 GB and up to and including 2 TB – DO NOT USE!
SDUC: extended capacity, more than 2TB and up to and including 128 TB – DO NOT USE!
The larger XC and UC cards use a different formatting method and bus structure and are NOT compatible with the SPDR recorder. These are typically used with later generation video systems and cameras for image applications (video and high resolution, high-speed photography).
ONLY the microSDHC memory cards should be used. They are available in capacities from 4GB to 32GB. Look for the Speed Class 10 cards (as indicated by a C wrapped around the number 10), or the UHS Speed Class I cards (as indicated by the numeral 1 inside a U symbol). Also, note the microSDHC Logo.
If you are switching to a new brand or source of the card, we always suggest testing first before using the card on a critical application.
The following markings will appear on compatible memory cards. One or all of the markings will appear on the card housing and the packaging.

IMPORTANT: Read the instructions on the following page regarding memory card preparation
Memory Card Preparation
Compatible Cards
We have tested a wide variety of microSDHC memory cards and these performed the best with no issues or errors.
- Lexar 16GB High-Performance UHS-I (Lexar part number LSDMI16GBBNL300).
- SanDisk 16GB Extreme PLUS UHS-I (SanDisk part number SDSDOX-016G-GN6MA)
- Sony 16GB UHS-I (Sony part number SR16UXA/T0)
- PNY Technologies 16GB Elite UHS-1 (PNY part number P-SDU16U185EL-GE)
- Samsung 16GB PRO UHS-1 (Samsung part number MB-MG16EA/AM)
Installing Card
The card slot is covered by a flexible cap.

Formatting Card
microSDHC memory cards come pre-formatted with a FAT32 file system which is optimized for good performance. The SPDR relies on this performance and will never disturb the underlying low-level formatting of the SD card. When the SPDR “formats” a card, it performs a function similar to the Windows “Quick Format” which deletes all files and prepares the card for recording. The card can be read by any standard computer but if any write, edit, or deletions are made to the card by the computer, the card must be re-formatted with the SPDR to prepare it again for recording. The SPDR never low-level formats a card and we strongly advise against doing so with the computer.
When a card is installed, or when the SPDR is powered on with a card already installed, the card is scanned to see if it has been formatted for use with the SPDR. If it hasn’t, a prompt appears offering to do so. Follow the on-screen prompts to format the card. If the scan finds an interrupted recording, the Recovery screen will appear. The formatting operation may also be performed on a card that is already formatted, to erase all recordings and start over with an empty card. To do this, select Format Card from the menu.
WARNING: Do not perform a low-level format (complete format) with a computer. Doing so may render the memory card unusable with the SPDR recorder.
With a windows based computer, be sure to check the quick format box before formatting the card.
With a Mac, choose MS-DOS (FAT) if the card is 32 Gb or smaller, exFAT if the card is 64 GB or larger.
IMPORTANT
The formatting of the SPDR SD card sets up contiguous sectors for maximum efficiency in the recording process. The file format utilizes the XML wave format which has sufficient data space in the header for the file information and the time code imprint.
The SD card, as formatted by the SPDR, can be corrupted by any attempt to directly edit, change, format, or view the files on a computer.
The simplest way to prevent data corruption is to copy the .wav files from the card to a computer or other Windows or OS formatted media FIRST Repeat – COPY THE FILES FIRST!
Do not rename files directly on the SD card.
Do not attempt to edit the files directly on the SD card.
Do not save ANYTHING to the SD card with a computer (such as the take log, note files, etc) – it is formatted for SPDR use only.
In short – there should be NO manipulation of the data on the card or addition of data to the card with anything other than an SPDR. Copy the files to a computer, thumb drive, hard drive, etc that has been formatted as a regular OS device FIRST – then you can edit freely.
MIL HEADER SUPPORT
Recordings contain industry-standard iXML chunks in the file headers, with the most commonly used fields filled in.
Features and Controls

The audio input circuitry is essentially the same as on Lectrosonics SM and L Series transmitters. Any microphone wired as Lectrosonics “compatible” or “servo bias” will work with the SPDR.
The Power LED is green when the SPDR is running on battery power. When recording, the light will blink green. Once battery power is low (30 minutes remaining), the
LED will turn red. Once the red LED begins flashing, the SPDR can die at any moment.
The Power LED is blue when the SPDR is running on external power. When recording, the light will blink blue. If both batteries and external power are connected to
the SPDR, it will run on external power and the LED will be blue.
The Power LED will briefly blink blue rapidly on receiving a successful time code jam.
Settings
Settings are accessed by pressing MENU/SEL on the keypad, and then using the UP and DOWN arrow buttons and BACK button to navigate through the menu items and select functions. The buttons also provide alternate functions as labeled by the soft buttons (or icons) on the LCD. The Main Window is shown below:

Soft buttons in each corner of the LCD define the alternate functions of the adjacent buttons on the keypad. For example, in the screen shown above, recording is
started by pressing the UP arrow button on the keypad, in which case, the display will switch to Recording.
The main functions of SPDR, Record, Stop Recording, Playback are indicated by the status indicator. Both the status indicator and soft buttons change to accommodate the current SPDR function.

In Playback Mode, the soft buttons on the LCD change to provide the functions needed during playback. There are three variants of playback :
- active playback
• paused playback in the middle of the recording
• paused playback at the end of the recording
The soft buttons in the corners of the LCD and the status indicator will change depending on the status of the playback.

Locking and Unlocking Settings
The LOCKED mode protects the recorder from accidental changes to its settings. When locked, menu navigation is possible, but any attempt to alter settings will prompt a
“LOCKED/can use the menu to unlock” message. The unit can be unlocked using the Lock/Unlock setup screen or by removing the batteries. The PDRRemote app will still
work.
Powering On
Press and hold the Power Button until the Lectrosonics logo appears on the LCD.
Powering Off
Power can be turned off by holding the Power Button in and waiting for the countdown. The Power Button will not work while the unit is recording (stop recording first before powering down) or if the SPDR has been locked (unlock the recorder first).
If the power button is released before the countdown reaches 3, the unit will remain turned on and the LCD will return to the same screen or menu that was displayed
previously.
Recording Screens
While recording, the screen provides a view of the battery status, timecode, and input audio level. Soft buttons in the four corners of the screen provide access to the Menu,
Info (available recording time if microSDHC memory card installed, SPDR info if no card in unit), and the REC (record start) and LAST (play last clip) functions. These functions are invoked by pressing the adjacent keypad button as shown on the previous page.

The status indicator will alert you if there is no microSDHC memory card in the SPDR.

To start recording, press the REC soft button in the top right corner of the screen using the UP arrow. The status indicator will switch to the Recording function.
![]() | ![]() |
About the “Slow Card” Warning:
If any samples are lost during recording, a warning screen will appear displaying “slow card.” Typically the lost audio is less than 10 milliseconds and is barely noticeable.
The unit will still be recording while this screen appears. Press the BACK button (OK) to return to the recording screen.
When this happens, there will be no “gap” or brief silence in the recording. Instead, the audio and timecode will simply jump forward. If this happens repeatedly during the recording, it is best to replace the card.
Playback Screens
Soft buttons in the Playback function provide the common button functions used for playback on a recording device. The soft buttons will change depending on the status of the playback: active playback paused in the middle or paused at the end.


Timecode
When TC Jam is selected, JAM NOW will blink on the LCD and the unit is ready to be synced with the timecode source. Connect the timecode source and the sync will take place automatically. When the sync is successful, a message will be displayed to confirm the operation.
NOTE: The headphone output will be muted when entering the TC Jam page. Audio will be restored when the cable is removed.
Timecode defaults to zero at power-up if no timecode source is used to jam the unit. A timing reference is logged into the BWF metadata.
Frame Rate
The frame rate affects the embedding of the timing reference in the BWF file metadata and display of timecode. The following options are available:
| • 30 • 29.97 • 25 • 24 | • 23.976 • 30DF • 29.97DF |
NOTE: While it is possible to change the frame rate, the most common use will be to check the frame rate which was received during the most recent timecode jam. In rare situations, it might be useful to alter the frame rate here, but be aware that audio tracks may not line up correctly with mismatched frame rates.
Use Clock
Choose to use the clock provided in the SPDR as opposed to a timecode source. Set the clock in the Settings Menu, Date & Time on page 12.
NOTE: The SPDR time clock and calendar (RTCC) cannot be relied on as an accurate time code source. Use Clock should only be used in projects where there is no need for the time to agree with an external time code source.
Auto Record
The Timecode Auto Record feature is disabled by default. When this feature is enabled, SPDR begins recording when the timecode is detected at the TC jack and stops recording when timecode is no longer detected at the TC jack. SPDR does not begin recording if the timecode is newly detected during a timecode jam operation.
Inputs
Input Level
Press MENU/SEL to select which input to adjust. Adjust the input gain with the UP and DOWN arrow buttons.
Input Type
Based on the input source, choose Analog or Digital.
Stereo Mode
Linked:
The limiters on both channels operate together to preserve the balance of the stereo image. Both red LEDs will come on at the same time, along with the “L” block on the LCD, even when limiting is only required on one channel, but the audio bar graph meters will operate independently.
Independent:
Use this mode if you are recording two separate sounds/voices, and each input will have a separate limiter.
NOTE: Input Level and LF Rolloff screens have one control in Linked Mode and two controls in Independent Mode.
LF Rolloff
Press MENU/SEL to select which input to adjust. Adjust with the UP and DOWN arrow buttons.
HP Volume
Select HPVolume in Main Menu and use UP and DOWN arrows to adjust.
Scene & Take

Each time a recording is started, the SPDR automatically increments the Take number. Scene and Take numbers can be manually updated. Takes can run up to 999 and scene numbers can run up to 99.
The progressive scene and take automatically catalogs each time a recording is begun. Scene numbers are entered manually. Take numbers increment automatically.
For example S01T001.WAV. The initial ‘S’ is meant to suggest “Scene” but also serves as the overwrite prevention character, decrementing to ‘R’, ‘Q’, etc. as needed to avoid a naming conflict. The “01” after the ‘S’ is the scene number. ‘T’ means take, and the “001” is the take number. An eighth character is used only for the second and subsequent (4 GB) segments for very large recordings.
SD Card
Format Card
This item deletes all files on the microSDHC memory card and prepares the card for recording.
WARNING: Previous files are not securely deleted from the card during the formatting process.
Files/Play
Choose to play the files based on their name. Use the arrows to scroll, MENU/SEL to select the file, and the DOWN arrow to play.
Takes/Play
Choose to play the files based on scene and take. Use the arrows to scroll, MENU/SEL to select the file, and the DOWN arrow to play.
File Naming
File naming can be set as Sequence, Clock Time, or Scene/Take. Use the arrows to scroll, MENU/SEL to choose.
About Card
View information about the microSDHC memory card. See storage used, storage capacity, and available recording time.

NOTE: Press BACK from the Main Window to display About Card. Any button returns to the Main Window.
Settings
Record Mode
Two record modes are available:
HD Stereo: Records a stereo audio track
Split Gain: Records two stereo pairs, for a total of four tracks, one of each pair at the normal level and another at -18 dB as a “safety” track that can be used in place of the normal track in the event that overload distortion (clipping) has occurred on the normal track.
Sample Rate
Use the arrows to scroll, MENU/SEL to choose one of two sample rate options available; 48 kHz is an industry-standard rate and should be suitable for nearly all purposes. At 96 kHz, the microSDHC memory card will be used up twice as fast but will have slightly less phase distortion near the top end of the audible spectrum (close to 20 kHz).
Date & Time
To set the date and time, use the MENU/SEL button to toggle through the fields and the UP and DOWN arrow buttons to choose the appropriate number.
Lock/Unlock
Choose Yes to lock the functions of the recorder to prevent accidental changes.
Backlight
The LCD backlight can be set to turn off after either 5 minutes or 30 seconds or to stay on continuously.
Bat Type
Choose either Alkaline (recommended) or Lithium AA battery type. The voltage of the installed batteries will be shown at the bottom.
Remote
The recorder can be configured to respond to “tweedle tone” signals from the PDRRemote smartphone app or to ignore them. Use the arrow buttons to toggle between “yes” (remote control on) and “no” (remote control off). (See Using A Remote Control App.)
About SPDR
The SPDR’s firmware version and serial number are displayed.
Default
To return the recorder to its factory default settings, use the UP and DOWN arrow buttons to choose Yes. SPDR default settings:
| Frame Rate | 30 | File Sequence Number | 1 |
| Input Level | 22 both sides | File Naming | Sequence |
| Input Type | Analog | Record Mode | HD Stereo |
| Stereo Mode | Linked | Sample Rate | 48 kHz |
| LF Rolloff | 70 Hz on both sides | Backlight Mode | Always On |
| Headphone Volume | 60% of the way up | Battery Type | Alkaline |
| Scene | 1 | Remote Control | Disabled |
| Take | 1 |
Operating Instructions
Recording in Analog Mode
- Connect microphone or audio source.
- Set Input Type to Analog:
When the Input Type is set to Analog, this menu item will allow you to adjust the input gain. The two tricolor audio level indicator LEDs on the top of the SPDR provide a visual indication of each analog audio signal level entering the recorder. The LEDs will glow either red or green to indicate audio levels, as shown in the following table.
Signal Level LED Less than -20 dB
Off-20 dB to +0 dB
Green+0 dB and up
Red - Set Input Level.
When setting the input level in Analog Input Type, it is best to go through the following procedure before recording.
1) With fresh batteries in the SPDR, power the unit on.
2) Prepare the signal source(s). Position microphone(s) the way it will be used in actual operation and have the user speak or sing at the loudest level that will occur during use, or set the output level of the instrument or audio device to the maximum level that will be used.
3) Press MENU/SEL to select which input to adjust. Adjust the input gain with the UP and DOWN arrow buttons so that the input LED glows green during the loudest peaks in the audio. The LED will turn red if the peak is being limited in the preamp. - Set Stereo Mode.
Linked:
The limiters on both channels operate together to preserve the balance of the stereo image. Both red LEDs will come on at the same time, along with the “L” block on the LCD, even when limiting is only required on one channel, but the audio bar graph meters will operate independently.
Independent:
Use this mode if you are recording two separate sounds/voices, and each input will have a separate limiter.
- Set LF Rolloff:
Low-frequency audio content may be desirable or distracting, so the point at which the roll-off takes place can be set to 35, 50, 70, 100, 120, or 150 Hz.
- Set HP (headphone) Volume.
- Begin recording.Return to the Main Window and press the UP arrow to start recording (see page 6).
Recording in Digital Mode
- Connect microphone or audio source
- Set Input Type to Digital:
When the Input Type is set to Digital, the two tricolor audio level indicator LEDs on the top of the SPDR will be blue for a signal above -40 and off otherwise. In Digital mode, the input is AES 3 compatible. In this configuration, pin 4 is +, and pin 1 is -.
- Set Stereo Mode.
Linked:
The limiters on both channels operate together to preserve the balance of the stereo image. Both red LEDs will come on at the same time, along with the “L” block on the LCD, even when limiting is only required on one channel, but the audio bar graph meters will operate independently.
Independent:
Use this mode if you are recording two separate sounds/voices, and each input will have a separate limiter. - Set LF Rolloff:
Low-frequency audio content may be desirable or distracting, so the point at which the roll-off takes place can be set to 35, 50, 70, 100, 120, or 150 Hz.
- Set HP (headphone) Volume.
- Begin recording.
Return to the Main Window and press the UP arrow to start recording (see page 6).
Browsing/Playing Back Recordings
Soft buttons in the Playback function provide the common button functions used for playback on a recording device. The soft buttons will change depending on the status of the playback: active playback paused in the middle or paused at the end.

Users can choose to play the files based on their name or based on scene and take.
Files/Play Choose to play files by the filename. Filenames of the recordings contain industry-standard iXML chunks in the file headers, with the most commonly used fields filled in. File naming can be set as:
- Sequence: a progressive sequence of numbers
- Clock Time: the time of the internal clock at the beginning of the recording; recorded as DDHHMMA.WAV. DD is the day of the month, HH is hours, MM is minutes, A is the overwrite-prevention character, incrementing to ‘B’, ‘C’, etc. as needed to avoid a naming conflict A final character serves as the segment identifier, being absent in the first segment, ‘2’ in the second segment, ‘3’ in the third and so on.
- Scene/Take: the progressive scene and take automatically cataloged each time a recording is begun; S01T001.WAV. The initial ‘S’ is meant to suggest “Scene” but also serves as the overwrite prevention character, decrementing to ‘R’, ‘0’, etc. as needed to avoid a naming conflict. The “01” after the ‘S’ is the scene number. ‘T’ means take, and the “001” is the take number. An eighth character is used only for the second and subsequent (4 GB) segments for very large recordings. Scene numbers are entered manually. Take numbers increment automatically.
Takes/Play Choose to play the files based on scene and take. Scene and take numbers can be manually entered, and are embedded in the filenames and iXML headers of recordings. Take number automatically increments each time the record button is pressed. When browsing by scene and take, recordings that span multiple files are listed singly and played as one long recording.
The status indicator will alert you if there is no microSDHC memory card in the SPDR.

Copying Recordings to a Computer
- Remove your MicroSD card from the SPDR by lightly pressing inward on the card and, when released, the card should pop out of the recorder enough to remove it.

- Insert the MicroSD card into the adapter.
Slide the button on the side of the adapter to the locked position and insert the adapter (with a MicroSD card inside) into your computer’s memory card slot.
NOTE: The MicroSD card adapter has a write-protect tab. Sliding the tab down to the locked position prevents the recording of data and protects existing data. When recording to, erasing from, or formatting the MicroSD card, slide the tab upward.If using a Windows operating system, the computer should detect the card and assign it to a drive. Open the selected drive by clicking on the “Start” button and select “Computer” to launch Windows Explorer, the native file manager. Open the folder that was assigned to your MicroSD card.
If using a MAC operating system, the card will appear as an icon on the desktop. Double-click to open it.- Copy the files you wish to download from the card and paste them into the selected file on your computer.
- Be sure to safely eject the card adapter when finished copying the files.
Recovering an Interrupted Recording
Recordings can be reliably recovered even if the microSDHC memory card is accidentally removed or the battery dies while a recording is in progress. If a recording is
interrupted, all of the audio is present on the card and can be easily recovered by the SPDR. The SPDR keeps track of the length of the most recent recording so it can supply a good suggestion for the length to recover. If the length is ever unknown or the SPDR’s suggestion seems incorrect, it is always possible to override the suggested length. If in doubt, specify the maximum length possible, in which case the entire remainder of the card is recovered. All of the interrupted recordings will be present, followed by extra contents which might be random noise or audio from previously deleted recordings.
NOTE: A good battery or external power supply is required to begin the recovery process. If recovery is attempted with a weak battery, a message will appear saying that a fresh battery will be required.
Once a fresh battery has been installed, power on the SPDR and inserts the card with the interrupted recording. The SPDR will detect the interrupted recording and display:

If “No” is chosen, nothing is done to the card and the SPDR will not use the card. If “Yes” is chosen”, a prompt appears asking for the length of the recording to recover, specified as a number of hours and minutes. The default suggestion will be the approximate length of the most recent recording. It is always safe to recover a longer recording than was made. To specify the recovery time, use the MENU/SEL button to navigate and specify the hours and minutes fields.
Once set as desired, use MENU/SEL to navigate to the “GO” soft button and press the DOWN arrow button to begin the recovery process.
Recovery is nearly instantaneous. When completed, the display will show:

Using a Remote Control App
PDRRemote By New Endian LLC
The convenient remote control is provided by a phone app available on AppStore and Google Play. The app uses audio tones (“tweedle tones”) played through the phone’s speaker that is interpreted by the recorder to make changes:
- Record Start/Stop
- Mic Gain Level Adjustments
- Lock/Unlock
The SPDR tones are unique to the SPDR, and the recorder will not react to “tweedle tones” meant for Lectrosonics transmitters.
The screens appear differently for iOS and Android phones but perform the same functions.
For Best Results
The following conditions are required:
- The microphone must be within a few inches.
- The recorder must be configured to enable remote control activation. See Remote on the menu.
Please be aware this app is not a Lectrosonics product. It is privately owned and operated by New Endian LLC, www.newendian.com.
iOS Version

Android Version

5-Pin Input Jack Wiring
The wiring diagrams included in this section represent the basic wiring necessary for the most common types of microphones and other audio inputs. Some microphones
may require extra jumpers or a slight variation on the diagrams shown.
It is virtually impossible to keep completely up to date on changes that other manufacturers make to their products, thus you may encounter a microphone that differs from these instructions. If this occurs please call our toll-free number listed under Service and Repair in this manual or visit our website at: www.lectrosonics.com

Audio input jack wiring:
PIN 1
Shield (ground) for positively biased electret lavaliere microphones. Shield (ground) for dynamic microphones and line-level inputs.
PIN 2
Bias voltage source for positively biased electret lavaliere microphones that are not using servo bias circuitry and voltage source for 4-volt servo bias wiring.
PIN 3
Microphone level input and bias supply.
PIN 4
Bias voltage selector for Pin 3.
Pin 3 voltage depends on the Pin 4 connection.
Pin 4 tied to Pin 1: 0 V
Pin 4 Open: 2 V
Pin 4 to Pin 2: 4 V
PIN 5
Line level input for tape decks, mixer outputs, musical instruments, etc.

Installing the Connector:
- If necessary, remove the old connector from the microphone cable.
- Slide the dust boot onto the microphone cable with the large end facing the connector.
- If necessary, slide the 1/8-inch black shrink tubing onto the microphone cable. This tubing is needed for some smaller diameter cables to ensure there is a snug fit in the dust boot.
- Slide the backshell over the cable as shown above.
Slide the insulator over the cable before soldering the wires to the pins on the insert. - Solder the wires and resistors to the pins on the insert according to the diagrams shown in Wiring Hookups for Different Sources. A length of .065 OD clear tubing is included if you need to insulate the resistor leads or shield wire.
Note: If you use the dust boot, remove the rubber strain relief that is attached to the TA5F cap, or the boot will not fit over the assembly. - If necessary, remove the rubber strain relief from the TA5F backshell by simply pulling it out.
- Seat the insulator on the insert. Slide the cable clamp over the and of the insulator and crimp as shown on the next page.
- Insert the assembled insert/insulator/clamp into the matchlock. Make sure the tab and slot align to allow the insert to fully seat in the matchlock. Thread the backshell onto the latch lock.
Microphone Cable Termination for Non-Lectrosonics Microphones
TA5F Connector Assembly

Mic Cord Stripping Instructions

Crimping to Shield and Insulation

Strip and position the cable so that the clamp can be crimped to contact both the mic cable shield and the insulation. The shield contact reduces noise with some microphones and the insulation clamp increases ruggedness.
NOTE: This termination is intended for UHF transmitters only. VHF transmitters with 5-pin jacks require a different termination.
Lectrosonics lavaliere microphones are terminated for compatibility with VHF and UHF transmitters, which is different from what is shown here.
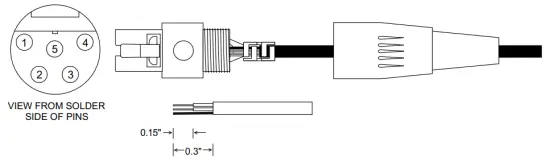
Timecode Jack Wiring
The timecode connection is made via a standard LEMO 5-pin connector. Pin connections are as follows, viewed from outside the connector.

Input Jack Wiring for Different Sources
In addition to the microphone and line-level wiring hookups illustrated below, Lectrosonics makes a number of cables and adapters for other situations such as connecting musical instruments (guitars, bass guitars, etc.) to the transmitter. Visit www.lectrosonics.com and click on Accessories, or download the master catalog.
A lot of information regarding microphone wiring is also available in the FAQ section of the website at: http://www.lectrosonics.com
Hover over Support and click on FAQs. Follow the instructions to search by model number or other search options.
Compatible Wiring for Both Servo Bias Inputs and Earlier Transmitters:

Simple Wiring – Can ONLY be used with Servo Bias Inputs:
Servo Bias was introduced in 2005 and all transmitters with 5-pin inputs have been built with this feature since 2007.

Line Level Signals
The normal wiring for line-level signals is:
- Signal Hot to pin 5
- Signal Gnd to pin 1
- Pin 4 jumped to pin 1
This allows signal levels up to 3V RMS to be applied without limiting.
If more headroom is needed, insert a 20 k resistor in series with pin 5. Put this resistor inside the TA5F connector to minimize noise pickup.

Wiring Diagram for MCAES3 Digital Cable
The MCAES3 cable is used to connect the AES output of a digital mixer or recorder to the SPDR AES input. It is constructed with a TA5F jack, rugged coaxial cable, and a 3-pin female XLR connector. The connectors have soldered connections to the cable, allowing them to be serviced or replaced if the need arises.
Connectors:
• 5-pin TA5F female
• XLR-3 female
Cable: RG-174U coaxial
Length: 18 inches

NOTE: Do not tie pin 1 to the shell in the TA5F connector. 
Firmware Updates
Firmware updates are made using a MicroSDHC memory card. Download and copy the following firmware update files from the Lectrosonics website to a drive on your
computer.
- spdr vX_xx.LDR is the firmware update file, where “X_xx” is the revision number.
In the computer:
- Perform a Quick Format of the card. On a Windows-based system, this will automatically format the card to the FAT32 format, which is the Windows standard. On a Mac, you may be given several options. If the card is already formatted in Windows (FAT32) – it will be greyed out – then you do not need to do anything. If the card is in another format, choose Windows (FAT32) and then click “Erase.” When the quick format on the computer is complete, close the dialogue box and open the file browser.
- Copy the spdr v1_xx.LDR file to the memory card, then safely eject the card from the computer.
In the SPDR:
- Leave the SPDR turned off and insert the microSDHC memory card into the slot.
- Hold down both the UP and DOWN arrow buttons on the recorder and turn the power on.
- The recorder will boot up into the firmware update mode with the following options on the LCD:
• Run – Exits the update mode and starts up the recorder in the normal operating mode.
• Update – Displays a scrollable list of the .ldr files on the card.
• Power Off – Exits the update mode and turns the power off.
NOTE: If the unit powers on normally instead of offering the options in Step 3 (above), power the unit off and try again, making sure that both arrow buttons are firmly depressed while powering the unit back on. - Select Update. Use the UP and DOWN arrow buttons to select the desired file and press MENU/ SEL to begin the update process. The LCD will display status messages while the firmware is being updated. NOTE: The Update process takes about 20 seconds.
- When the update is complete, the LCD will display this message: UPDATE SUCCESSFUL REMOVE CARD. After the card is removed, the LCD will return to the three options shown in step 3 above.
- Select Power Off and press MENU/SEL to finish the update.
If you re-insert the same card and turn the power back on for normal use, the LCD will display a message prompting you to format the card:
Format Card?
(files lost)
• No
• Yes
If you wish to record audio on the card, you must reformat it. Select Yes and press MENU/SEL to format the card. When the process is complete, the LCD will return to the Main Window and be ready for normal operation.
If you choose to keep the card as is, you may remove the card at this time.
The firmware update process is managed by a bootloader program – on very rare occasions, you might need to update the bootloader.
• spdrboot vX_xx.LDR is the bootloader file
Follow the same process as with a firmware update and select the spdrboot file. Be forewarned, this can corrupt your unit if interrupted. Don’t update the bootloader unless advised to do so by the factory.
Optional Accessories
26526 Wire belt clip
CH12 External power source; 120VAC, 120v-60Hz 14W input; 12 VDC (regulated), 300 mA max. output.
MC35 line level adapter cable. Female XLR to female TA5F; 37 inches long. Feed line-level signal to pin 5 on the TA5M jack.
MC41 mic level adapter cable. Female XLR to female TA5F; 37 inches long. Feeds mic level signal to pin 3 on the TA5M jack.
MCAES3 Used to connect the output to the AES3 digital input of a mixer or recorder; TA5F jack to 3-pin female XLR connector
P1354 Dust and moisture plug for headphone/line output and timecode sync port.
P1362 Dust and moisture plug for DC power port.
P1361 Replacement door for MicroSD card.
P1363 SD card blocker

External Power Supply:
DCR12/A4U 90-240 VAC, 50/60 Hz input; 12 VDC (regulated), 400 mA max. output.

External DC Power Cords:
21425 6 ft. long power cord, coaxial to stripped and tinned leads. Coaxial plug: ID-.080”; OD-.218”; Depth- .5”.

21472 6 ft. long power cord; coaxial to stripped and tinned leads. Right angle coaxial plug: ID-.080”; OD.215”; Depth- .400”.

Specifications
Recording
| Storage media: | microSDHC memory card |
| File format: | .wav files (BWF) iXML metadata |
| A/D converter: | 24-bit |
| Sampling rate: | 48 kHz or 96 kHz |
Recording modes/Bitrate:
| Sample Rate | HD Stereo Mode | Split Gain Mode |
| 48 kHz | 288 Kbps | 576 Kbps |
| 96 kHz | 576 Kbps | not supported |
Input
| Type: | • Time Base: 1ppm TCXO • Analog mic/line level compatible; servo bias preamp for 2V and 4V lavaliere microphones • Input 1 is switchable to AES3 two-channel digital. |
| Input level: | • Dynamic mic: 0.5 mV to 50 mV • Electret mic: Nominal 2 mV to 300 mV • Line level: 17 mV to 1.7 V |
| Input connector: | TA5M 5-pin male |
Headphone Output
Connector: 3.5 mm mini jack; TRS
Maximum level: -3 dBu (575 mV RMS)
Audio Performance
Frequency response: 20 Hz to 20 kHz; +0.5/-1.5 dB
Dynamic range: 110 dB (A), before limiting
Distortion: < 0.035%
Time Code
Connector: 5-pin LEMO
Signal voltage: 0.5V p-p to 5V p-p
Input impedance: 10 k Ohms
Format: SMPTE 12M – 1999 compliant
Battery Power/Life
Battery type: AA Alkaline non-rechargeable (recommended)
Battery life: 20 hours typical at 48kHz sample rate (AA Alkaline)
External Power:
Input voltage: 6-17 VDC
Input current: 75 mA max @ 12 VDC (96 kHz recording)
Connector: 2.5mm coaxial connector, center pin positive
Operating Temperature Range
Celsius: -20 to 50
Fahrenheit: -4 to 122
Dimensions and Weight
Dimensions: Inches: 3.9 H x 2.38 W x .82D Millimeters: 99.06 H x 60.45 W x 20.83 D
Weight: 5.7 ozs. (162 grams) w/ AA Alkaline batteries (without belt clip)
Specifications are subject to change without notice.
This device complies with part 15 of the FCC Rules. Operation is subject to the following two conditions: (1) This device may not cause harmful interference, and (2) this device must accept any interference received, including interference that may cause undesired operation.
NOTE: This equipment has been tested and found to comply with the limits for a Class B digital device, pursuant to part 15 of the FCC Rules. These limits are designed to provide reasonable protection against harmful interference in a residential installation. This equipment generates, uses, and can radiate radio frequency energy and, if not installed and used in accordance with the instructions, may cause harmful interference to radio communications. However, there is no guarantee that interference will not occur in a particular installation. If this equipment does cause harmful interference to radio or television reception, which can be determined by turning the equipment off
and on, the user is encouraged to try to correct the interference by one or more of the following measures:
— Reorient or relocate the receiving antenna.
— Increase the separation between the equipment and receiver.
— Connect the equipment into an outlet on a circuit different from that to which the receiver is connected.
— Consult the dealer or an experienced radio/TV technician for help.
Service and Repair
If your system malfunctions, you should attempt to correct or isolate the trouble before concluding that the equipment needs repair. Make sure you have followed the setup procedure and operating instructions. Check the interconnecting cables and then go through the Troubleshooting section in this manual.
We strongly recommend that you do not try to repair the equipment yourself and do not have the local repair shop attempt anything other than the simplest
repair. If the repair is more complicated than a broken wire or loose connection, send the unit to the factory for repair and service. Don’t attempt to adjust any controls inside the units. Once set at the factory, the various controls and trimmers do not drift with age or vibration and never require readjustment. There are no adjustments inside that will make a malfunctioning unit start working.
LECTROSONICS’ Service Department is equipped and staffed to quickly repair your equipment. In warranty, repairs are made at no charge in accordance with the terms of the warranty. Out-of-warranty repairs are charged at a modest flat rate plus parts and shipping. Since it takes almost as much time and effort to determine what is wrong as it does to make the repair, there is a charge for an exact quotation. We will be happy to quote approximate charges by phone for out-of-warranty repairs.
Returning Units for Repair
For timely service, please follow the steps below:
A. DO NOT return equipment to the factory for repair without first contacting us by email or by phone. We need to know the nature of the problem, the model number, and the serial number of the equipment. We also need a phone number where you can be reached from 8 A.M. to 4 P.M. (U.S. Mountain Standard Time).
B. After receiving your request, we will issue you a return authorization number (R.A.). This number will help speed your repair through our receiving and repair departments. The return authorization number must be clearly shown on the outside of the shipping container.
C. Pack the equipment carefully and ship to us, shipping costs prepaid. If necessary, we can provide you with the proper packing materials. UPS is usually the best way to ship the units. Heavy units should be “double-boxed” for safe transport.
D. We also strongly recommend that you insure the equipment since we cannot be responsible for loss of or damage to equipment that you ship. Of course, we ensure the equipment when we ship it back to you.
Lectrosonics USA:
Mailing address:
Lectrosonics, Inc.
PO Box 15900
Rio Rancho, NM 87174
USA
Web: www.lectrosonics.com
Lectrosonics Canada:
Mailing Address:
720 Spadina Avenue, Suite 600
Toronto, Ontario M5S 2T9
Shipping address:
Lectrosonics, Inc.
581 Laser Rd.
Rio Rancho, NM 87124
USA
E-mail: [email protected]
Telephone:
(416) 596-2202
(877) 753-2876 Toll-free
(877-7LECTRO)
(416) 596-6648
Fax
Telephone:
(505) 892-4501
(800) 821-1121 Toll-free
(505) 892-6243 Fax
E-mail: Sales: [email protected]
Service: [email protected]
LIMITED ONE YEAR WARRANTY
The equipment is warranted for one year from the date of purchase against defects in materials or workmanship provided it was purchased from an authorized dealer. This
warranty does not cover equipment that has been abused or damaged by careless handling or shipping. This warranty does not apply to used or demonstrator equipment.
Should any defect develop, Lectrosonics, Inc. will, at our option, repair or replace any defective parts without charge for either parts or labor. If Lectrosonics, Inc. cannot
correct the defect in your equipment, it will be replaced at no charge with a similar new item. Lectrosonics, Inc. will pay for the cost of returning your equipment to you.
This warranty applies only to items returned to Lectrosonics, Inc. or an authorized dealer, shipping costs prepaid, within one year from the date of purchase.
This Limited Warranty is governed by the laws of the State of New Mexico. It states the entire liability of Lectrosonics Inc. and the entire remedy of the purchaser for any
breach of warranty as outlined above. NEITHER LECTROSONICS, INC. NOR ANYONE INVOLVED IN THE PRODUCTION OR DELIVERY OF THE EQUIPMENT SHALL BE LIABLE FOR ANY INDIRECT, SPECIAL, PUNITIVE, CONSEQUENTIAL, OR INCIDENTAL DAMAGES ARISING OUT OF THE USE OR INABILITY TO USE THIS EQUIPMENT EVEN IF LECTROSONICS, INC. HAS BEEN ADVISED OF THE POSSIBILITY OF SUCH DAMAGES. IN NO EVENT SHALL THE LIABILITY OF LECTROSONICS, INC. EXCEED THE PURCHASE PRICE OF ANY DEFECTIVE EQUIPMENT.
This warranty gives you specific legal rights. You may have additional legal rights which vary from state to state.

581 Laser Road NE
Rio Rancho, NM 87124 USA
www.lectrosonics.com
(505) 892-4501
(800) 821-1121
fax (505) 892-6243
[email protected]
31 March 2021

























