Paul Neuhaus 12100 Ceiling Light
This product contains light sources of energy efficiency class <E>.
SPECIFICATION
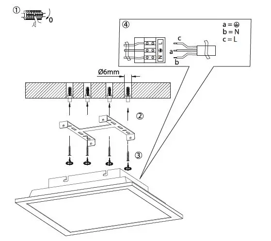
INSTULLATION

REMOTE FUNCTION 

Instructions for use
If your light is not assigned to the enclosed remote control, assign the remote control to the light as follows
Selltec GmbH
Industriestraße 34 · D-59457 Werl
+49(0)2922 9721 9290
[email protected]
www.neuhaus-group.de



























