BEKA BA3901 Pageant Power Combiner

INTRODUCTION
The BA3901 is an IECEx, ATEX and UKCA certified intrinsically safe 4 way Power Terminal Accessory (Power Combiner) which is part of the BEKA Pageant Display system. It remotely combines the four separate intrinsically safe outputs from a BEKA BA243 Power Isolator, which allows long cables to be used between the isolator and a Pageant BA3101 Operator Panel installed in a IIC hazardous gas atmosphere.
The 4 way Power Combiner may be fitted to any certified Pageant BA3200 series CPU module. It includes four pairs of removable screw connectors for terminating the four isolated outputs from the BA243 Power Isolator.
INTRINSIC SAFETY CERTIFICATION
Notified Body CML B.V. and UK Approved Body Eurofins CML have issued the BA3901 4 way Power Terminal with the following apparatus certificates:
- IECEx IECEx CML 20.0151X
- ATEX CML 20ATEX2253X
- UKCA CML21UKEX2004X
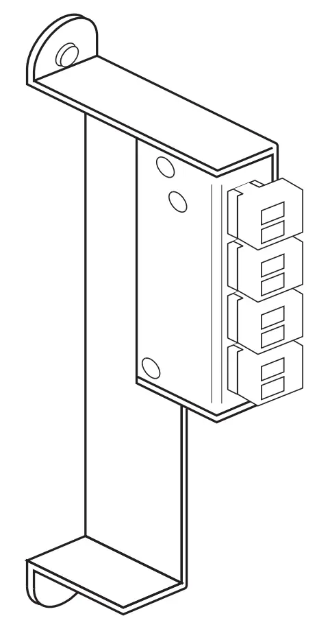
Fig 1 Assembly of 4 way Power Combiner and CPU module
The ATEX certificate has been used to confirm compliance with the European ATEX Directive for Group II, Category 1GD equipment, similarly the UKCA certificate has been used to confirm compliance with UK statutory requirements. All BA3901 Power Combiners carry both the CE and UKCA marks, subject to local codes of practice, they may be installed in any of the European Economic Area (EEA) member countries and in the UK. ATEX certificates are also acceptable for installations in some non EU countries.
These instructions describe IECEx, ATEX and UKCA installations which conform with IEC / EN60079-14 Electrical installations design, selection and erection. When designing systems the local code of practice should be consulted.
Zones, gas groups and T rating
All of the BA3901 4 way Power Terminal certificates specify the same code:
Ex ia IIC T4 Ga
-40°C ≤ Ta ≤ 65°C
Each of the four pairs of input terminals TB200, TB201,
TB202 and TB203 have following input safety parameters:
- Ui = 12.4V
Ii = 670mA - Pi = 1.36W
- Ci = 0
- Li = 0
The BA3901 Power Terminal Accessories (Power Combiners) are CE marked to show compliance with the European Explosive Atmospheres Directive 2014/34/EU and the European EMC Directive 2014/30/EU.
The modules are also UKCA marked to show compliance with UK statutory requirements Equipment and Protective Systems Intended for Use in Potentially Explosive Atmospheres Regulations UKSI 2016:1107 (as amended) and with the Electromagnetic Compatibility Regulations UKSI 2016:1091.
These match the safety parameters of the four galvanically isolated outputs from a BEKA BA243 Power Isolator, allowing direct connection between the isolator and the BA3901 Power Combiner.
Special conditions for safe use
- Under certain extreme circumstances, the nonmetallic parts incorporated in the enclosure of this equipment may generate an ignition-capable level of electrostatic charge. Therefore, the equipment shall not be installed in a location where the external conditions are conducive to the build-up of electrostatic charge on such surfaces. In addition, the equipment shall only be cleaned with a damp cloth.
- The BA3901 4 way Power Terminal Accessory (Power Combiner) shall only be used as part of a BEKA Pageant system.
Certification label information
The certification information label is fitted to the side of the BA3901 4 way Power Terminal Accessory. It shows the model number, certification information, BEKA associates address and year of manufacture together with the serial number.
INSTALLATION
The BA3901 4 way Power Terminal Accessory may be fitted to any certified Pageant BA3200 series CPU module as shown in Fig 1.
BA3901 4 way Power Terminal Accessory Installation
The following procedure should be performed before installing the Pageant BA3200 series CPU plug-in module into the ‘C’ socket at the rear of the BA3101 Pageant Operator Panel.
- Remove the two way terminal block from the rear of the BA32xx series CPU by gently pulling.
- Carefully slide the BA3901 4 way Power Terminal over the rear of the Pageant BA3200 series CPU plug-in module as shown in Fig 1.
- Ensure that the two way connector inside the Power Terminal Accessory mates with the connector at the rear of the CPU module.
- Carefully insert the CPU and 4 way Power Terminal assembly onto the ‘C’ socket at the rear of a BA3101 Operator Display. When correctly positioned secure the assembly by tightening the two module fixing screws which pass though both parts of the assembly as shown in Fig 1.
Connection to a BA243 Power Isolator
The BA3901 remotely combines the four isolated intrinsically safe outputs from a BA243 Power Isolator at the rear of the Pageant BA3101 Pageant Operator Panel. This allows longer cables to be used between the isolator and a BA3101 Operator Panel in a IIC hydrogen gas atmosphere.
The internal inductance Li and the internal capacitance Ci at terminals TB200, TB201, TB202 and TB203 of the BA3901 4 way Power Terminal are both zero. Therefore the cable parameters of the four twisted pairs of wires are defined by the BA243 Power Isolator output parameters.
- Fig 2 Wiring between BA243 Power Isolator and BA3901 Power Combiner in IIC hydrogen gas atmosphere

All associated manuals, certificates, and datasheets can be downloaded from https://www.beka.co.uk/qr-ba3901_1
Customer Support
Old Charlton Rd, Hitchin, Hertfordshire, SG5 2DA, UK
Tel: +44(0)1462 438301 e-mail: [email protected]
web: www.beka.co.uk






















