UISP LTU Instant (5-pack) User Manual
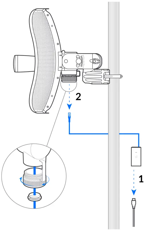
ASSEMBLY INSTRUCTIONS
02020-2021 Ubiquiti Inc All rights reserved. Ubiquiti. Ubiquiti Networks. the Ubiquiti U logo. LTU. and UISP are trademarks or registered trademarks of Ubiquiti Inc. in the United States and in other countries. All other trademarks are the property of their respective owners. Apple and the Apple logo are trademarks of Apple Inc.. registered in the US. and other countries- Apo Store and the Apple logo are trademarks of Apple Inc.. registered in the US. and other countries. Android. Google. Google Play. the Google Play logo and other marks are trademarks of Google LLG.
![]()





























