GLUCKSTEIN ELEMENTS 38711-HBCW Denver 48-Inch Indoor LED Ceiling Fan

THANK YOU
We appreciate the trust and confidence you have placed in Gluckstein Elements through the purchase of this ceiling fan. We strive to continually create quality products designed to enhance your home. Visit us online to see our full line of products available for your home improvement needs. Thank you for choosing Gluckstein Elements!
Safety Information
READ AND SAVE THESE INSTRUCTIONS.
- To reduce the risk of electric shock, ensure the electricity has been turned off at the circuit breaker or fuse box before you begin.
- All wiring must be in accordance with the National Electrical Code ANSI/NFPA 70 and local electrical codes. Electrical installation should be performed by a qualified licensed electrician.
- The outlet box and support structure must be securely mounted and capable of reliably supporting 15.9 kg (35 lbs). Use only UL listed outlet boxes marked “Acceptable for Fan Support of 15.9 kg (35 lbs) or less”
- Do not operate the reversing switch while the fan blades are in motion. You must turn the fan off and stop the blades before you reverse the blade direction.
- Do not place objects in the path of the blades
- After making electrical connections, spliced conductors should be turned upward and pushed carefully up into the outlet box. The wires should be spread apart with the grounded conductor and the equipment-grounding conductor on one side of the outlet box and ungrounded conductor on the other side of the outlet box.
- All set screws must be checked and retightened where necessary before installation.
WARNING: To reduce the risk of personal injury, do not bend the blade brackets when installing the brackets, balancing the blades, or cleaning the fan. Do not insert foreign objects in between rotating fan blades.
WARNING: To reduce the risk of fire, electric shock or personal injury, mount to an outlet box marked “acceptable for fan support of 15.9 kg (35 lbs) or less” and use screws provided with the outlet box.
WARNING: To avoid possible electrical shock, turn the electricity off at the main fuse box before wiring. If you feel you do not have enough electrical wiring knowledge or experience, contact a licensed electrician.
WARNING: To reduce the risk of fire or electric shock, do not use this fan with any solid-state speed control device.
WARNING: To reduce the risk of electric shock, this fan must be installed with an isolating wall control/ switch.
CAUTION: To reduce the risk of personal injury, use only the screws provided with the outlet box.
CAUTION: To avoid personal injury or damage to the fan and other items, use caution when working around or cleaning the fan.
CAUTION: The fan must be mounted with a minimum of 7 ft. (2.1 m) of clearance from the trailing edge of the blades to the floor.
CAUTION: Changes or modifications not expressly approved by the party responsible for compliance could void the user’s authority to operate the equipment.
Warranty
We warrant the fan motor to be free from defects in workmanship and material present at time of shipment from the factory for a period of a lifetime after the date of purchase by the original purchaser. We warrant that the light kit to be free from defects in workmanship and material at the time of shipment from the factory for a period of five years after the date of purchase by the original purchaser. We also warrant that all other fan parts, excluding any glass or acrylic blades, to be free from defects in workmanship and material at the time of shipment from the factory for a period of two years after the date of purchase by the original purchaser. We agree to correct such defects without charge or at our option replace with a comparable or superior model if the product is returned. To obtain warranty service, you must present a copy of the receipt as proof of purchase. All costs of removing and reinstalling the product are your responsibility. Damage to any part such as by accident, misuse, improper installation, or by affixing any accessories, is not covered by this warranty. Because of varying climatic conditions, this warranty does not cover any changes in brass finish, including rusting, pitting, corroding, tarnishing or peeling. Brass finishes of this type give their longest useful life when protected from varying weather conditions. A certain amount of “wobble” is normal and should not be considered a defect. Servicing performed by unauthorized persons shall render the warranty invalid. There is no other express warranty. We hereby disclaim any and all warranties, including but not limited to those of merchantability and fitness for a particular purpose to the extent permitted by law. The duration of any implied warranty which cannot be disclaimed is limited to the time period as specified in the express warranty. Some provinces do not allow limitation on how long an implied warranty lasts, so the above limitation may not apply to you. The retailer shall not be liable for incidental, consequential, or special damages arising out of or in connection with product use or performance except as may otherwise be accorded by law. Some provinces do not allow the exclusion of incidental or consequential damages, so the above exclusion or limitation may not apply to you. This warranty gives specific legal rights, and you may also have other rights which vary from province to province. This warranty supersedes all prior warranties. Shipping costs for any return of the product as part of a claim on the warranty must be paid by the customer.
Contact the Customer Service Team visit HOMEDEPOT.CA/HOMEDEPOT.COM/GLUCKSTEINELEMENTS.COM
Pre-Installation
SPECIFICATIONS
| Size | Speed | Volts | CFM | Fan Power Consumption (Without Lights) WATT | (Higher Is Better) CFM/WATT | Net Weight | Gross Weight | Cubic Feet |
| 48 in. | Low | 120 | 1491.35 | 1.82 | 819.42 | 13.43 lbs (6.09 kgs) | 16.09 lbs (7.30 kgs) | 1.89 cu. ft. |
| Medium | 2943.65 | 6.67 | 441.32 | |||||
| High | 3790.5 | 13.33 | 284.35 |
NOTE: These are approximate measures. They do not include the amps and wattage used by the light kit.
TOOLS REQUIRED
- Phillips screwdriver

- Flat head screwdriver

- Adjustable wrench

- Electrical tape

- Wire cutter

- Step ladder

HARDWARE INCLUDED
NOTE: Hardware not shown to actual size.
| Part | Description | Quantity |
| AA | Canopy screw (preassembled) | 2 |
| BB | Blade screw with spring washer (3 preassembled) | 10 |
| DD | Wire nuts | 3 |
| EE | Hitch pin (preassembled) | 1 |
| FF | Lock pin (preassembled) | 1 |
| GG | Set screw (preassembled) | 2 |
| HH | Wood screw | 4 |
| II | Metal washer | 2 |
| JJ | Mounting screw (preassembled) | 3 |
| KK | Lamp mounting screw (preassembled) | 4 |
| LL | Lampshade screw (preassembled) | 3 |
| MM | Remote control holder screw | 2 |
PACKAGE CONTENTS

| Part | Description | Quantity |
| A | Fan blade | 3 |
| B | Mounting bracket | 1 |
| C | Canopy | 1 |
| D | Hanger ball (preassembled) | 1 |
| E | Downrod (preassembled) | 1 |
| F | Coupling cover | 1 |
| G | Fan motor assembly | 1 |
| H | Light kit panel | 1 |
| I | Lamp | 1 |
| J | Decorative canopy bottom cover | 1 |
| K | Acrylic cover | 1 |
| L | Metal cap | 1 |
| M | Remote control | 1 |
| N | Remote control holder | 1 |
| O | Battery CR2032 | 1 |
Installation
MOUNTING OPTIONS
To reduce the risk of fire, electric shock, or personal injury, mount to outlet box marked “acceptable for fan support of 15.9 Kg (35 lbs) or less” using the screws provided with the outlet box. An outlet box commonly used for the support of lighting fixtures not be acceptable for fan support and may need to be may replaced. If in doubt, consult a qualified electrician.
If your ceiling fan does not have an existing UL-listed mounting box, then install one using the following instructions:
- Disconnect the power by removing the fuses or turning off the circuit breakers.
- Secure the outlet box directly to the building structure. Use the appropriate fasteners and materials. The outlet box and its bracing must be able to fully support the weight of the moving fan (at least 15.9 kg). Do not use a plastic outlet box.
The illustrations below show three different ways to mount the outlet box.


NOTE: You may need a longer downrod to maintain proper blade clearance when installing on a steep, sloped ceiling. The maximum angle allowable is 23° away from horizontal.
If the canopy touches the downrod, then remove the decorative canopy bottom cover, and turn the canopy 180° before attaching the canopy to the mounting plate.
To hang your fan where there is an existing fixture but no ceiling joist, you may need an installation hanger bar as shown above.
Assembly – Hanging the Fan
Attaching the mounting bracket to the electrical box
WARNING: To reduce the risk of fire, electric shock or personal injury, mount to outlet box marked “acceptable for fan support of 15.9 kg (35 lbs) or less” and use the screws provided with the outlet box.
- Secure the mounting bracket (B) to the ceiling outlet box with the screws and washers provided with your outlet box.

Assembling the fan
CAUTION: To ensure wobble-free operation and to avoid damage to the fan, the downrod (E) and the set screw (GG) must be completely tightened.
- Loosen the set screws (GG) in the downrod coupler until the inside of the channel is clear of the screw tip.
- Remove and save the lock pin (FF) from the downrod (E).
- Slip the coupling cover (F), canopy (C) and decorative canopy bottom cover (J) onto the downrod (E). Carefully feed the fan wires and safety cable up through the downrod (E). Thread the downrod (E) into the fan motor assembly (G) coupling. Line up the holes and replace the lock pin (FF) and the hitch pin (EE). Tighten the set screws (GG).

Attaching the fan blades
WARNING: Use of power tools for blade installation could damage the blades.
- Remove the face of the fan motor assembly (G). Discard any rubber blocks attached to these screws. The rubber blocks are installed at the factory to stabilize the motor during shipment.
- Attach the fan blades (A) to the fan motor assembly (G) by using the blade screws with spring washer (BB). Tighten blade screws (BB) securely.
- Repeat these steps for the remaining blades (A).

Installing the light kit panel
- Loosen two mounting screws (JJ) located in the “L-shaped” slots. Remove and save the mounting screw (JJ) in the round holes.
- Attach the light kit panel (H) onto the fan motor assembly (G). Align the locking slots of the light kit panel (H) with the two mounting screws (JJ) in the fan motor assembly (G). Push up to engage the slots and turn clockwise to lock in place. Install and tighten the mounting screws (JJ).

Installing the lamp
- Two wire connectors (male) are located inside the electrical switch housing and two female connectors extend from the lamp. Push them together.
- Attach the lamp (I) onto the light kit panel (H). Align the locking slots of the light kit panel (H) with the four lamp mounting screws (KK) in the light kit panel (H). Push up to engage the slots and turn clockwise to lock in place. Firmly tighten the four lamp mounting screws (KK).

Hanging the fan
- Lift the fan motor assembly (G) into position, and place the B hanger ball (D) into the mounting bracket (B). Rotate the fan motor assembly (G) until the check groove drops into the registration slot and seats firmly. The downrod (E) should not rotate if this is done correctly.
- NOTE: The half ball (D) on the end of the support rod (E) is grooved down one side. This keyway fits over the small keyway pin on the inside of the mounting bracket (B) and keeps the ceiling fan from spinning on the mounting bracket (B).

Making the electrical connections
WARNING: To avoid possible electrical shock, ensure the electricity is turned off at the circuit breaker or main fuse box before wiring.
WARNING: Check to see that all connections are tight, including the ground, and that no bare wire is visible at the wire nuts, except for the ground wire.
- Follow the steps below to connect the fan to your house supply wires. Secure the wire nuts (DD) supplied with your fan by wrapping the connections with electrical tape.
- Put the end of the cable through the holes of the crimping column and form a small loop of suitable size. Then tighten the crimping screws to lock the cable. Use a wood screw (HH) with a metal washer (II) through the cable loop and secure it at the ceiling.
ATTENTION: This steel cable is a protection device to prevent people being hurt in case the fixture drops accidentally. It must be securely installed.
- Connect the black (hot) wire from the ceiling to the black wire from the fan motor assembly (G).
- Connect the white (neutral) wire from the ceiling to the white wire from the fan motor assembly (G).
- If your outlet box (1) has a ground wire (green or bare copper), connect it to the fan ground wires; otherwise, connect the hanging ball (D) ground wire to the mounting bracket (B).
- Secure the wire connection with a plastic wire nut (DD) provided with the electrical hardware.
- After connecting the wires, spread them apart so that the green and white wires are on one side of the outlet box (1) and the black wires are on the other side. Carefully tuck the wire connections up into the outlet box (1).

Mounting the fan
WARNING: When using the standard ball/downrod mounting, the tab in the ring at the bottom of the mounting bracket must rest in the groove of the hanger ball. Failure to properly seat the tab in the groove could cause damage to the wiring.
- Loosen the canopy screw (AA) located in the “L-shaped” slots.
- Remove the canopy screw (AA) in the round hole.
- Align the locking slot of the ceiling canopy (C) with the canopy screw (AA) in the mounting bracket (B). Push up to engage the slot and turn clockwise to lock in place. Install the canopy screw (AA) previously removed. Tighten the canopy screws (AA).
- Attach the decorative canopy bottom cover (J) onto the canopy (C) and turn it clockwise to lock in the canopy (C).

Installing the acrylic cover or optional metal cap
For use with light:
- Remove and save the lampshade screws (LL) from acrylic cover (K).
- Attach the acrylic cover (K) onto the fan motor assembly (G) using the lampshade screws (LL).

For use without light:
- Remove and save the lampshade screws (LL) from metal cap (L).
- Attach the metal cap (L) onto the fan motor assembly (G) using the lampshade screws (LL).

Operation
REMOTE CONTROL OPERATING INSTRUCTIONS
Install a CR2032 battery (O) into the remote control (M). To prevent damage to the remote control, remove the battery if not used for long periods of time.
WARNING: Do not short-circuit, disassemble, heat up, connect improperly, or dispose of used batteries in fire. Do not recharge or mix batteries with used or other battery types. Immediately remove used batteries.
WARNING: Chemical Burn Hazard. Keep batteries away from children. This product contains a lithium button/coin cell battery. If a new or used lithium button/coin cell battery is swallowed or enters the body, it can cause severe internal burns and can lead to death in as little as 2 hours. Always completely secure the battery compartment. If the battery compartment does not close securely, stop using the product, remove the batteries, and keep it away from children. If you think batteries might have been swallowed or placed inside any part of the body, seek immediate medical attention.
WARNING: a) The cells shall be disposed of properly, including keeping them away from children; and b) Even used cells may cause injury.
LEARNING PROCESS
NOTE: After the AC power is on, do not press any other button on the remote control before pressing the
(ON/OFF) button. Doing so will cause the procedure to fail.
Should you desire to use another remote control (M) unit with your new fan, install one using the steps below:
- Turn the main power source off to begin the learning process.
- Return the power to the unit.
- Within 30 seconds of turning the fan’s AC power ON, press and hold the
button for 5-15 seconds to enter the learning function. A beeping sound is emitted when the pairing is complete (a beep is also emitted when a signal has been sent from the transmitter). If there is anything unusual, please turn off the power supply for 60-120 seconds and then turn it back on. Once it’s on, refer to the step above to complete the learning process.
NOTE: On start up, your ceiling fan will oscillate back and forth. This is NORMAL OPERATION for a DC ceiling fan as it goes through its calibration cycle. The fan is NOT DEFECTIVE.
- Fan
button. Press and release the
button to turn the fan off.
□ Press and hold the button for 5-15 seconds to enter the learning function.
NOTE: If you are currently using Comfort Breeze mode, pressing the button will cancel Comfort Breeze mode and resume normal fan operation.
□ Fan off. The fan memory function will store the current setting for the next time the fan is in use.
NOTE: You must turn the fan on prior to using the timer function. - Speed functions
button, increases the fan speed.
□ Pressing and releasing the button one time will increase the speed of the fan.
button, decreases the fan speed.
□ Pressing and releasing the button one time will decrease the speed of the fan.
1 speed
2 speed
3 speed
4 speed
5 speed
6 speed
- Comfort breeze

Pressing the
button will activate the Comfort Breeze mode. Alternates through speeds 1-6. - Timer
(2H, 4H, 8H)
□ Pressing the (2H/4H/8H) button will automatically turn fan off after 2, 4 or 8 hours. - Color temperature

Pressing the
button twice will change the color temperature. - Dimmer

□ Pressing the
button will increase and decrease brightness. - Fan reverse button
(Must be pushed when the fan is in operation.)
□ (Counterclockwise Direction) A downward air flow creates a cooling effect. This allows you to set your air conditioner on a higher setting without affecting your comfort.
□ (Clockwise Direction) An upward air flow moves warm air off the ceiling. This allows you to set your heating unit on a lower setting without affecting your comfort.
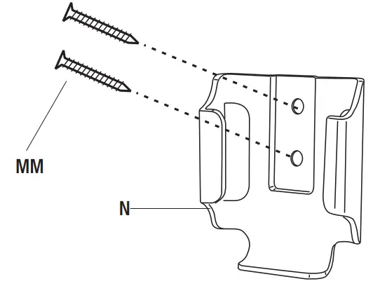
INSTALLING THE REMOTE CONTROL HOLDER
- Install the wall plug onto the wall, then attach the remote control holder (N) with the two remote control holder mounting screws (MM)

Care and Cleaning
WARNING: Make sure the power is off before cleaning your fan.
- Because of the fan’s natural movement, some connections may become loose. Check the support connections, brackets, and blade attachments twice a year. Make sure they are secure. It is not necessary to remove the fan from the ceiling.
- Clean your fan periodically to help maintain its new appearance over the years. Do not use water when cleaning, as this could damage plating is sealed with a lacquer to minimize discoloration or tarnishing.
- You can apply a light coat of furniture polish to the wood for additional protection and enhanced beauty. Cover small scratches with a light application of shoe polish.
- You do not need to oil your fan. The motor has permanently lubricated, sealed ball bearings. the motor, or possibly cause an electrical shock. Use only a soft brush or lint-free cloth to avoid scratching the finish. The
- Always unplug the fan before cleaning, disassembly or servicing.
Troubleshooting
| Problem | Solution |
| The fan will not start. |
|
| The fan is noisy. |
|
| The fan wobbles. |
|
| The fan moves backwards and forwards when turned on. |
|
IC Statement
This device contains license-exempt transmitter(s)/receiver(s) that comply with lnnovation, Science and Economic Development Canada’s license-exempt RSS(s). Operation is subject to the following two conditions:
- This device may not cause interference.
- This device must accept any interference, including interference that may cause undesired operation of the device.
Customer Support
Questions, problems, missing parts? Before returning to the store, call Gluckstein Elements Customer Service
8 a.m. – 7 p.m., EST, Monday-Friday, 9 a.m. – 6 p.m., EST, Saturday
1-833-695-2045
Retain this manual for future use.
![]()









































