Q27V5CW-BK LCD Monitor
User Manual

Safety
National Conventions
The following subsections describe notational conventions used in this document.
Notes, Cautions, and Warnings
Throughout this guide, blocks of text may be accompanied by an icon and printed in bold type or in italic type. These blocks are notes, cautions, and warnings, and they are used as follows:
NOTE: A NOTE indicates important information that helps you make better use of your computer system.
CAUTION: A CAUTION indicates either potential damage to hardware or loss of data and tells you how to avoid the problem.
WARNING: A WARNING indicates the potential for bodily harm and tells you how to avoid the problem. Some warnings may appear in alternate formats and may be unaccompanied by an icon. In such cases, the specific presentation of the warning is mandated by regulatory authority.
Power
The monitor should be operated only from the type of power source indicated on the label. If you are not sure of the type of power supplied to your home, consult your dealer or local power company.
The monitor is equipped with a three-pronged grounded plug, a plug with a third (grounding) pin. This plug will fit only into a grounded power outlet as a safety feature. If your outlet does not accommodate the three-wire plug, have an electrician install the correct outlet, or use an adapter to ground the appliance safely. Do not defeat the safety purpose ofthe grounded plug.
Unplug the unit during a lightning storm or when it will not be used for long periods of time. This will protect the monitor from damage due to power surges.
Do not overload power strips and extension cords. Overloading can result in fire or electric shock.
To ensure satisfactory operation, use the monitor only with UL listed computers which have appropriate configured receptacles marked between 100-240V AC, Min. 5A.
The wall socket shall be installed near the equipment and shall be easily accessible.
Installation
Do not place the monitor on an unstable cart, stand, tripod, bracket, or table. If the monitor falls, it can injure a person and cause serious damage to this product. Use only a cart, stand, tripod, bracket, or table recommended by the manufacturer or sold with this product. Follow the manufacturer’s instructions when installing the product and use ounting accessories recommended by the manufacturer. A product and cart combination should be moved with care.
Never push any object into the slot on the monitor cabinet. It could damage circuit parts causing a fire or electric shock. Never spill liquids on the monitor.
Do not place the front of the product on the floor.
If you mount the monitor on a wall or shelf, use a mounting kit approved by the manufacturer and follow the kit instructions.
Leave some space around the monitor as shown below. Otherwise, air-circulation may be inadequate hence overheating may cause a fire or damage to the monitor.
To avoid potential damage, for example the panel peeling from the bezel, ensure that the monitor does not tilt downward by more than -5 degrees. If the -5 degree downward tilt angle maximum is exceeded, the monitor damage will not be covered under warranty.
See below the recommended ventilation areas around the monitor when the monitor is installed on the wall or on the stand:

Cleaning
Clean the cabinet regularly with a water-dampened, soft cloth.
When cleaning use a soft cotton or microfiber cloth. The cloth should be damp and almost dry, do not allow liquid into the case.
Please disconnect the power cord before cleaning the product.

Other
If the product is emitting a strange smell, sound or smoke, disconnect the power plug IMMEDIATELY and contact aService Center.
Make sure that the ventilating openings are not blocked by a table or curtain.
Do not engage the LCD monitor in severe vibration or high impact conditions during operation.
Do not knock or drop the monitor during operation or transportation.
The power cords shall be safety approved. For Germany, it shall be H03VV-F, 3G, 0.75 mm2, or better. For other countries, the suitable types shall be used accordingly.
Excessive sound pressure from earphones and headphones can cause hearing loss. Adjustment of the equalizer tomaximum increases the earphones and headphones output voltage and therefore the sound pressure level.
Setup
Contents in Box

Not all signal cables will be provided for all countries and regions. Please check with the local dealer or AOC branch office for confirmation.
Setup Stand & Base
Please setup or remove the base following the steps as below.
Setup

Remove:

Adjusting Viewing Angle
For optimal viewing it is recommended to look at the full face of the monitor, then adjust the monitor’s angle to your own preference.
Hold the stand so you will not topple the monitor when you change the monitor’s angle.
You are able to adjust the monitor as below:

NOTE:
Do not touch the LCD screen when you change the angle. Touching the LCD screen may cause damage.
Warning:
- To avoid potential screen damage, such as panel peeling, ensure that the monitor does not tilt downward by more than -5 degrees.
- Do not press the screen while adjusting the angle of the monitor. Grasp only the bezel.
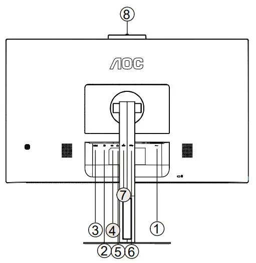
Connecting the Monitor
Cable Connections In Back of Monitor and Computer:

- Power
- DP
- HDMI
- USB-C
- Earphone
- USB3.2 Gen1
- USB3.2 Gen1+charging
- Camera
Connect to PC
- Connect the power cord to the back of the display firmly.
- Turn off your computer and unplug its power cable.
- Connect the display signal cable to the video connector on the back of your computer.
- Plug the power cord of your computer and your display into a nearby outlet.
- Turn on your computer and display. If your monitor displays an image, installation is complete. If it does not display an image, please refer Troubleshooting. To protect equipment, always turn off the PC and LCD monitor before connecting.
Connect the USB C-C/A Cable

Hello webcam
The webcam is equipped with advanced sensors for Windows Hello facial recognition, which conveniently logs you into your Windows devices in less than 2 seconds, 3 times faster than a password. How to enable Windows Hello™ webcam?
Monitor with Windows Hello webcam can be enabled by simply connecting your USB cable from your PC to the “USB C” port of this monitor. Now, the webcam with Windows Hello is ready to work as long as the Windows Hello setting in Windows10 is complete. Refer to Windows official website for the settings: https://support.microsoft.com/help/4028017/ windows-learn-about-windows-hello-and-set-it-up.
Please note that Windows 10 system is required for setting up Windows Hello: facial recognition; with an edition lower than Windows 10 or Mac OS, the webcam can work without the function of facial recognition. With Windows 7 the driver is required to activate this webcam.
Please follow the steps for the setting:
Slide the camera shutter open or close to enable/disable the camera.
Noted: Shutter only blocks the lens, to close the mic you need to close the VC software.
Wall Mounting
Preparing to Install An Optional Wall Mounting Arm.

This monitor can be attached to a wall mounting arm you purchase separately. Disconnect power before this procedure.
Follow these steps:
- Remove the base.
- Follow the manufacturer’s instructions to assemble the wall mounting arm.
- Place the wall mounting arm onto the back of the monitor. Line up the holes of the arm with the holes in the back of the monitor.
- Reconnect the cables. Refer to the user’s manual that came with the optional wall mounting arm for instructions on attaching it to the wall.
Noted: VESA mounting screw holes are not available for all models, please check with the dealer or official department of AOC.

* Display design may differ from those illustrated.
Warning:
- To avoid potential screen damage, such as panel peeling, ensure that the monitor does not tilt downward by more than -5 degrees.
- Do not press the screen while adjusting the angle of the monitor. Grasp only the bezel.
AMD FreeSync function (Available for selective models)
- AMD FreeSync function is working with DP/HDMI/USB C
- Compatible Graphics Card: Recommend list is as the below, also could be checked by visiting www.AMD.com
Graphics Cards
- Radeon™ RX Vega series
- Radeon™ RX 500 series
- Radeon™ RX 400 series
- Radeon™ R9/R7 300 series (R9 370/X, R7 370/X, R7 265 except)
- Radeon™ Pro Duo (2016)
- Radeon™ R9 Nano series
- Radeon™ R9 Fury series
- Radeon™ R9/R7 200 series (R9 270/X, R9 280/X except)
Processors
- AMD Ryzen™ 7 2700U
- AMD Ryzen™ 5 2500U
- AMD Ryzen™ 5 2400G
- AMD Ryzen™ 3 2300U
- AMD Ryzen™ 3 2200G
- AMD PRO A12-9800
- AMD PRO A12-9800E
- AMD PRO A10-9700
- AMD PRO A10-9700E
- AMD PRO A8-9600
- AMD PRO A6-9500
- AMD PRO A6-9500E
- AMD PRO A12-8870
- AMD PRO A12-8870E
- AMD PRO A10-8770
- AMD PRO A10-8770E
- AMD PRO A10-8750B
- AMD PRO A8-8650B
- AMD PRO A6-8570
- AMD PRO A6-8570E
- AMD PRO A4-8350B
- AMD A10-7890K
- AMD A10-7870K
- AMD A10-7850K
- AMD A10-7800
- AMD A10-7700K
- AMD A8-7670K
- AMD A8-7650K
- AMD A8-7600
- AMD A6-7400K
Adaptive-Sync function (Available for selective models)
- Adaptive-Sync function is working with DP/HDMI/USB C
- Compatible Graphics Card: Recommend list is as the below, also could be checked by visiting www.AMD.com
Graphics Cards
- Radeon™ RX Vega series
- Radeon™ RX 500 series
- Radeon™ RX 400 series
- Radeon™ R9/R7 300 series (R9 370/X, R7 370/X, R7 265 except)
- Radeon™ Pro Duo (2016)
- Radeon™ R9 Nano series
- Radeon™ R9 Fury series
- Radeon™ R9/R7 200 series (R9 270/X, R9 280/X except)
Processors
- AMD Ryzen™ 7 2700U
- AMD Ryzen™ 5 2500U
- AMD Ryzen™ 5 2400G
- AMD Ryzen™ 3 2300U
- AMD Ryzen™ 3 2200G
- AMD PRO A12-9800
- AMD PRO A12-9800E
- AMD PRO A10-9700
- AMD PRO A10-9700E
- AMD PRO A8-9600
- AMD PRO A6-9500
- AMD PRO A6-9500E
- AMD PRO A12-8870
- AMD PRO A12-8870E
- AMD PRO A10-8770
- AMD PRO A10-8770E
- AMD PRO A10-8750B
- AMD PRO A8-8650B
- AMD PRO A6-8570
- AMD PRO A6-8570E
- AMD PRO A4-8350B
- AMD A10-7890K
- AMD A10-7870K
- AMD A10-7850K
- AMD A10-7800
- AMD A10-7700K
- AMD A8-7670K
- AMD A8-7650K
- AMD A8-7600
- AMD A6-7400K
Adjusting
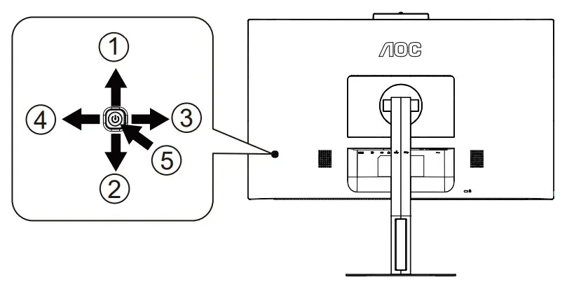
Hotkeys

| 1 | Source/Exit/Up |
| 2 | MIC/down |
| 3 | Clear Vision/Left |
| 4 | Volume/Right |
| 5 | Power/ Menu/Enter |
Menu/Enter
When there is no OSD, Press to display the OSD or confirm the selection. Press about 2 second to turn off the monitor.
Power
Press the Power button to turn on the monitor.
Volume/Right
When there is no OSD, Press Volume button to active volume adjustment bar, Press Left or Right to adjust volume.
Source/Exit
When the OSD is closed, press Source/Exit button will be Source hot key function.
MIC/down
When there is no OSD, press this button to enter MIC adjustment. Then press Left or Right button to choose off or on.
Clear Vision
- When there is no OSD, Press the “Left” button to activate Clear Vision.
- Use the “Left” or “Right” buttons to select between weak, medium, strong, or off settings. Default setting is always “off”.

- Press and hold “Left” button for 5 seconds to activate the Clear Vision Demo, and a message of “Clear Vision Demo: on” will be display on the screen for a duration of 5 seconds. Press and hold “Left” button for 5 seconds again, Clear Vision Demo will be off.

Clear Vision function provides the best image viewing experience by converting low resolution and blurry images into clear and vivid images.
| Clear Vision | Off | Adjust the Clear Vision |
| Weak | ||
| Medium | ||
| Strong | ||
| Clear Vision Demo | On or Off | Disable or Enable Demo |
OSD Setting
Basic and simple instruction on the control keys.

- Press the MENU-button to activate the OSD window.
- Press Left or Right to navigate through the functions. Once the desired function is highlighted, press the MENUbutton to activate it, press Left or Right to navigate through the sub-menu functions. Once the desired function is highlighted, press MENU-button to activate it.
- Press Left or Right to change the settings of the selected function. Press Exit–button to exit. If you want to adjust any other function, repeat steps 2-3.
- OSD Lock/Unlock Function: To lock or unlock the OSD, press and hold the Down–button for 10s while OSD function is not active.
Notes:
- If the product has only one signal input, the item of “Input Select” is disable to adjust.
- ECO modes (except Standard mode), Clear vision, DCR, DCB mode and Picture Boost, for these states that only one state can exist.
Luminance

| Contrast | 0-100 | Contrast from Digital-register. | ||
| Brightness | 0-100 | Backlight Adjustment | ||
| Eco mode | Standard | Standard Mode | ||
| Text | Text Mode | |||
| Internet | Internet Mode | |||
| Game | Game Mode | |||
| Movie | Movie Mode | |||
| Sports | Sports Mode | |||
| Reading | Reading Mode | |||
| Gamma | Gamma1 | Adjust to Gamma 1 | ||
| Gamma2 | Adjust to Gamma 2 | |||
| Gamma3 | Adjust to Gamma 3 | |||
| DCR | Off | Disable dynamic contrast ratio | ||
| On | Enable dynamic contrast ratio | |||
| HDR | Off / DisplayHDR / HDR Picture / HDR Movie / HDR Game | Disable or Enable HDR | ||
| HDR Mode | Off / HDR Picture / HDR Movie / HDR Game | Disable or Enable HDR Mode | ||
Note:
When HDR is detected, the HDR option is displayed for adjustment; when HDR is not detected, the HDR Mode option is displayed for adjustment.
Color Setup

| Color Temp. | Warm | Recall Warm Color Temperature from EEPROM. | ||
| Normal | Recall Normal Color Temperature from EEPROM. | |||
| Cool | Recall Cool Color Temperature from EEPROM. | |||
| sRGB | Recall SRGB Color Temperature from EEPROM. | |||
| User | Red | Red Gain from Digital-register | ||
| Green | Green Gain Digital-register. | |||
| Blue | Blue Gain from Digital-register | |||
| DCB Mode | Full Enhance | on or off | Disable or Enable Full Enhance Mode | |
| Nature Skin | on or off | Disable or Enable Nature Skin Mode | ||
| Green Field | on or off | Disable or Enable Green Field Mode | ||
| Sky-blue | on or off | Disable or Enable Sky-blue Mode | ||
| Auto Detect | on or off | Disable or Enable AutoDetect Mode | ||
| OFF | on or off | Disable or Enable DCB Mode | ||
| DCB Demo | on or off | Disable or Enable Demo | ||
| Red | 0-100 | Red gain from Digital-register. | ||
| Green | 0-100 | Green gain from Digital-register. | ||
| Blue | 0-100 | Blue gain from Digital-register. | ||
| LowBlue Mode | Reading / Office / Internet / Multimedia / Off | on or off | Decrease blue light wave by controlling color temperature. |
Picture Boost

| Bright Frame | on or off | Disable or Enable Bright Frame | |
| Frame Size | 14-100 | Adjust Frame Size | |
| Brightness | 0-100 | Adjust Frame Brightness | |
| Contrast | 0-100 | Adjust Frame Contrast | |
| H. position | 0-100 | Adjust Frame horizontal Position | |
| V. position | 0-100 | Adjust Frame vertical Position |
Note: Adjust the brightness, contrast, and position of the Bright Frame for better viewing experience.
OSD Setup

| Language | Select the OSD language | ||
| Timeout | 5-120 | Adjust the OSD Timeout | |
| DP Capability | 1.1/1.2/1.4 | Please be noted that only DP1.2/1.4 support Adaptive- Sync/AMD FreeSync function | |
| H. Position | 0-100 | Adjust the horizontal position of OSD | |
| V. Position | 0-100 | Adjust the vertical position of OSD | |
| USB | on or off | For model need to turn on/off USB power during power saving | |
| Transparence | 0-100 | Adjust the transparence of OSD | |
| Break Reminder | on or off | Break reminder if the user continuously work for more than 1hrs |
Game Setting

| Game Mode | FPS | For playing FPS (First Person Shooters) games. Improves dark theme black level details. | |
| RTS | For playing RTS (Real Time Strategy). Improves the image quality. | ||
| Racing | For playing Racing games, Provides fastest response time and high color saturation. | ||
| Gamer 1 | User’s preference settings saved as Gamer 1. | ||
| Gamer 2 | User’s preference settings saved as Gamer 2. | ||
| Gamer 3 | User’s preference settings saved as Gamer 3. | ||
| off | No optimization by Smart image game | ||
| Shadow Control | 0-100 | Shadow Control Default is 50, then end-user can adjust from 50 to 100 or 0 to increase contrast for clear picture. 1. If picture is too dark to be saw the detail clearly, adjusting from 50 to100 for clear picture. 2. If picture is too white to be saw the detail clearly, adjusting from 50 to0 for clear picture | |
| Low Input Lag | On/Off | Turn off frame buffer to decrease input lag | |
| Overdrive | Weak | Adjust the response time. | |
| Medium | |||
| Strong | |||
| Off | |||
| Game Color | 0-20 | Game Color will provide 0-20 level for adjusting saturation to get better picture. | |
| MBR | 0 ~ 20 | Adjust the Motion Blur Reduction. | |
| Dial Point | On/Off | The“Dial Point”function places an aiming indicator in the center of screen for helping gamers to play First Person Shooter (FPS) games with an accurate and precise aiming. | |
| Adaptive-Sync/ AMD FreeSync (Available for selective models) | On/Off | Adjust the Adaptive-Sync/AMD FreeSync. | |
| Frame Counter | Off / Right-up / Right-Down / Left- Down / Left-Up | Display V frequency on the corner selected |
Extra

| Input Select | Select Input Signal Source | ||
| Off timer | 0-24hrs | Select DC off time | |
| Image Ratio | Wide | Select image ratio for display. | |
| 4:3 | |||
| 1:1 | |||
| Movie1 | |||
| Movie2 | |||
| DDC/CI | yes or no | Turn ON/OFF DDC/CI Support | |
| Reset | yes or no | Reset the menu to default. (ENERGY STAR® available for selective models.) | |
| ENERGY STAR® or no |
Exit

| Exit | Exit the main OSD |
LED Indicator
| Status | LED Color |
| Full Power Mode | White |
| Active-off Mode | Orange |
Troubleshoot
| Problem & Question | Possible Solutions |
| Power LED Is Not ON | Make sure the power button is ON and the Power Cord is properly connected to a grounded power outlet and to the monitor. |
| No images on the screen | Is the power cord connected properly? Check the power cord connection and power supply. Is the video cable connected correctly? (Connected using the VGA cable) Check the VGA cable connection. (Connected using the HDMI cable) Check the HDMI cable connection. (Connected using the DP cable) Check the DP cable connection. * VGA/HDMI/DP input is not available on every model. If the power is on, reboot the computer to see the initial screen (the login screen.) If the initial screen (the login screen) appears, boot the computer in the applicable mode (the safe mode for Windows 7/8/10) and then change the frequency of the video card. (Refer to the Setting the Optimal Resolution) If the initial screen (the login screen) does not appear, contact the Service Center or your dealer. Can you see “Input Not Supported” on the screen? You can see this message when the signal from the video card exceeds the maximum resolution and frequency that the monitor can handle properly. Adjust the maximum resolution and frequency that the monitor can handle properly. Make sure the AOC Monitor Drivers are installed. |
| Picture Is Fuzzy & Has Ghosting Shadowing Problem | Adjust the Contrast and Brightness Controls. Press hot-key (AUTO) to auto-adjust. Make sure you are not using an extension cable or switch box. We recommend plugging the monitor directly to the video card output connector on the back. |
| Picture Bounces, Flickers Or Wave Pattern Appears In The Picture | Move electrical devices that may cause electrical interference as far away from the monitor as possible. Use the maximum refresh rate your monitor is capable of at the resolution you are using. |
| Monitor Is Stuck In Active Off- Mode” | The Computer Power Switch should be in the ON position. The Computer Video Card should be snugly fitted in its slot. Make sure the monitor’s video cable is properly connected to the computer. Inspect the monitor’s video cable and make sure no pin is bent. Make sure your computer is operational by hitting the CAPS LOCK key on the keyboard while observing the CAPS LOCK LED. The LED should either turn ON or OFF after hitting the CAPS LOCK key. |
| Missing one of the primary colors (RED, GREEN, or BLUE) | Inspect the monitor’s video cable and make sure that no pin is damaged. Make sure the monitor’s video cable is properly connected to the computer. |
| Screen image is not centered or sized properly | Adjust H-Position and V-Position or press hot-key (AUTO). |
| Picture has color defects (white does not look white) | Adjust RGB color or select desired color temperature. |
| Horizontal or vertical disturbances on the screen | Use Windows 7/8/10 shut-down mode to adjust CLOCK and FOCUS. Press hot-key (AUTO) to auto-adjust. |
| Regulation & Service | Please refer to Regulation & Service Information which is in the CD manual or www.aoc.com (to find the model you purchase in your country and to find Regulation & Service Information in Support page. |
Specification
General Specification
| Panel | Model name | Q27V5CW/BK | ||
| Driving system | TFT Color LCD | |||
| Viewable Image Size | 68.5 cm diagonal | |||
| Pixel pitch | 0.2331mm(H) x 0.2331mm(V) | |||
| Display Color | 16.7M Colors | |||
| Others | Horizontal scan range | 30k-140kHz (HDMI) 30k-114kHz (DP/USB C) | ||
| Horizontal scan Size(Maximum) | 596.736mm | |||
| Vertical scan range | 48-75Hz | |||
| Vertical Scan Size(Maximum) | 335.664mm | |||
| Optimal preset resolution | 2560×1440@60Hz | |||
| Max resolution | 2560×1440@75Hz | |||
| Plug & Play | VESA DDC2B/CI | |||
| Power Source | 100-240V~, 50/60Hz, 1.5A | |||
| Power Consumption | Typical(default brightness and contrast) | 40W | ||
| Max. (brightness = 100, contrast =100) | ≤ 160W | |||
| Standby mode | ≤ 0.5W | |||
| PhysicalCharacteristics | Connector Type | HDMI/DP/USB C/USB×2/Earphone | ||
| Signal Cable Type | Detachable | |||
| Environmental | Temperature | Operating | 0°~ 40° | |
| Non-Operating | -25°~ 55° | |||
| Humidity | Operating | 10% ~ 85% (non-condensing) | ||
| Non-Operating | 5% ~ 93% (non-condensing) | |||
| Altitude | Operating | 0~ 5000 m (0~ 16404ft ) | ||
| Non-Operating | 0~ 12192m (0~ 40000ft ) | |||
https://eprel.ec.europa.eu/qr/1209390
Preset Display Modes
| STANDARD | RESOLUTION | HORIZONTAL FREQUENCY(kHz) | VERTICAL FREQUENCY(Hz) |
| VGA | 640×480@60Hz | 31.469 | 59.94 |
| 640×480@72Hz | 37.861 | 72.809 | |
| 640×480@75Hz | 37.5 | 75 | |
| SVGA | 800×600@56Hz | 35.156 | 56.25 |
| 800×600@60Hz | 37.879 | 60.317 | |
| 800×600@72Hz | 48.077 | 72.188 | |
| 800×600@75Hz | 46.875 | 75 | |
| XGA | 1024×768@60Hz | 48.363 | 60.004 |
| 1024×768@70Hz | 56.476 | 70.069 | |
| 1024×768@75Hz | 60.023 | 75.029 | |
| SXGA | 1280×1024@60Hz | 63.981 | 60.02 |
| 1280×1024@75Hz | 79.976 | 75.025 | |
| WXGA+ | 1440×900@60Hz | 55.935 | 59.887 |
| 1440×900@60Hz | 55.469 | 59.901 | |
| WSXGA | 1680×1050@60Hz | 65.29 | 59.954 |
| 1680×1050@60Hz | 64.674 | 59.883 | |
| FHD | 1920×1080@60Hz | 67.5 | 60 |
| QHD | 2560×1440@60Hz | 88.787 | 59.951 |
| QHD | 2560×1440@75Hz | 66.636 | 74.968 |
| IBM MODES | |||
| DOS | 720×400@70Hz | 31.469 | 70.087 |
| MAC MODES | |||
| VGA | 640×480@67Hz | 35 | 66.667 |
| SVGA | 832×624@75Hz | 49.725 | 74.551 |
| XGA | 1024×768@75Hz | 60.241 | 74.927 |
Pin Assignments

19-Pin Color Display Signal Cable
| Pin No. | Signal Name | Pin No. | Signal Name | Pin No. | Signal Name |
| 1. | TMDS Data 2+ | 9. | TMDS Data 0- | 17. | DDC/CEC Ground |
| 2. | TMDS Data 2 Shield | 10. | TMDS Clock + | 18. | +5V Power |
| 3. | TMDS Data 2- | 11. | TMDS Clock Shield | 19. | Hot Plug Detect |
| 4. | TMDS Data 1+ | 12. | TMDS Clock- | ||
| 5. | TMDS Data 1Shield | 13. | CEC | ||
| 6. | TMDS Data 1- | 14. | Reserved (N.C. on device) | ||
| 7. | TMDS Data 0+ | 15. | SCL | ||
| 8. | TMDS Data 0 Shield | 16. | SDA |

20-Pin Color Display Signal Cable
| Pin No. | Signal Name | Pin No. | Signal Name |
| 1 | ML_Lane 3 (n) | 11 | GND |
| 2 | GND | 12 | ML_Lane 0 (p) |
| 3 | ML_Lane 3 (p) | 13 | CONFIG1 |
| 4 | ML_Lane 2 (n) | 14 | CONFIG2 |
| 5 | GND | 15 | AUX_CH(p) |
| 6 | ML_Lane 2 (p) | 16 | GND |
| 7 | ML_Lane 1 (n) | 17 | AUX_CH(n) |
| 8 | GND | 18 | Hot Plug Detect |
| 9 | ML_Lane 1 (p) | 19 | Return DP_PWR |
| 10 | ML_Lane 0 (n) | 20 | DP_PWR |
Plug and Play
Plug & Play DDC2B Feature
This monitor is equipped with VESA DDC2B capabilities according to the VESA DDC STANDARD. It allows the monitor to inform the host system of its identity and, depending on the level of DDC used, communicate additional information about its display capabilities.
The DDC2B is a bi-directional data channel based on the I2C protocol. The host can request EDID information over the DDC2B channel.





















