SVEN PS-192 Portable Speaker System with Bluetooth and FM-Radio

Congratulations on your purchase of the SVEN speaker system!
COPYRIGHT
© 2020. SVEN PTE. LTD. Version 1.0 (V 1.0).
This Manual and information contained in it are copyrighted. All rights reserved.
TRADEMARKS
All trademarks are the property of their legal holders.
NOTICE OF RESPONSIBILITY RESTRICTION
Despite the exerted efforts to make this Manual more exact, some discrepancies may occur. The information in this Manual is given on “as is” terms. The author and the publisher do not bear any liability to a person or an organization for loss or damage which has arisen from the information contained in this Manual.
BUYER RECOMMENDATIONS
- Unpack the device carefully. Make sure there are no accessories left in the box. Check up the device for damage; if the product was damaged during transportation, address the firm which carried out the delivery; if the product functions incorrectly, address the dealer at once.
- Check up the package contents and availability of the warranty card. Make sure the warranty card has a shop stamp, a legible signature or the seller’s stamp and pur-chase date, and the goods number corresponds to that in the warranty card. Remem-ber: in case of warranty card loss or discrepancy of numbers you forfeit the right for warranty repairs.
- Before installing and using the speaker system, read this Manual carefully and keep it for future reference.
- Shipping and transportation equipment is permitted only in the original container.
- Does not require special conditions for realization.
- Dispose of in accordance with regulations for the disposal of household and computer equipment.
APPLICATION
SVEN PS-192, PS-195 portable multimedia speaker systems with Bluetooth and FM-radio is designed for operation with PC, notebooks and other mobile devices by means of data transfer via Bluetooth protocol. It can be also used in Internet telephony, during video conferences, in multimedia applications, in interactive games, for speech recognition and foreign language teaching. FM-tuner and the player with USB-flash and micro SD-cards are included.
PACKAGE CONTENTS
- Speaker system — 1 pc
- 3.5 mm mini-jack to 3.5 mm mini-jack signal cable — 1 pc
- USB to micro USB power cable — 1 pc
- User Manual — 1 pc
- Warranty card — 1 pc
SPECIAL FEATURES
- Bluetooth wireless signal transmission
- Fast Bluetooth connection via NFC
- Wireless connection of two speakers to one source
- Built-in audio files player from USB-flash and microSD card storage devices
- Built-in FM tuner
- Wired connection
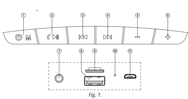
Speaker system description
- Switch mode button: Bluetooth/FM/Player/LINE (short pressing); POWER button (long pressing)
- Play/Pause (short pressing in Player and Bluetooth mode);
Mute (short pressing in Radio and LINE mode);
Disconnecting from the sound source (long pressing in Bluetooth mode); Automatic scan of radio stations (long pressing in Radio mode);
Connecting an additional speaker (long pressing) - Next track (in Player and Bluetooth mode); Next station (in Radio mode)
- Next track (in Player and Bluetooth mode); Next station (in Radio mode)
- Volume decrease
- Volume increase
- 3.5 mm mini-jack for audio signal connecting (phone, MP3 player, etc.)
- USB flash connector
- Micro SD card slot
- Indicator
- Micro USB jack for connecting speakers to the charger, the USB port of laptop/PC
CONNECTION AND OPERATION
Attention! The built-in battery must be charged completely prior to the application. Speaker system battery charging
- Connect speaker system to a USB port of PC or USB charger using micro USB to USB cable (included). When charging, the indicator j lights up in red. Indicator j goes out if the battery is charged.
- The battery is used in the speaker system as an integral part of the device, therefore do not try to extract or replace it, because this can result in the warranty cancellation or the device damage.

OPERATION MODES
Bluetooth mode
- Wireless data transfer via the Bluetooth protocol enables to connect speaker system to compatible devises. Maximum radius of action of data transfer is 10 m. Such obstacles as walls or other electronic devices can interfere with the signal transfer.
- Turn on the speakers in Bluetooth mode – press the button 1repeatedly until the іndicator10 blinks blue short.
- It is necessary to select the search mode of devices with Bluetooth on a signal source (telephone, notebook, smartphone, etc.). «SVEN PS-192/195» massage will be displayed on the screen which is to be connected to*.
- When connection is successful, there will be a short beep and the indication of the search mode on speaker system is over**.
Connecting to the speaker via Bluetooth using NFC
Attention! To connect the speaker to a smartphone, the smartphone must be equipped with an NFC chip. It must be enabled in the wireless settings. - Turn on the speakers in Bluetooth mode – press the button 1 repeatedly until the іndicator 10 blinks blue short.
- Hold the phone close to the NFC mark on the top panel and wait for a short beep to confirm a successful speaker connection.
Note. You need to allow connections on the phone (depending on the phone’s operating system).Radio mode
To improve radio reception, connect USB-micro USB cable (included) to the input 11 or signal cable to the input 7. - Turn on the speaker system – press button1 several times until, the radio mode will turn on. Long-term pressing button 2 activates auto search mode. After scanning completion, the first scanned radio station will start to operate automatically. With buttons 3 and 4 select a desired radio station.МР3 player mode
Attention! The file system of a micro SD or USB flash carrier is FAT32. Maximum volume is 32 GB. It is not recommended to use the micro SD Ultra Speed. - Insert the USB flash or micro SD carrier into appropriate slot. If the speaker system is in turned on position, the playback will start automatically. Playback/Pause modes are switched over with the help of the button 2. Tracks can be controlled by buttons 3(previous track) and d (next track).Connecting an additional speaker
It is poddible to connect an additional speaker to the model «SVEN PS-192/195» (Bluetooth mode only):
Attention! Before connecting an additional speaker, disconnect both speaker from signal source.
* You might have to enter «0000» code to connect some models of devices via Bluetooth. ** If the item has been already registered in the device list of a source, then the second search mode activation is not obligatory. Choose the item name «SVEN PS-192/195» and the «connect» command on the source.
- Turn on both speakers (long press button 1) and select Bluetooth mode. On both speakers іndicator 10 will flash white flashes.
- On one of the speakers, press and hold button 2 until a beep sounds, then release it. The speakers will connect with each other.
Note. At the subsequent inclusion of both speakers, they will be connected automatically.The use in the wired mode (AUX) - Speaker system can be used as an external device for amplifying any audio source with a 3.5 mm output mini-jack. To do this, connect a cable 3.5 mini-jack – 3.5 mini-jack to the audio output AUX 7
TECHNICAL SPECIFICATIONS
| Parameter, measurement unit | Value |
| Frequency range, Hz | 100-20000 |
| Output power (RMS), W | 16 (2 × 8) |
| Membrane, mm | Ø 45 |
| Radius of operation Bluetooth, m | up to 10 |
| Battery capacity, mA*h | 2400 |
| Power supply | USB / 5 V |
| Weight, g | 850 |
| Dimensions, mm | 238 × 76 × 84 |
Notes:
- Technical specifications given in this table are supplemental information and cannot give occasion to claims.
- Technical specifications and package contents are subject to change without notice due to the improvement of SVEN production.





















