
Installation Instructions
MONTE
SKU# 011041, 011042, 011043
Rated Voltage 220-240V~ 50Hz
Thank you for purchasing this quality Lucci product. To ensure correct function and safety, please read and follow all instructions carefully before using the product. Please keep the instructions for future reference.
Warranty
- This light fitting is covered by a 12-month warranty; please retain the proof of purchase and evidence of installation by a licensed electrician. The warranty is from the date of purchase, not the date of installation.
- Warranty will be void if there is any damage due to improper usage or modification to the fitting.
- Failure to comply with the instructions in this manual may increase the risk of damage or injury and will void the warranty.
Installation requirements
- Must be installed by a licensed electrician.
- All wiring and installation of the light fitting must adhere to local and national wiring rules. eg. AS/NZS 3000:2007/Amendment 2:2012 Electrical installations.
- Select a suitable location for installation;
– This product is suitable for indoor use only.
– Ensure the fitting is not installed next to any air vents and is not in any moist or damp areas.
– The mounting point must support 2 times the weight of the fitting. - Do not exceed the maximum wattage rating.
- Take care not to pull any electrical wires during unpacking as this may damage the connection.
- Layout all the components on a smooth surface and make sure there are no components missing before assembling.
If parts are missing, return the complete product to the place of purchase for inspection or replacement. - Check whether the fitting has been damaged during transport. Do not operate/install any product which appears damaged in any way. Return the complete product to the place of purchase for inspection, repair or replacement.
- Ensure power to the circuit you are working on has been switched OFF before commencing any electrical work.
Installation directions
- Remove all packaging material from the product and be careful not to throw away accessories that may be hidden within the packaging material.
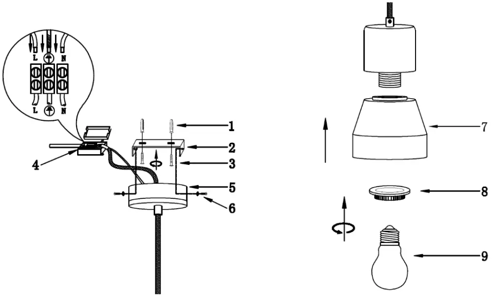
- Remove the mounting bracket (2) from the canopy (5) by loosening the screws (6) on each side.
- Use the mounting bracket (2) as a template to mark the screw positions on the ceiling.
- Install the mounting bracket (2) onto the ceiling by using appropriately sized mounting screws (3) and anchors (1).
- Ensure the screws (3) and anchors (1) used are suitable for the mounting surface.
- Remove the cover from the terminal block (4) and connect the main supply wire.
Mains Supply Wire Fitting Wire Earth – Yellow/Green
(Yellow/Green)Neutral – Blue or Black N (Blue) Live – Brown or Red L (Brown) - Ensure the wires are secure and no bare wires are exposed.
- Install the cover back over the terminal block (4).
- Install the canopy (5) onto the mounting bracket (2) by tightening the screws (6) on the side.
- Install the lampshade (7) to the lamp holder by tightening the outer ring (8).
- Install a globe (9 – not included) into the lamp holder. Do not exceed the maximum wattage rating. Do not use an incandescent globe.

Safety tips
- Always ensure the power is OFF and the fitting has cooled down before performing any maintenance, cleaning, changing the globe or adjustment to the fitting.
- To avoid injury or damage to the fitting, ensure that power leads and screws are secure before connecting the power.
- Handle the fitting and/or shade with care to avoid any damage or breakage.
- Select a suitable location away from liquids and hazards.
- Ensure that the fitting does not come in contact with corrosive chemicals, etc.
- To clean, wipe with a damp clean cloth. Never soak the fitting with water.
Specifications | |||
| SKU # | 011041 | 011042 | 011043 |
| Rated Voltage | 220-240V~ 50Hz | ||
| Rated Wattage | Max. 45W | ||
| Lamp Holder | ES / E27 | ||
| Weight | 1.4kg | ||
| Dimensions | H:195mm Dia:130mm Susp:2000mm |

















