milwaukee M18 URSL M18 Utility Remote Spot Light

GENERAL POWER TOOL SAFETY WARNINGS
WARNING
To reduce the risk of injury, user must read and understand operator’s manual.
WARNING Read all safety warnings, instructions, illustrations and specifications provided with this power tool. Failure to follow all instructions listed below may result in electric shock, fire and/or serious injury. Save all warnings and instructions for future reference. The term “power tool” in the warnings refers to your mains-operated (corded) power tool or battery-operated (cordless) power tool.
WORK AREA SAFETY
- Keep work area clean and well lit. Cluttered or dark areas invite accidents.
- Do not operate power tools in explosive atmospheres, such as in the presence of flammable liquids, gases or dust. Power tools create sparks which may ignite the dust or fumes.
- Keep children and bystanders away while operating a power tool. Distractions can cause you to lose control.
Electrical Safety
- Power tool plugs must match the outlet. Never modify the plug in any way. Do not use any adapter plugs with earthed (grounded) power tools. Unmodified plugs and matching outlets will reduce risk of electric shock.
- Avoid body contact with earthed or grounded surfaces, such as pipes, radiators, ranges and refrigerators. There is an increased risk of electric shock if your body is earthed or grounded.
- Do not expose power tools to rain or wet conditions. Water entering a power tool will increase the risk of electric shock.
- Do not abuse the cord. Never use the cord for carrying, pulling or unplugging the power tool. Keep cord away from heat, oil, sharp edges or moving parts. Damaged or entangled cords increase the risk of electric shock.
- When operating a power tool outdoors, use an extension cord suitable for outdoor use. Use of a cord suitable for outdoor use reduces the risk of electric shock.
- If operating a power tool in a damp location is unavoidable, use a residual current device (RCD) protected supply. Use of a RCD reduces the risk of electric shock.
Personal Safety
- Stay alert, watch what you are doing and use common sense when operating a power tool. Do not use a power tool while you are tired or under the influence of drugs, alcohol or medication. A moment of inattention while operating power tools may result in serious personal injury.
- Use personal protective equipment. Always wear eye protection. Protective equipment such as a dust mask, non-skid safety shoes, hard hat or hearing protection used for appropriate conditions will reduce personal injuries.
- Prevent unintentional starting. Ensure the switch is in the off-position before connecting to power source and/or battery pack, picking up or carrying the tool. Carrying power tools with your finger on the switch or energising power tools that have the switch on invites accidents.
- Remove any adjusting key or wrench before turning the power tool on. A wrench or a key left attached to a rotating part of the power tool may result in personal injury.
- Do not overreach. Keep proper footing and balance at all times. This enables better control of the power tool in unexpected situations.
- Dress properly. Do not wear loose clothing or jewellery. Keep your hair and clothing away from moving parts. Loose clothes, jewellery or long hair can be caught in moving parts.
- If devices are provided for the connection of dust extraction and collection facilities, ensure these are connected and properly used. Use of dust collection can reduce dust-related hazards.
- Do not let familiarity gained from frequent use of tools allow you to become complacent and ignore tool safety principles. A careless action can cause severe injury within a fraction of a second.
Power Tool Use And Care
- Do not force the power tool. Use the correct power tool for your application. The correct power tool will do the job better and safer at the rate for which it was designed.
- Do not use the power tool if the switch does not turn it on and off. Any power tool that cannot be controlled with the switch is dangerous and must be repaired.
- Disconnect the plug from the power source and/ or remove the battery pack, if detachable, from the power tool before making any adjustments, changing accessories, or storing power tools. Such preventive safety measures reduce the risk of starting the power tool accidentally.
- Store idle power tools out of the reach of children and do not allow persons unfamiliar with the power tool or these instructions to operate the power tool. Power tools are dangerous in the hands of untrained users.
- Maintain power tools and accessories. Check for misalignment or binding of moving parts, breakage of parts and any other condition that may affect the power tool’s operation. If damaged, have the power tool repaired before use. Many accidents are caused by poorly maintained power
tools. - Keep cutting tools sharp and clean. Properly maintained cutting tools with sharp cutting edges are less likely to bind and are easier to control.
- Use the power tool, accessories and tool bits etc. in accordance with these instructions, taking into account the working conditions and the work to be performed. Use of the power tool for operations different from those intended could result in a hazardous situation.
- Keep handles and grasping surfaces dry, clean and free from oil and grease. Slippery handles and grasping surfaces do not allow for safe handling and control of the tool in unexpected situations.
Battery Tools Use Care
- Recharge only with the charger specified by the manufacturer. A charger that is suitable for one type of battery pack may create a risk of fire when used with another battery pack.
- Use power tools only with specifically designated battery packs. Use of any other battery packs may create a risk of injury and fire.
- When battery pack is not in use, keep it away from other metal objects, like paper clips, coins, keys, nails, screws or other small metal objects, that can make a connection from one terminal to another. Shorting the battery terminals together may cause burns or a fire.
- Under abusive conditions, liquid may be ejected from the battery; avoid contact. If contact accidentally occurs, flush with water. If liquid contacts eyes, additionally seek medical help. Liquid ejected from the battery may cause irritation or burns.
- Do not use a batted. pack or tool that is damaged or modified . Damaged or modified batteries may exhibit unpredictable behavior resulting in fire, explosion or risk of injury.
- Do not expose a battery pack or tool to fire or excessive temperature. Exposure to fire or temperature above 130°C (265°F) may cause explosion.
- Follow all charging instructions and do not charge the battery pack or tool outside the temperature range specified in the instructions. Charging improperly or at temperatures outside the specified range may damage the battery and increase the risk of fire.
SERVICE
- Have your power tool serviced by a qualified repair person using only identical replacement parts. This will ensure that the safety of the power tool is maintained.
- Never service damaged battery packs. Service of battery packs should only be performed by the manufacturer or authorised service providers.
SPECIFIC SAFETY RULES FOR SEARCH LIGHT
- Do not use magnet for horizontal overhead mounting.
- This light should not be illuminated while driving on public roads except when authorised for emergency situations. Check local motor vehicle and traffic regulations for your area of operation.
- Always use common sense and be cautious when using tools. It is not possible to anticipate every situation that could result in a dangerous outcome. Do not use this tool if you do not understand these operating instructions or you feel the work is beyond your capability; contact MILWAUKEE® Tool or a trained professional for additional information or training.
- Maintain labels and nameplates. These carry important information. If unreadable or missing, contact a MILWAUKEE® service facility for a replacement.
Additional Battery Safety Rules
To Reduce the risk of fire personal injury, and product damage due to a short circuit, never immerse your tool, battery pack or charger in fluid or allow a fluid to flow inside them. Corrosive or conductive fluids, such as seawater, certain industrial chemicals, and bleach or bleach-containing products, etc. , can cause a short circuit.
Specification
Cat. No ………………………………………….. M18 URSL
Ingress Protection ……………… .. … ………………… IP54
Input (M 18 Battery) ……………….. . .. … 18V DC, 3.6A
Input (Permanent Base) …….. … ………. 12V DC, 5.4A
Recommended Ambient
Operating Temperature … -17°C to 51 °C
M18™ Portable Base ………………………. 49162123
Battery Type .. .. ……………… ….. .. .. .. .. .. .. .. ……. M18™
Charger Type ………………………… .. ……………. M18™
DC Input Volts …………………….. .. .. .. ……………… 18 V
12V DC Permanent Base ……………….. 49162123P
Fuse.. ……. …………………… .. ……………… 10A
DC Input Volts ……………… ……… .. ………………….. 12V
Remote ………………………………………… 49162123R
Battery Type …….. .. ……… … …… …. .. . .. …. ……….. AAA
Symbiology
V | Volts |
⎓ | Direct Current |
![]() | Time-lag fuse 1 DA |
![]() | Read operator’s manual |
![]() | Do not stare at operating light source |
![]() | Class III appliance |
![]() | Regulatory Compliance Mark (RCM). This product meets applicable regulatory requirements. |
![]() | Do not dispose of electric tools together with household waste material. Electric tools and electronic equipment that have reached the end of their life must be collected separately and returned to an environmentally compatible recycling facility. |
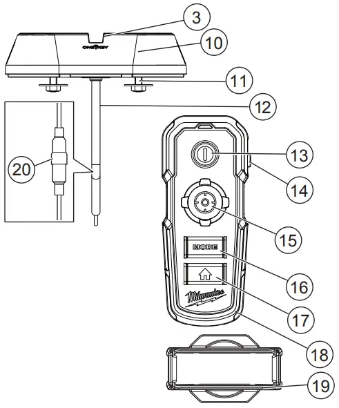
FUNCTIONAL DESCRIETION
- Light head
- Hex screw
- ONE-KEY™ indicator
- Mode button
- Home Button
- Power Button
- Portable base
- Battery compartment latches
- Battery door
- 12V DC Permanent base
- Mounting accessories
- Power leads with 10A fuse (12 V vehicle wiring)
- Remote light power button
- Remote light on/off switch
- Remote joystick
- Remote mode button
- Home button
- Lanyard (not shown)
- Remote dash mount
- In-line fuse



ASSEMBLY
WARNING Recharge only with the charger specified for the battery. For specific charging instructions, read the operator’s manual supplied with your charger and battery
Inserting/Removing the Battery
To insert the battery, lift the battery door latches and open the battery door. Slide the battery pack into the body of the tool. Make sure it latches securely into place. Close the battery door and reach the door latches securely.
WARNING Only use accessories specifically recommended for this tool. Others may be hazardous.
To remove the battery, lift the battery door latches and open the battery door. Push in the battery release buttons and pull the battery pack away from the tool. Close the battery door and rematch the door latches securely.
WARNING Always remove battery pack before changing or removing accessories.
Installing the portable/permanent base
The light head can either be mounted to the M 18 18 V DC for table base or the 12 V DC permanent base. I the permanent base is used, the light head is removed from the portable base by removing the hex screw (see diagram) using the hex key provided. If the light head is to be removed from the permanent base and used on the portable base then the same method is used.
Portable Light
To mount the portable base:
Select the best location on your vehicle for the magnetic mount. Make sure the metal area under the magnetic base is flat and clean to ensure a strong bond.
Excessive force will break the magnet free. The light should be removed from a vehicle’s exterior while traveling and in strong wind conditions. Do not use magnet for horizontal overhead mounting.
The portable base features a screw hole (M6) that must be used to secure the light head to the portable base.
Fixed light with 12 V permanent base
Installing the permanent base:
The base should be installed according to the vehicle manufacturer’s specifications by a qualified technician . Drilling holes in certain structural areas, or wiring incorrectly, could compromise the safety of the vehicle.
- Arrange the base on the desired location. Make sure it is on a clean, dry surface.
- Mount the base to the location using four 6.35 mm (1/4″) bolts.
- Connect to the vehicle’s wiring per the manufacturer’s wiring schematic.
Attach the light head to the mounted base and secure it by using the hex screw and hex key provided, ensuring the hex screw is securely tightened.
WARNING Inspect the mounting bolts and hex screw daily during the required daily vehicle inspection. If any of the screws are not secured, the light could detach from the base, or the base from the vehicle. A light that detaches from the base or vehicle while the vehicle is in motion is a road hazard and could cause serious injury or death to others.
Replacing Permanent Base Fuse
To replace in-line fuse in wiring of fixed base, unscrew fuse holder and remove old fuse. Replace with correctly rated fuse (see “Specifications” table for details). Re-connect fuse holder by securely screwing the two halves together.
Attaching the Remote Dash Mount
WARNING To reduce the risk of serious injurie or death, install the remote dash mount away from vehicle functions and safety features, such as air bags.
Air bag deployment could cause the remote to become a projectile.
Make sure the surface is clean and dry before attaching.
To attach, peel the protective layer from the back of the remote dash mount. Place the mount on the desired surface. Let the mount cure for 24 hours before removing the remote from mount.
ONE-KEY™
To learn more about the ONE-KEY™ functionality for this tool, go to milwaukeetool.com/One-Key. To download the ONE-KEY™ app, visit the App Store or Google Play from your smart device.
ONE-KEY™ Indicator | |
| Solid Blue | Wireless mode is active and ready to be configured via the ONE-KEY™ app. |
| Blinking Blue | Tool is actively communicating with the ONE-KEY™ app. |
| Blinking Red | Tool is in security lockout and can be unlocked by the owner via the ONE-KEY™ app. |
OPRATION
WARNING To reduce the risk of injuria, do not look directly into the Light when the light is ON
To turn ON the light, press the Power button
.
To turn OFF the light, press the Power button again
.
To turn ON the remote , turn the Remote on/off switch ON.
Press the MODE button to cycle through spot, flood low, and flood high light settings.
To rotate the light, use the remote joystick © .
To adjust the Speed of rotation, click down on the remote joystick © .
To return the light to the hom7′-flosition, press and hold the remote home button
for two seconds.
MAINTENANCE
WARNING To reduce the risk of injury, always unplug the charger and remove the battery pack from the charger or tool before performing any maintenance. Never disassemble the tool, battery pack or charger. Contact a MILWAUKEE® service facility for ALL repairs.
Maintaining Tool
Keep your tool, battery pack and charger in good repair by adopting a regular maintenance program. Inspect your tool for issues such as undue noise, misalignment or binding of moving parts, breakage of parts, or any other condition that may affect the tool operation. Return the tool, battery pack, and charger to a MILWAUKEE® service facility for repair.
After six months to one year, depending on use, return the tool, battery pack and charger to a MILWAUKEE® service facility for inspection.
If the tool does not start or operate at full power with a fully charged battery pack, clean the contacts on the battery pack. If the tool still does not work properly, return the tool, charger and battery pack, to a MILWAUKEE® service facility for repairs.
NOTE: Terminal block is not included
WARNING luminaire shall only be replaced by The light source contained in this the manufacturer or his service agent or a similar qualified person.
WARNING The luminaire should be positioned so that prolonged staring into the luminaire at a distance closer than 10 m is not expected.
ONE-KEY™
CAUTION Do not ingest battery.
WARNING Chemical Burn Hazard. This device contains a lithium button/coin cell battery. A new or used battery can cause severe internal burns and lead to death in as little as 2 hours if swallowed or enters the body. Always secure the battery cover. If it does not close securely, stop using the device, remove the batteries, and keep it away from children. If you think batteries may have been swallowed or entered the body, seek immediate medical attention.
Internal Battery
An internal battery is used to facilitate full ONE-KEY™ functionality. The internal battery is located on the bottom of the light head.
To replace the battery:
- Remove the light head from the base.
- Remove the screw and open the battery door.
- Remove the old battery, keep it away from children, and dispose of it properly.
- Insert the new battery (3V CR2032), with the positive side facing up.
- Close the battery door and tighten the screw securely.
Pairing a New Remote
- Attach the light head to a base that is connected to power. Do not turn on light.
- Remove the four screws on the left rotation plate of the light head. Remove the plate from the light head.
- Press and hold the pairing button on the light head. Turn on the remote and push up on the remote joystick and hold. Once paired, the light will blink three times. The new remote is now connected.
- Reinsert the left rotation plate to the light head using the four screws.


Changing the Remote Batteries
- On the remote’s backside, unscrew the single screw and lift the battery lid to expose the batteries.
- Replace with AAA batteries.
- Place the battery lid back onto remote and screw securely.
Cleaning
Clean dust and debris from any vents. Keep tool clean, dry and free of oil or grease. Use only mild soap and a damp cloth to clean, since certain cleaning agents and solvents are harmful to plastics and other insulated parts. Some of these include gasoline, turpentine, lacquer thinner, paint thinner, chlorinated cleaning solvents, ammonia and household detergents containing ammonia Never use flammable or combustible solvents around tools.
Repairs
For repairs, return the tool, battery pack and charger to the nearest authorised service centre.
ACCESSORIES
WARNING Use only recommended accessories. Others may be hazardous. For a complete listing of accessories, go online to milwaukeetool.com.au / milwaukeetool.co.nz or contact a distributor.
WARRANTY – AUSTRALIA and NEW ZEALAND
Please refer to Australian and New Zealand warranty supplied with tool. This warranty applies only to product sold by authorised dealers in Australia and New Zealand.
SERVICE – AUSTRALIA and NEW ZEALAND
MILWAUKEE® prides itself in producing a premium quality product that is Nothing But Heavy Duty TM. Your satisfaction with our products is very important to us! If you encounter any problems with the operation of this tool, please contact your authorised MILWAUKEE® dealer. For a list of MILWAUKEE® dealers, guarantee or service agents please contact MILWAUKEE®
Customer Service or visit our website.
(Australia Toll Free Telephone Number 1300 645 928)
(New Zealand Toll Free Telephone Number 0800 645 928)
or visit milwaukeetool.com.au/milwaukeetool.co.nz.






























