My Green Lighting BRA-LZ-65277 Table Light

Safety Warnings
- These instructions are for your safety. Please read through them thoroughly before use and retain them for future reference. If you are in any doubt about installing this product, consult a qualified electrician.
- This product is only suitable for connection to a 220-240V~ 50Hz supply. It is for indoor use only, and not suitable for a bathroom location.
- This is a Class l product and must be Earthed. The terminal blocks are supplied according to requirements
of the fitting. - Do not attempt to plug in or use this product until it has been fully assembled. Disconnect from mains during assembly or maintenance. this product must be used on a stable, flat surface.
- Under no circumstances must this lamp be covered with any material as this could pose a safety hazard.
- This product is not suitable for persons under 14 years of age.
- This product may contain delicate parts – be careful during handling and maintenance to avoid breakage.
- The lamp must be protected by a 3 amp fuse in the mains plug.
- Never fit bulbs of a higher wattage than those specified on the label as these may damage the fitting.
- Never put anything on the product or hang anything on any part of this product.
- If the external flexible cable or cord of this luminaire is damaged, it must only be replaced by a qualified electrician to avoid any electrical hazards.
- Waste electrical products should not be disposed of with household waste. Please recycle where facilities exist. Check with your Local Authority or local store for recycling advice.
Care and maintenance
- For bulb replacement, switch off the product (preferably, isolate it at the distribution board) and allow it to cool down (Caution: bulb gets hot during use).
- Clean with a dry cloth only. Do not use liquid or abrasive cleaners on this product.
Troubleshooting
When the bulb does not light after installation:
- Please plug in and operate the switch to turn your lamp on.
- Please check the bulb.
- Please check the 3 amp fuse in the plug and ultimately check the relevant fuse in your fuse box.
If you have any doubt about installation/use of this product, consult a qualified electrician.
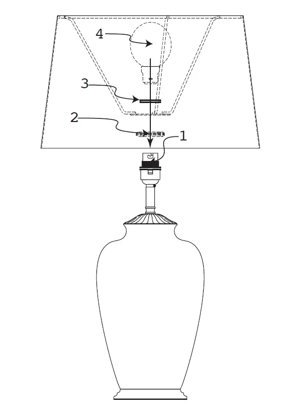
Assembly Instructions
Base style may vary. Shade/Bulb be ordered separately.
Scan QR code for multi-language



















