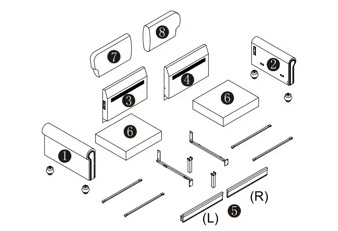
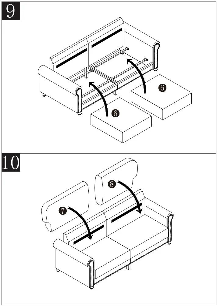
UNBRANDED H817-LS-0021 Gray Polyester 2-Seater Loveseats Instruction Manual










UNBRANDED H817-LS-0021 Gray Polyester 2-Seater Loveseats Instruction Manual










Download manual
Here you can download full pdf version of manual, it may contain additional safety instructions, warranty information, FCC rules, etc.