INFINITY B09FRQKVQT PR Pro Endurance Percussion Massage Device User Manual

Thank you for choosing the Infinity PR PROTM ENDURANCE PERCUSSION MASSAGE DEVICE. Please read the User Manual carefully before using the massager. Keep this booklet in a safe place for future reference.
CAUTION: To avoid risk of injury or complications of existing medical conditions, please do not use the device, or any vibration device, without approval of your physician if you have any of the following conditions:
Pregnancy, diabetes with complications such as neuropathy or retinal damage, neuropathy, use of pace-maker or other implanted medical devices, recent surgery, sutures, epilepsy, migraines, herniated disks, spondylolisthesis, spondylolysis, spondylosis, recent joint replacements, use of IUD’s, insertion or implantation of metal pins or plates, recent muscle, tendon, or ligament injury, or any other concerns about your physical health. If any of the listed conditions apply to you, this does not mean that you cannot use this or any other vibration or exercise device, but you should consult a doctor before using to determine whether you can safely use the device and obtain guidelines for appropriate use to avoid injury or worsening of your condition.
Practical experience has shown that integration of vibration exercise may be incorporated into a treatment plan for certain conditions. Such use must be done only on the advice of a doctor, physical therapist, or other qualified medical professional.

Caution: To avoid injury, do not start device without massage head in place. Do not touch massage head connection point if device is powered on with no massage head attached.
Caution: To avoid injury, keep hands, fingers and hair away from area where massage head is attached to connection point when starting or operating device.
CAUTION: IMPORTANT SAFETY INSTRUCTIONS PLEASE READ AND FOLLOW ALL INSTRUCTIONS. IMPROPER USE COULD RESULT IN BODILY INJURY OR DAMAGE TO DEVICE.
– For use by healthy adults only. Frail individuals should use device only with assistance.
– Do not use device on injured areas. Muscle injuries can occur if used for muscle recovery or on injured tissue. Please consult your doctor before using this device for treatment of or recovery from injuries.
– To avoid possible irritation or discomfort, use only on dry and clean surface of the body over clothing by lightly pressing and moving across the body for approximately 60 seconds per region.
– Use this device only on the body’s external soft tissues, using a speed setting and amount of pressure that does not produce pain, irritation, or discomfort. Do not use on head or any hard or bony area of the body.
– Do not use in areas where there is bruising, pain or any discomfort.
– Keep fingers, hair or any other body part away from the shaft and back side of the applicator to avoid pinching.
– Turn power off when installing or changing massage heads and avoid contact with massage head connection point with device powered on to avoid injury.
– To avoid pain or discomfort, and to achieve best results, carefully review descriptions of applicators and use only applicator(s) most appropriate for the desired effect and body area.
To avoid damage to device:
– Do not place any objects into the ventilation holes.
– Do not immerse in water or allow water to enter the ventilation holes.
– Do not drop, misuse or tamper with the device.
– Only recharge with supplied 24V DC charger.
– Keep away from heat sources. Keep ventilation ports free from dust and debris.
– Unplug the charger from device battery after charging.
– Check the device carefully for damage and proper functioning before each use.
LI-ION BATTERY WARNINGS
This device contains a Lithium-ion battery. The battery must be recycled or disposed of properly. Contact your local waste management office for information on battery recycling or disposal.
ENVIRONMENT PROTECTION
At the end of the service life of this product, please do not throw away. Take the device to a designated recycling station, or dispose of it in an environmentally sound way.
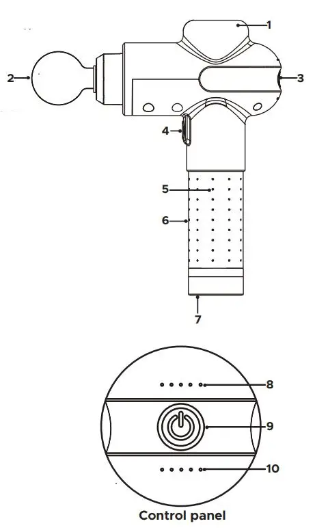
PRODUCT DESCRIPTION
- 45W brushless high-torque motor.
- Massage head connection point.
- Control Panel.
- Battery pack release button.
- Silica gel covered handle.
- Rechargeable Lithium-ion battery.
- Battery On/Off Switch & Battery Pack LED Ring: When LED ring flashing Red, the battery is below 20%; when flashing Orange, the battery is at 20-40%; when flashing Yellow, the battery is at 40-60%; when flashing Green, the battery is at 60-80%; when solid Green, the battery is at 80-100%.
- Speed indicator light: from left to right is level 1-5, White LED.
- Power Button: push button to switch on device. Once device is on, push the button to toggle through 5 speed levels. To turn device off, press and hold the power button, or cycle through all speed levels until the device stops.
- Power indicator light: after switching on, 5 lights indicate 80-100% power; 4 lights indicate 60%-80% power; 3 lights indicate 40%-60% power; 2 lights indicate 20-40% power; 1 light indicate 5-20% power; 1 flashing light indicates low power and the device

SIX REPLACEABLE MASSAGE HEADS
Installation method: Rotate the massage head gently while pulling/loading
- 11. Flat Head – Features a large, flat contact point. Great for large muscle groups, such as the calves and hamstrings allowing you to cover more surface area in less time.
- 12. Bullet Head – Features a more concentrated contact point which rein acts a thumb. Best for pinpointing specific areas of the feet or around joints.
- 13. Wedge Head – Features a long, wide contact point. Great for scraping along the upper arms, chest, shoulders, and biceps.
- 14. Dampener Head – Features a cushioning effect for users who are new to percussive therapy. Great for larger muscle regions such as the glutes, adductors, or lower back, and also more sensitive areas such as the knee.
- 15. Fork Head – Featuring a two-pronged shape, the fork head is great for getting into smaller, slimmer muscle regions such as the Achilles, IT-band, forearms, or along the spine.
- 16. Ball Head – The large round head is used for large muscle groups such as the quads, hamstrings, traps, and upper back.

REMOVING BATTERY PACK
- To remove the battery pack from the device, press in the battery pack release button located on the front of the device and twist back and forth while firmly pulling down on the battery pack until it comes out.
- To re-attach the battery pack, align the groove key on the side of the battery pack with the groove on the inside of the battery pack slot. Push the battery up firmly into the device until you hear a click sound.

CHARGING
- Fully charge battery for up to 3 hours before first use either attached or detached from the device.
- To charge, connect DC end of the supplied 24V adapter to the battery’s charging port and plug AC side cable into wall outlet.
- In Standby mode, the LED lights on the device control panel flash regularly, indicating the battery level and that it is charging. The ring on the bottom of the battery pack also flashes and changes color to indicate battery charge. If the battery switch on the bottom of the battery pack is Off, only the battery pack ring will flash from yellow to green, when battery is fully charged, battery ring will stop flashing and stays on green.
- Battery may be recharged at any time and at any battery level. Do not use this device while charging.
- One flashing light indicates low power and the battery needs to be recharged.
OPERATION
- Make sure battery switch on the bottom of the battery pack is turned on and the battery pack ring is lit indicating that the device is in standby mode. If the ring is not lit, switch off and then on again.
- Press the power button on the control panel to turn device on.
- Device will start at speed level 1. To cycle through the 5 different speed levels press the power button. When the device is at speed level 5, press the power button once more to enter standby mode (speed level 0). To restart, wait 3 seconds and then press the power button to enter speed level 1 again.
- At any time after turning on the device, press and hold the power button to enter standby mode.
- To completely turn off, slide the battery switch to off.
- If the device is left idle in standby mode for 60 minutes it will automatically turn off. To start a new session, switch the battery switch on the bottom of the battery pack off and then on again.
MAINTENANCE
A. Storage
– When not using the device, place back into provided carry case.
– For storage or travel, remove battery and store in the supplied box.
– Keep out of direct sunlight and high temperatures. Store in a cool dry place
B. Cleaning
– Unplug power cord before cleaning.
– Use a dry cloth only to spot clean the surface of the product. Avoid direct contact with water.
– Do not use corrosive cleaners such as benzene or bleach products.
SPECIFICATIONS

TROUBLESHOOTING

INFINITY TECHNICAL SUPPORT
If you have any questions about maintenance or are experience technical difficulties with your massager, please contact Infinity’s technical support team at 603-910-5000 for assistance.
PR Pro is protected by Infinity’s 1 Year Residential Limited Warranty. Refer to https://infinitymassagechairs.com/warranty-info and click on the Infinity 1 year Residential Limited Warranty tab.
All other warranties, express or implied, are specifically excluded, including implied warranties of merchantability and fitness for a particular purpose.



















