Gude GKM 6.5 ECO 3 In 1 Sweeper Instruction Manual









Please read carefully the following Operating Instructions before putting the appliance into operation
A.V. 2 Any reprints, even partial, are subject to approval. Technical changes reserved. Illustrative pictures! Translation of original operating instructions.
Do you have any technical questions? Any claim? Do you need any spare parts or operating instructions? We will quickly help you and without needless bureaucracy at our home page www.guede.com in the Service part. Please help us be able to help you. In order to be able to identify your appliance in case of claim, we need the serial No., Order No. and year of production. All this data can be found on the type label. Please enter the data below for future reference.
Serial No.:
Order No.:
Year of production:
Tel.: +49 (0) 79 04 / 700-360
Fax: +49 (0) 79 04 / 700-51999
E-Mail: [email protected]
Sighs on Unit:



Unit
Ideal for pavements, yard entries, asphalt surfaces. Can be used as a sweeper in summer and as a snow plow in winter.
Equipment: 1 forward movement and 1 backward movement, max. speed 3 km per hour, swivel and height adjustable brush, including a snow shield and dirt collection container.
Appliance supply includes (pic.1):
- 10. Engine speed lever
- 11. Guide bar
- 12. Control lever
- 13. Collection container
- 14. Snow shield
- 15. Sweeping roll
- 16. Catch pin
- 17. Binder screw
- 18. Tank lid
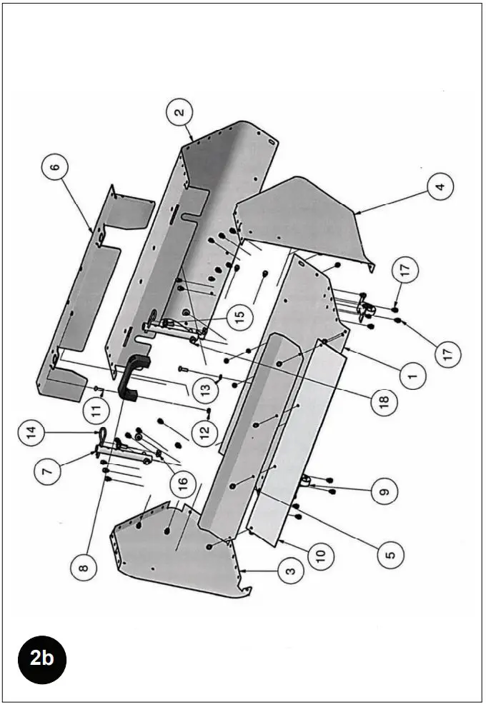
Collection container supply includes (pic.2):
- 20. Bottom
- 21. Lid
- 22. Left cover
- 23. Right cover
- 24. Internal cover
- 25. Reinforcement
- 26. Fixing pin
- 27. Handle
- 28. Wheel
- 29. Flap
- 30. M 6 x 20 screw (4 pcs)
- 31. M 6 nut (4 pcs)
- 32. 6 mm washer (4 pcs)
- 33. Flexible plug
- 34. M 8 x 20 screw (2 pcs)
- 35. M 8 lock nut (4 pcs)
- 36. M 5 x 12 screw (46 pcs)
- 37. M8 x 45 screw (2 pcs)
- 38. M 5 nut (46 pcs)
EU Declaration of Conformity
We, Güde GmbH & Co. KG Birkichstraße 6 74549 Wolpertshausen Germany hereby declare the conception and construction of the below-mentioned appliances correspond – at the type of construction being launched – to appropriate basic safety and hygienic requirements of EC Directives. In case of any change to the appliance not discussed with us the Declaration expires. Marking of appliances: GKM 6,5 ECO Order No. 16795
Date/producer signature: 17.02.2011 Signed by: Mr Arnold, Managing Director
Technical Documentation: J. Bürkle; FBL, QS
Appropriate EU Directives: 2006/42 EC 2004/108 EC 2005/88 EC 2002/88 EC Harmonised standards used: EN 709:1997+A4 Z1K 01.2-08/12/08 EN 55012:2002+A1 EN 61000-6-1:2001 EN 61000-6-3:2001+A11 EN ISO 3744:2009 Certification place: TÜV Rheinland GmbH, Am Grauen Stein, D-51105 Köln Reference No.: 17701661005
Type-Approval Number: e13*97/68SN3G2*2002/88*0155*01 Noise level: Lwa: 101 dB Vibration: 7,8 m/s²
Guarantee
The guarantee solely covers inadequacies caused by material defect or manufacturing defect. Original payment voucher with the sales date needs to be submitted for any claim in the guarantee period.
The guarantee does not cover any unauthorised use such as appliance overloading, use of violence, damage as a result of any unauthorised interference or caused by foreign items. Failing to follow the operating and assembly instructions and common wear are also not included in the guarantee.
General Safety Instructions
Instructions
- Please read carefully the Operating Instructions.
- Familiarise with the settings and appropriate use of the appliance.
- You should primarily learn to switch off the engine quickly and safely in case of emergency
- Staying in the dangerous area of the sweeper is prohibited.
- Never let children or other persons not familiarised with the Operating Instructions use the appliance.
- Local regulations may lay down minimum age of the user.
- Never sweep if there are other persons, especially children or pets, around.
- Keep in mind the operator and user are responsible for accidents involving other persons and their property.
Preparation measures:
- Solid boots and long trousers should always be worn when sweeping. Never sweep when barefooted or in light sandals.
- Check the area on which the appliance is being used and remove all items that could get caught or thrown off.
Caution: Petrol is highly flammable: - Store petrol in containers designated for that purpose.
- To be refuelled outdoors only.
- Never smoke when refuelling.
- Refuel before switching the engine on.
- The tank cap must not be opened and refuelling must not take place if the engine is running or is heated to operating temperature.
- Do not try to start the engine if petrol overflows. Take the appliance off the area polluted by petrol instead. Any attempt at operation, open fire or formation of sparks are prohibited until petrol fumes have evaporated.
- The petrol tank and other tank caps must for safety reasons be replaced if damaged. Replace any faulty noise suppressors. A visual inspection should always be carried out to check whether the sweeping roll, fastening components or the entire unit are not worn out or damaged before each use.
- Safe operating height should always be adjusted on the guide bar!
Safety instructions for first start-up
- Do not let the combustion engine run in closed rooms as dangerous carbon monoxide could accumulate there.
- Sweeping should only take place in broad daylight and good artificial lighting.
- Stable posture, especially in steep terrain must always be ensured.
- Move the appliance at a step pace.
- Be especially careful when changing the movement direction when going up. Do not sweep in too steep positions. (max. 30° )
- Stop the sweeping roll during transport. Stop the sweeping roll if the appliance must be tipped over.
- Never use the sweeper if any protective guards or grids are damaged or when not fitted.
- Never adjust the guide rods when working risk of accident!
- The operator must keep distance delimited by rods when using the sweeper for any purpose, especially when turning! It is prohibited to stay in an area that is dangerous (pic. 24).
- Do not change the engine setting and do not overspeed the engine.
- Start the engine carefully, following the manufacturer instructions. Ensure sufficient distance of your legs from the sweeping brush.
- Never put hands or legs on or under rotating parts.
Switch the engine off and pull out the socket plug (pic. 16):
- before unlocking or releasing the sweeping roll
- when encountering a foreign item.
Search for any damage to the sweeping roll and perform all necessary repairs and then continue working with the sweeper. Stop the sweeper and switch it off immediately if there are any operating failures. Have the failure removed at once. If there is a risk of slip on slopes, the sweeper must be held by a rod or rope by an accompanying person. The accompanying person must be above the appliance in sufficient distance from the operating tools! Work should always be taking place across the slopes if possible!
Switch the engine off: · when leaving the sweeper, · before refuelling.
Extensions (snow shield, collection container) Extensions can only be fitted when the engine is switched off and drive stopped. Use appropriate tools and wear gloves when changing the extensions and components and put the rests to the given position and ensure good stability. Secure the sweeper and extensions against travelling (base wedges).
Snow shield
Fit the snow shield correctly! Watch for spots of jam and cut when turning the snow shield. Wear nonslip shoes. The operating speed must be adjusted to the given operating conditions as the driver could get injured due to kinetic energy if an obstacle is run on.
Tyres and air pressure in tyres
It is necessary to make sure the sweeper is safely put out of operation and secured against travelling when working on wheels. Repairs of tyres can only be performed by professionals with appropriate assembly tools. Check regularly the air pressure in tyres. There is a risk of explosion when it is too high.
Maintenance and storage
Make sure all nuts, pins and screws are tightened firmly and the appliance is in a safe operating condition. Never store the sweeper with petrol in tank in a building where petrol fumes can get in touch with open fire or sparks. Allow the engine to cool down before putting the sweeper out of operation in closed rooms. To prevent a risk of fire, there must be no moss, grass, leaves or leaked fat (oil) around the engine, exhaust and area near the fuel tank. Check regularly the functionality of the sweeper, collection container and snow shield. For safety reasons, replace any worn-out and damaged component. If the fuel tank needs to be emptied, do so outdoors! Consider the environment!
Assigned Use
Appliance corresponds to EU Machine Directive in force.
Appropriate use The sweeper has been designed for common use in treating surfaces and winter use (Use as designated). Any other use is in conflict with the designation. The manufacturer is not responsible for indirect damages; the risk is bore by the user. Appropriate use includes complying with the specified conditions for operation, maintenance and treatment. Any optional changes of the sweeper exclude the manufacturer’s warranty for damages. The sweeper is not suitable for sweeping flammable, explosive, poisonous, carcinogenic and other deleterious substances and materials. Do not sweep flammable or hot items such as cigarettes, matches, etc. If glass, metal or other materials are taken from the collection container, protective gloves must necessarily be worn to prevent injuries. Insufficient lighting represents a high safety risk. Sufficient lighting must always be provided when working with the appliance.
Disposal
Disposal instructions are given by pictographs on the unit or packaging. For meaning of individual symbols refer to chapter “Symbols on Unit”.
Operator Requirements
The operator shall read the instruction manual carefully before using the unit.
Qualification
No special qualification is required for use of the unit except for detailed direction by a professional.
Minimum Age
Only persons above 16 years of age are allowed to work with the unit. Exempted from the provision is the use of the juvenile trainees if they work in the course of their professional training with an aim to obtain the skill under a trainer supervision.
Installation / first start-up
Take the sweeper out of package and fit the upper bar (pic. 1; pos. 2) first using the supplied binder screws (pic. 1; pos. 8). The binder screws can be fitted according to pic. 1. If the binder screws are locked, safe operating height can be adjusted for the given user. Now install the guide bar according to pic. 1; pos. 3.
And mount the fixing pin (pic.1; pos. 7) to the sweeping roll baffle plate (use screws/nuts pic. 2 pos. 16/18)
Collection container installation
Remove the collection tank components from the separate package and assemble as described below (positions apply to pic. 2a/2b)
- 9. Insert sealing between the lid (2) of the right (4) and left (3) side part and screw together (use pos. 17/19)
- 10. Screw the bottom (1) with the side lid (3/4) (use screws/nuts pos. 17/19)
- 11. Screw the handle with the bottom (1) (use screws/nuts pos. 11/12/13)
- 12. Insert a flap (10) between the bottom (1) and internal cover (5) and screw together (use screws/nuts pos. 17/19)
- 13. Pull the reinforcement (6) through longitudinal lid holes (2) from the bottom and screw together with screws/nuts (pos. 15/16) in holes behind the junctions.
- 14. Screw the second handle (8) with the lid (2) (use screws/nuts pos. 11/12/13)
- 15. Screw the wheels (9) with the bottom (1) (use screws/nuts pos. 17/19)
- 16. Insert the cleaning lid to the outlet (see pic. 4 in the side lid) (screw closure)
Charge pressure for tyres
Make sure there is the right tyre inflation pressure (1.5 bar). If the pressure is too low, the hose may slip down on the casing and get damaged.
Operation
Checking the oil level The engine oil quality is decisive for correct output of the driving unit and operation life. Use only suitable and high-quality lubricants; unsuitable lubricants cause damage to the appliance and lead to immediate warranty expiry (SAE 10 W 40 specification multi-purpose semi-synthetic lubricant recommended). There might be no engine oil or just a small amount of it (filling for factory test) when dispatching the appliance. Oil level must necessarily be checked before the appliance is put into operation! The appliance should always be put to a flat surface when inspecting the oil level. Always consider the environment when filling and emptying the engine oil and fuel: use appropriate filling and emptying tools. Prevent uncontrolled fuel or oil leak in any case! Screw the oil dipstick (pic. 6a) out or pull it out. Add oil up to the “Correct oil level” marking (pic.6) and check the correct level (engine oil level must touch the final oil filling neck thread). Make sure not to overfill the appliance when standing on an uneven surface! Screw, or push, the oil dipstick again. If you want to empty the engine oil (oil change, maintenance, etc.), pull the oil dipstick out (pic. 6a) and screw the oil drainage screw out (pic. 6b). Keep the oil dipstick, oil filling hole, oil drainage hole and oil drainage screw clean at all times! Use appropriate containers and prevent environment pollution by lubricants and fuels.
Instructions to various appliance parts:
Collection container installation Fit the container to the fixing pins (pic. 4). Flexible plugs should always be pushed in the fixing pins with the lowermost hole being the preferable option.
Snow shield installation
Fit the shield to the fixing pins (pic. 5). Flexible plugs should always be pushed in the fixing pins with the lowermost hole being the preferable option.
Refuelling
The engine is maintenance-free and common unleaded Normal and Super petrol is added in it. If environment-friendly unleaded petrol is used, fuel must be completely drained at engines put out of operation for more than 30 days to prevent resinous deposits in the carburettor, fuel filter and tank or fuel stabilizer mixed to the fuel. Do not add oil to petrol. Refuelling is done by removing the tank lid (pic. 1; pos. 9) and adding the fuel up to the fuel screen marking as maximum (the fuel screen is located in the tank filling hole). Prevent fuel from contacting your skin! Make sure fuel is always clean with no dirt! Close the tank lid appropriately after each refuelling or inspection. Take the appliance to the surface you want to sweep. Check all components if tightened well and not damaged. Check the entire air filter for any dirt. Pic.15 shows air filter components from the engine with the air filter lid being unscrewed (pic. 14). All air filter components, especially the air filter insert (pic. 15a) must be clean cleaning agent: cleaning petrol (adhere to the safety sheet of the given manufacturer!). Open the fuel tap (pic. 8; pos. “ON”). Check if the socket plug is tightened.
Starting the engine
Put the engine switch to the “ON” position (pic. 9) Make sure the engine is cold when being started. Turn on the engine choke (pic. 12; pos. “CHOKE”) Turn the speed control lever (pic. 10; pos. “START”) to full speed. First, pull shortly the starting cable so that it is stretched. Now pull the starting cable slowly to the stretched position with your left hand resting on the engine and one more strong pulling the starting cable. Turn the engine choke off as soon as the engine gets started (pic. 12; pos. “RUN”)
To be provided
The starting cable must not reel automatically. It must always be reeled back by hand. If the engine fails to start even after several attempts, check whether the tank has been refuelled properly. Maybe there is too much fuel in the roll, which has caused the spark plug to get damp.
Switching the engine off
Put the speed control lever to position (pic. 11; pos. “STOP”) and switch the engine off by the engine switch (pic. 9; pos. “OFF”). Never let the appliance run unattended if the engine is running. Never switch the engine off if the choke is on as it could damage the engine. Close the fuel tap (pic. 8; pos. “OFF”). Pull slowly the starter handle so that there is some resistance. Valves will get closed. This step is necessary to prevent damp air from getting in the combustion chamber.
Operating mode
Ensure good stability! Pressing the guide rod down will enable to turn the sweeping broom in both directions by app. 20° and lock the bar in those positions.
The appliance is moving forward when the right lever 1 (pic. 7) is pressed. The appliance is moving backward when the right lever 2 (pic. 7) is pulled. Brushes are activated when the left lever 3 (picr.7) is pressed. The cleaning appliance is fitted with a safety switch: brushes and appliance are disabled as soon as levers are released.
The speed control lever must in dangerous situations and accidents be put to “TOP” and engine switched off by the engine switch (pic. 9; pos. “OFF”).
In the operating mode, make always sure that the cooling and combustion air is exhausted without interruption (leaves may block the exhaust channels). Flue gas exhaust without interruption should be ensured, too.
Supporting wheel and brush height adjustment As soon as the brushes are slightly worn out, distance of brushes from the ground must be adjusted again. For that purpose, plastic rings of the brush supporting wheel must be calibrated again. Remove the lock rings of the supporting wheels and the required number of plastic rings (see pic. 3a) from the bottom side. Fit the supporting wheels again (pic. 3b). The supporting wheel goes up and brushes are nearer to the ground. Fit the plastic rings to the upper side and fix them using a spacing bushing and locking ring so that the hole distance towards the bushing remains constant (pic. 3c)
Finishing your work or breaks After final sweeping is completed, let the appliance run free with no load for 1 to 2 minutes (engine cooling phase)
Inspections and maintenance
Have any repairs necessarily performed by trained professional staff only.
The socket plug must be pulled out before any appliance changeover, adjustment or maintenance.
Safety instructions for inspections and maintenance
– Make sure petrol or oil do not leak wear protective gloves when working near the sweeping brush!
The sweeper, especially the sweeping brush, must be cleaned after each use.
Maintenance, treatment, repairs, storing
General instructions Safety instructions in particular should be followed.
Regular maintenance is necessary for perfect working of your sweeper. Sweeping brushes and driving components in particular must be carefully treated to prevent damages or accidents in general. Before maintenance:
– pull down the socket plug,
– put the appliance to a stable position,
– wait until the engine cools down.
Disassembly/assembly/change of sweeping brushes: To enable access to the sweeping brush, the side cover of the sweeping brush must be disassembled (pic. 17). Disassemble the external carrying disk (pic.18 and 19). The brush and spacer segments can now be individually removed (pic.20-22)
Cleaning
To clean/splash with water (especially using a high-pressure cleaner):
- lubricate all spots that need lubrication and let the sweeper run for 1 to 2 minutes to allow water that has got inside to get away.
- clean the engine with just a cloth. Splash with strong current of water as water can get in the ignition system, fuel system and lubricating oil system, which may lead to failures.
Technical Data

Storing
If the sweeper has not been used for a long time, the following steps need to be taken:
- thorough cleaning and repair of damaged varnish
- lubricating of spots that need lubrication and sweeper run for 1 2 minutes
- applying anti-corrosive oil on the sweeping brush and chassis.
Putting the sweeper out of operation and storing
Do not transport the sweeper, put it out of operation and store when tilted forward, backward or sideways. Do not store the sweeper in damp rooms, in rooms where fertilizers are stored, in stables or near them. Tilting may cause the engine oil to get to the combustion space, which in consequence may bring problems wit starting and oil carbonization risk of strong corrosion formation.
Troubleshooting




















