MOVE BT In-ear stereo earphones with Bluetooth
User Manual

General Notes And Information
Regarding the user manual
The information in this document may change without prior notice and in no way constitutes any liability on the part of Lautsprecher Teufel GmbH.
No part of this user manual may be reproduced in any form or be broadcasted in any way electronically, mechanically, by photocopy or recording without the written permission of Lautsprecher Teufel GmbH.
Original packaging
If you wish to exercise your right of return, we ask that you be absolutely sure to hold onto the packaging. We can only accept the return of the earphones WITH ORIGINAL PACKAGING. Empty boxes are not available!
© Lautsprecher Teufel GmbH
Version 3.0
December 2021
Complaints
In the event of a complaint, we require the invoice number in order to process your complaint. Can be found on the sales slip (enclosed with the product) or on the order confirmation received as a PDF document, e.g. 4322543
Thank you for your support!
Contact
| Please contact our customer service department with any questions, suggestions, or complaints: Lautsprecher Teufel GmbH BIKINI Berlin Budapester Straße 44 10787 Berlin (Germany) | Telephone: 00800 200 300 40 (toll- ree) Fax: +49 (0)30 / 300 930 930 Online support: www.teufelaudio.com/ service Contact form: www.teufelaudio.com/Contact |
Trademarks
© All trademarks are the property of their respective owners.
Bluetooth ® and the Bluetooth ® symbol are trademarks of Bluetooth SIG, Inc. Bluetooth ® makes it possible for compatible devices to wirelessly link with one another within a range of up to 10 m.
Qualcomm aptX is a product of Qualcomm Technologies International, Ltd. Qualcomm is a trademark of Qualcomm Incorporated, registered in the USA and other countries, whose use has been approved. aptX is a trademark of Qualcomm Technologies International, Ltd., registered in the USA and other countries, whose use has been approved.
Proper Use
The MOVE BT earphones are intended for the playback of audio signals that can be wirelessly transmitted via Bluetooth ® from the external player. The earphones are also suitable as a headset for connecting to Bluetooth ® compatible (mobile) phones. The MOVE BT ear hooks serve to fix the headphones in the ears
Only use the earphones as described in this user manual. Any other use will be deemed as not in accordance with the instructions and may lead to damage to property or even persons. The manufacturer accepts no liability for damage caused by improper use. The earphones are intended for private use only.
Before operating the earphones, please first read the safety notes and user manual carefully. This is the only way to use all functions safely and reliably. Store the user manual in a safe place and also be sure to pass it on to any subsequent owner.
Device Overview
Pack contents

- 1× MOVE BT earphones
- 3 pairs of ear pieces in the transport tube and 3 silicon fitting pieces
- 1× clip
- 3 pairs of MOVE BT ear hooks Storage case (not shown) User manual
Checking the pack contents
- Check that all items have been delivered and that nothing is damaged.
- If the delivery is incomplete or the device exhibits damage from transport, please contact our customer service department (see page 4).
- Do not operate the device if it is damaged.
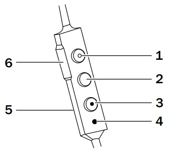
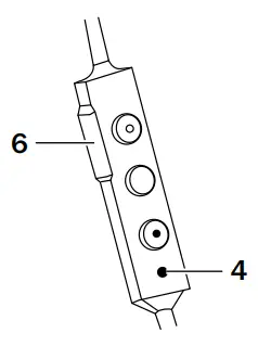
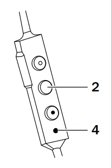
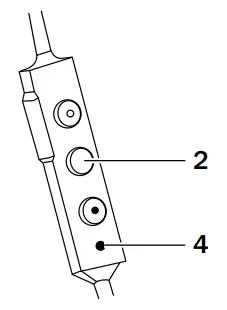
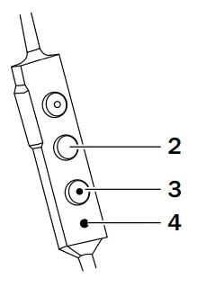
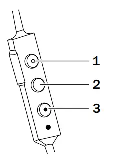
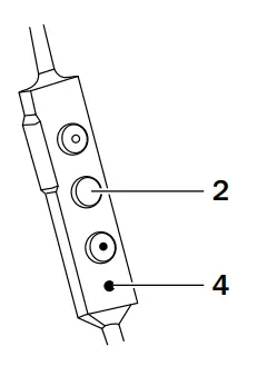
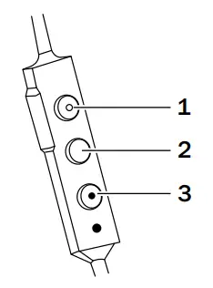
Operational controls

| Item | Description |
| 1 | Button “Increase volume” |
| 2 | Multifunction button / accept or end a call |
| 3 | Button “Decrease volume” |
| 4 | LED |
| 5 | Microphone (backside) |
| 6 | USB port with rubber plug |
Safety Notes
Signal terms
You can find the following signal terms in this user manual:
WARNING
This signal term indicates a moderate risk, which, if not avoided, may result in death or severe injury.
CAUTION
This signal term indicates a low risk, which, if not avoided, may result in minor or moderate injury.
NOTICE
This signal term warns you of potential damage.
This symbol advises of useful additional information.
WARNING
The danger of suffocation for infants!
Infants could pull the earpieces off of the earphones, put them in their mouths and choke on them.
– Never allow infants to play with the earphones or the earpieces.
CAUTION
Risk in road traffic and at work!
Your earphones significantly dampen external noise so that you are not entirely aware of your surroundings.
– Do not in any case wear your earphones while performing activities where you are required to pay attention to your surroundings, this particularly applies when operating machinery or driving vehicles on roads. Also, observe the legal guidelines and provisions of the country where you are using the earphones.
Extended listening at high volumes may lead to hearing loss!
– To avoid damage to health, avoid extended listening at high volumes.
– If the amplifier is set to full volume, it may produce very high sound pressure. This may have psychic consequences and also cause physical injury. Children are especially at isk. Set the volume control of your player to the low volume before you turn it on.
Risk of injury!
If you replace the ear pieces or ear hooks, securely attach them to the earphones so that they cannot come loose and get stuck in your ear.
– Consult an ENT doctor if an earpiece or ear hook gets stuck in your ear canal and if you are unable to remove it yourself.
The danger of explosion! Lithium rechargeable batteries can explode if handled improperly.
– Do not heat or burn the earphones.
– Only charge the rechargeable batteries at ambient temperatures of 5–40 °C.
– Do not use your earphones in environments where there is a risk of explosion.
Interference caused by radio waves!
Radio waves could affect the function of other sensitive devices that are not protected.
– Only use the earphones in environments where the use of Bluetooth ® is permitted.
NOTICE
Risk of damage!
Improper handling of the earphones may result in damage.
– Ensure that the earphones do not become wet, and protect them from moisture, heat (e.g. during the summer in cars) and mechanical influences (e.g. severe shocks, pressure, and falling).
Preparation
Charging the rechargeable battery

The rechargeable battery in your MOVE BT has a capacitance of up to 20 hours. If the rechargeable battery charge level is low, the LED 4 will turn red and a voice will announce “Battery low” every 5 minutes. The rechargeable battery in your MOVE BT is charged via USB. The rechargeable battery must be charged before first use.
- Open the rubber plug on the USB port 6.
- To charge the earphones, connect the USB port of the earphones with the USB port of your computer, USB charger, etc. Use a suitable USB charging cable for this (type A plug to a type micro B plug). The LED will illuminate in red during the charging process. The LED will go out once the rechargeable battery is fully charged.
- Take the USB charging cable out of the USB port of the earphones and put the rubber plug back in place.
Operation
Attaching the ear pieces

Ear pieces and silicon fitting pieces for different sizes of ears are included in the pack contents.
- Select the ideal ear pieces and fitting pieces for your ear size and attach them to the earphones.
Attaching the ear hooks

The package contents include ear hooks for different sizes of ears.
- Select the ideal ear hooks for your ear size and attach them to the earphones. You can adjust the ear hooks to a position that perfectly fits your pinna.
Inserting the earphones into the ear

- Hold the earphones in your hands as indicated by the right-left label (chapter “Device Overview”).
- Insert the earphones with the cables pointing down in your ear canals. The earphones must fit snugly and close off your ear.
- If this is not the case and the ear pieces are too large or too small, replace them with one of the other provided pairs of ear pieces.
- If you use the ear hooks, insert them in the pinna.
- If necessary, secure the cable for the earphones on your clothing with the clip.
CAUTION
Extended listening at high volumes may lead to hearing loss!
– Set the volume control of your player to the low volume before you turn it on.
Activating/deactivating the earphones

- To switch the earphones on, hold the multifunction button 2 down for approx. 3 seconds. The LED 4 will illuminate in blue. You will hear the voice instruction “Power on”. The earphones will automatically switch to pairing mode and the LED will flash blue every 2 seconds.
- To switch the earphones off, hold the multifunction button down for approx. 3 seconds. The LED will go out. You will hear the voice instruction “Power off”.
You should always switch the earphones off when they are not in use to save battery power.
Bluetooth ® pairing
NOTICE

Interference caused by radio waves! Radio waves could affect the function of other sensitive devices that are not protected.
– Only use the earphones in environments where the use of Bluetooth ® is permitted.
You can connect compatible devices, such as most smartphones, with your MOVE BT earphones via Bluetooth ® (pairing). The audio output of your smartphone is then played back by the MOVE BT.
After activation, the earphones are in pairing mode. The LED will flash blue every 2 seconds.
- If this does not happen, hold the multifunction button 2 down for about 2 seconds. The pairing mode has now been reactivated; the LED 4 will flash blue.
- Activate the Bluetooth ® function on your external player (smartphone).
- Let your smartphone search for Bluetooth ® devices (you can find more information in the user manual of your smartphone). “Teufel MOVE BT” should appear in the list of the detected devices after the search run.
- Select “Teufel MOVE BT” from the list of detected devices. If your player requires the entry of a PIN code, enter the PIN code “0000” set by factory default.
Once the earphones and your Bluetooth ® device are connected, you will hear the voice instruction “Connected” and the LED will flash blue 2× every 5 seconds. The MOVE BT will now play back all sounds that would otherwise be played by your smartphone.
By factory default, the PIN code is: 0 0 0 0 - To terminate the Bluetooth ® connection, switch the Bluetooth ® function on your external player (smartphone) off. A brief signal tone will sound and the LED will flash every 2 seconds.
Reconnecting to a paired player
If your MOVE BT has been previously connected with your external player (smartphone), enabling the Bluetooth ® function on your external player (smartphone) is all you have to do to connect the two devices.
Resetting the Bluetooth ® pairing settings

- Switch the earphones off to reset the Bluetooth ® pairing settings.
- Hold down the multifunction button 2 and button 3 “Decrease volume” simultaneously for 5 seconds. The LED 4 will flash red 4× and the Bluetooth ® pairing settings will be reset.
Phone Calls With The MOVE BT
If your MOVE BT is connected with a compatible smartphone or mobile phone, you can make the phone call with the MOVE BT just as with a headset. The earphones have a microphone 5. Music playback will be interrupted in the event of an incoming call and a ring tone will sound instead. The following functions are available:

| Accept incoming call | Briefly push the multifunction button 2. |
| Reject incoming call | Briefly push the multifunction button 2× consecutively. |
| End the call | Briefly push the multifunction button. |
| Redirect the current conversation to the smartphone to talk without the earphones | Briefly push the multifunction button 2× consecutively while the smartphone is active. |

| Call the last number back | Hold down button 1 “Increase volume” and button 3 “Decrease volume” or seconds. |
| End the current call and accept an incoming call | Briefly push the multifunction button 2 during the incoming call. |
| Voice input of the phone number | Briefly push the multifunction button 2× consecutively while the smartphone is in standby. |
| Adjusting the volume | Push the button “Increase volume” or the button “Decrease volume”. |
Listening To Music With The MOVE BT
If your MOVE BT is connected to a compatible smartphone or mp3 player, you can control music playback with the MOVE BT just as with a headset.
The following functions are available:
| Playback/stop the music | Briefly push the multifunction button 2 |
| Select the next music track | Push and hold button 1 “Increase volume” for 2 seconds |
| Select the previous music track | Push and hold button 3 “Decrease volume” for 2 seconds |
| Adjusting the volume | Push the button “Increase volume” or the button “Decrease volume”. |
Other Functions And Displays
Pairing mode
will automatically end if the Bluetooth ® connection is not established within 3 minutes. Then the LED will stop flashing.
- To switch pairing mode back on, hold the multifunction button 2 down for approx. 2 seconds.
- The earphones will switch back to pairing mode and the LED 4 will flash blue every 2 seconds.
Automatic deactivation

If you do not push a button on the MOVE BT after aborting pairing mode, it will turn off completely after an additional 3 minutes.
- To switch the earphones back on, hold the multifunction button 2 down for approx. 2 seconds.
You will hear the voice instruction “Power on”. The earphones will automatically switch to pairing mode and the LED 4 will flash blue every 2 seconds.
Interruption of connection
If your MOVE BT moves out of the range of your external player, the Bluetooth ® connection will be interrupted. You will hear 2 hollow beeps every 10 seconds.
The connection will be re-established automatically when you are back within range. You will hear the voice instruction “Connected” and the LED 4 will flash 2× in blue every second.
Spoken messages and audio signals
| Activating | “Power on” |
| Deactivating | “Power off” |
| Pairing established | “Connected” |
| Pairing disconnected | 2× hollow beep |
| Incoming call | Ring tone |
| Battery low | “Battery low” |
There are apps and widgets for numerous smartphones that display the charge level of the earphones’ rechargeable battery on the display.
Care And Cleaning
- For hygienic reasons, clean the earphones regularly.
- Switch the earphones off.
- Ideally, you can remove any dust or light dirt with a dry microfibre cloth.
- You can wipe off more stubborn dirt with a cloth that has been slightly dampened with water.
- Then immediately wipe the damp surfaces off with a soft cloth without applying pressure.
- Put the ear pieces in the transport tube and fill it half full with water. Shake the transport tube a few times. Then remove the water from the transport tube.
NOTICE

Liquid could destroy the electronics in your earphones!
– Make sure that no liquids penetrate the earphones.
– Do not use caustic cleaning products or solvents.
Troubleshooting
The following advice should help you to solve problems. If this does not help, you will find useful information in the detailed FAQs on our website. Otherwise, please contact our hotline (see page 4). Take note of the warranty instructions.
| Problem | Possible cause | Solution |
| The MOVE BT cannot be turned on. | The rechargeable battery is empty. | Charge the rechargeable battery (see page 14). |
| No audio play-back despite Bluetooth® connection. | The MOVE BT is switched off. | Switch the MOVE BT on. |
| The MOVE BT is not registered with the external player or is not paired with it. | Check all settings as described in the chapter Bluetooth® pairing (see page 18). | |
| The Bluetooth® function is switched off on the external player. | Switch the Bluetooth® function on. If applicable, refer to the user manual for the player. | |
| Volume has been set too low. | Increase the volume on the play-er and/or earphones. |
Technical Data
| Nominal impedance active/passive: | 2× 16 Ω |
| Weight: | 23 g |
| Battery: | NTA3507, 0.3 W, 3.8 V |
| Operating time: | up to 20 hours |
| Charging time: | up to 3 hours |
| Operating temperature range: | 0 °C to +40 °C |
| Charging voltage: | 5 V DC |
You can find further technical data on our website. Technical changes reserved!
Declaration Of Conformity
Lautsprecher Teufel GmbH declares that this product complies with Directive 2014/53/EU. The full text of the EU Declaration of Conformity can be found at this web address:
www.teufel.de/konformitaetserklaerungen
www.teufelaudio.com/declaration-of-conformity
The following radio frequency bands and radio transmitting powers are= used in this product:
| Radio network | Frequency bands in MHz | Transmission power in mW/dBm |
| Bluetooth ® | 2.400–2.483.5 | 2.5/4 |
Disposal
Important information in accordance with the Electrical and Electronic Equipment Act (Germany: ElektroG) We advise owners of electrical and electronic appliances that old electrical and electronic devices must be handed in separately from municipal waste, in accordance with the applicable regulations. Batteries and rechargeable batteries that are not firmly enclosed in old electrical devices and lamps, and that can be removed from the old device without destroying them, must be separated from them in a non-destructive manner before they are handed to the collection point for their intended disposal. Please take note of our information on the Batteries Act [Germany: BattG] below for disposing of batteries.
You make an important contribution to returning, recycling, and further processing of old devices if you separate your old devices into the correct collection groups for recycling.
The symbol below of a crossed-out dustbin, applied to electrical and electronic appliances, also advises of the duty to separate collections:![]()
Consumer electronics stores and supermarkets are obliged, under certain conditions, to take back old electrical and electronic devices, in accordance with section 17 of the Electrical and Electronic Equipment Act. Stationary retailers must take back an old electrical device of the same type when a new electrical device is bought (1:1 return).
This also applies to home deliveries. These retailers must also take back up to three small old electrical devices (≤ 25cm) without this being linked to a new purchase (0:1 return). In accordance with the Electrical and Electronic Equipment Act, as online retailers of electrical devices and due to our product range, our obligation is limited to 1:1 return of large devices of > 50 cm when selling a new electrical or electronic device of the same type. We comply with the obligation of return of devices other than large devices through our service provider. You can find the exact contact data and collection points on our website www.Teufel.de/entsorgung. It is also possible to return old electrical and electronic appliances free of charge at an official delivery point run by the public waste disposal authorities.
Important: For safety reasons we ask that you refrain from sending lighting fixtures (some lamps). For the return of lighting fixtures please use the public waste disposal collection points or contact us directly at www.Teufel.de/entsorgung.
As an end-user, you are responsible for deleting any personal data on old electrical appliances before handing it in.
Important: Our appliances can contain batteries/rechargeable batteries. If this is the case, please refer to its attached product documentation for additional information on the type and chemical make-up of the battery. For products with battery compartments, you can directly remove the batteries or rechargeable batteries and dispose of them properly. If the batteries are built into the product, do not in any case attempt to remove the batteries yourself, instead, contact one of our employees or appropriate specialist staff. Important information about the Batteries Act (Germany: BattG) Batteries and rechargeable batteries must not be disposed of on in household waste.
Old batteries can contain toxic substances that could damage the environment or your health if not stored or disposed of properly. This applies especially to the improper handling of batteries containing lithium.
However, batteries also contain important raw materials such as iron, zinc, manganese and nickel and these can be reused. The separate collection enables the recycling of these raw materials and avoids any negative impact on the environment or human health due to toxic substances being released.![]()
The crossed-out dustbin symbol means that you should not dispose of old batteries and rechargeable batteries in household waste. In addition, you, as the end-user, are legally obliged to return old batteries.
You can hand in batteries and rechargeable batteries free of charge at an official return point such as any public waste disposal collection point. You can also hand in old batteries, that we stock or have stocked as new batteries, at one of our Teufel stores or at one of our dispatch warehouses. However, if you send them to our dispatch warehouses we would like to point out the dangerous goods regulations of the dispatch provider you opt for and ask you not to send batteries to us by post. You can get the addresses of our dispatch warehouses from our customer service.
Due to existing legal regulations, the battery manufacturer must use the following symbols with the following meanings when marking the batteries. Hg: the battery contains more than 0.0005 mass percent of mercury Pb: the battery contains more than 0.004 mass percent of lead Cd: the battery contains more than 0.002 mass percent of cadmium Otherwise, to avoid waste and littering, batteries with a long service life or rechargeable batteries should be used.
Exchangeable rechargeable batteries enable long service for electrical and electronic appliances and thus devices and rechargeable batteries can be prepared for recycling (e.g. regenerating/exchanging rechargeable batteries). Further information on preventing waste for consumers can, however, be found in the Federal waste prevention program with the participation of the Federal states.
Please contact our customer service department with any questions, suggestions, or complaints:
| Lautsprecher Teufel GmbH BIKINI Berlin, Budapester Str. 44 10787 Berlin (Germany) www.teufelaudio.com | Phone: 00800 200 300 40 (toll-free) Fax:+49 (0)30 / 300 930 930 Online-support: www.teufelaudio.com/service Contact: www.teufelaudio.com/contact |
No responsibility is assumed for the correctness of this information. Technical changes, typographical errors and other errors are reserved.
Manual No: 194459_EN_20211129_V3.0



















