ROZETKA K8501P Upright Bike

GENERAL INFORMATION
Please read all instructions carefully before using this device. Retain this manual for future reference. The specifications of this device may vary slightly from the illustrations and are subject to change without notice. Please read the safety warnings and the instructions carefully before assembly and first use. Failure to follow the safety warnings and the instructions can cause personal injury or damage to the device. Save all warnings and instructions for future reference. The device is only suitable for private use, indoors. The device is not suitable for semi-professional (e.g., hospitals, clubs, hotels, schools, etc.) and commercial or professional use (e.g. health clubs). This device is not intended for use by persons (including children) with a reduced physical, sensory or mental capability, or a lack of experience and knowledge, unless they are supervised or have been instructed about how to use the device by a person responsible for their safety. This device is intended for indoor use only.
SAFETY INFORMATION
Consider the following precautions before assembling and operating the device.
- Assemble the device exactly as described in the instruction manual.
- Check all screws, nuts and other connections before using the device for the first time and make sure that the device is in a safe position.
- Set up the device in a dry, stable and level place and keep it away from moisture and water.
- To avoid dirt, etc., place a suitable base (e.g. rubber mat, wooden board, etc.) under the device in the area where it is assembled.
- Before beginning training, remove all objects within a radius of 2 meters from the device.
- Do not use aggressive cleaning products to clean the device; only use the supplied tools to assemble the device or repair any of its parts. Remove drops of sweat from the device immediately after finishing training.
WARNING! Before starting your workout, visit your doctor for a health check-up. He can determine the maximum exertion (heart rate, watts, duration of training, etc.) to which you may expose yourself and give you precise information about the correct posture during training, the targets of your training and your diet. - Over exercise may result in serious injury or death. Stop exercising immediately if you feel faint.
- If you experience nausea, dizziness, chest pain or other abnormal symptoms, immediately stop your workout and consult a doctor.
- The device can only be used for its intended purpose, i.e. whole-body workouts for adults.
- Make sure that only one person uses the device at a time. The maximum user weight is 100 kg.
- This device can be used by children from the age of 14 years, as well as persons with diminished physical, sensory or mental abilities, or people with little experience and knowledge, if they are supervised or instructed about its safe use, provided they also understand the potential risks of such use. Keep unsupervised children away from the device.
- To avoid muscular pain and strain, start each workout by warming up and finish each workout by cooling down. Remember to stretch at the end of the workout.
- Only use the device in environments with adequate ventilation.
- Use the device on a flat surface and allow at least 100 cm of clearance around the device.
- Do not use the device if any part is damaged or defective.
- Keep your hands, feet and other body parts, hair, clothing, jewellery, and other objects away from the moving parts.
- Do not open device without consulting your dealer. Only train on the device when it is in correct working order.
- Wear training clothes and shoes which are suitable for fitness training on the device. Your training shoes should be appropriate for this device.
- Pay particular attention to the wearing parts, e.g. pedal, foam grip, end caps and screws that often touch the ground or connection points. The safety level offered by this device can only be maintained if wear parts are checked and repaired on a regular basis. Replace defective components immediately and/or keep the device out of use until repair.
- You must stop the device completely when trying to dismount.
- The free area must exceed 1 meter in all directions from points where the device is touched in the training area, and the free area must also include an area for emergency dismount. The size of the free area can be shared if devices are placed adjacent to each other.
- WARNING! Heart rate monitoring systems may be inaccurate. Over exercising can result in serious injury or death. Stop exercising immediately if you feel faint.
- When you mount or dismount the device, please make sure that the pedal is in the lowest position.

- NOTE: The device is not for high accuracy purpose.
- The device is equipped with a speed independent system.
- This device must be powered by a removable adapter which is provided by supplier. The adapter technical data: Class II, INPUT: 100 – 240 VAC, 50/60 Hz, 0.2 A. OUTPUT: 6 VDC, 1000 mA.
- Keep the power cord out of the reach of children below the age of 8 years.
ELECTRICITY AND HEAT
- Prior to use, check that the mains voltage is the same as the mains voltage stated on the name plate of the device.
- Make sure your hands are dry before touching the device, power cord. Particularly when connecting it to or removing it from the power socket. This poses a risk of electric shocks and electrocution.
- Plug the power plug into an electrical outlet that is always easily accessible.
- Certain parts of the device may become warm or sometimes hot. Do not touch them preventing burning yourself.
- Make sure that the device can dispel its heat, to avoid possible fire hazards. Make sure there is enough clearance around it to cool down.
- WARNING! Never cover the power plug or cable with cloths, curtains or any other material in order to prevent overheating and potential fire hazards.
- Make sure that the device and power cable do not come into contact with heat sources, like a hot hob or naked flame.
- WARNING! Do not cover the device to prevent overheating and potential fire hazards.
- Check the power cord regularly for damage.
- Never use the device if the power cord shows signs of damage, if the device has fallen on the ground or shows any other signs of damage.
- Switch OFF the device and remove the power plug if you discover any faults during use, find any signs of damage, are not using the device or are cleaning it.
- Make sure the power cord cannot be trodden on or pinched.
- Do not allow the power cord to hang over sharp edges and keep it away from hot objects and naked flames.
- When plugging in the power plug, make sure people cannot accidentally pull it out or trip over it.
- Prevent the power cord from making contact with water, hot surfaces or steam.
- Always remove the power plug from the socket:
- before you store the device;
- before you fit or remove accessories;
- before you clean or maintain the device;
- after you have used the device.
- Remove the power plug from the power socket during lightning storms or if unused for long periods of time.
- Prevent overload by not connecting too many devices in a group.
- When using an extension cable, make sure it is completely extended.
- WARNING! Do not open the casing as this may result in electric shock.
- WARNING! Never immerse the device in water or any other liquid. This can cause a fatal electric shock!
- WARNING! To reduce the risk of fire or electric shock, protect the device from dripping or splashing water and damp environments and keep away from objects filled with liquids, such as vases. Such objects should not be placed on or near the device
WARNING! Do not leave packaging material lying around carelessly. This may become dangerous playing material for children. Risk of suffocation!
| TECHNICAL SPECIFICATIONS | |
| Dimensions (L x W x H) | 860 x 445 x 1400 mm |
| Net weight | 22 kg |
| Device class | HC (H= domestic use, C= minimum accuracy) |
| Maximum user weight | 100 kg |
| Brake system | Magnetic resistance system |
| Drive system | NA |
| Rotating mass | Max. 220 W (it may have some tolerance) |
| Model number | K8501P |
| ADAPTER SPECIFICATIONS | |
| Model number | YH-S093V0601000 |
| Electrical class | II |
| Product rating input | 50/60 Hz, 0.2 A |
| Power input: | 100 – 240 V |
| Power output | 6.0 V |
| ENVIRONMENT REQUIREMENTS | |
| Storage environment | Temperature: 5 °C ~ 45 °C |
| Relative humidity: <80% | |
| Operating environment (device in use) | Temperature: 10 °C ~ 35 °C |
| Relative humidity: <80% | |
EXPLODED DIAGRAM
| Number | Description | Quantity |
| 1 | Main frame | 1 |
| 2 | Front stabilizer | 1 |
| 3 | Rear stabilizer | 1 |
| 4 | Rear end caps | 2 |
| 5 | Carriage bolt M8 x L74 | 4 |
| 6 | Arc washer Ø8.5 x 1.5x Ø25 x R33 | 8 |
| 7 | Acorn nut M8 | 4 |
| 8 | Crank | 1 |
| 9 | Pedal L/R | 1 pair |
| 10 | Front end caps | 2 |
| 11 | Sensor wire | 1 |
| 12 | Saddle post | 1 |
| 13 | Extension wire | 1 |
| 14 | Allen bolt M8 x 16 | 4 |
| 15 | Saddle bushing | 1 |
| 16 | Handlebar chuck cover | 1 |
| 17 | Handlebar post | 1 |
| 18 | Power adapter | 1 |
| 19 | Saddle | 1 |
| 20 | Flat washer D8 | 5 |
| 21 | Cross pan head screw M4 x 10 | 2 |
| 22 | Flat washer D4 | 2 |
| 23 | Round end cap | 2 |
| 24 | Computer VM-0098 | 1 |
| 25 | Nylon nut M8 | 3 |
| 26 | Foam grip | 2 |
| 27 | Handlebar | 1 |
| 28 | Pulse wire | 2 |
| 29 | Knob | 1 |
| 30 | Spring washer D8 | 2 |
| 31 | Inner hex bolt M8 x 30 | 2 |
| 32 | Multi-function wrench | 2 |
| 33 | Wrench | 2 |
NOTE: Most of the listed assembly hardware has been packaged separately, but some hardware items have been pre-installed in the identified assembly parts. In these instances, simply remove and reinstall the hardware as assembly is required. Please reference the individual assembly steps and make note of all pre-installed hardware.
PREPARATION: Before assembling, make sure that you will have enough space around the item; use the present tooling for assembling; before assembling please check whether all needed parts are available. It is strongly recommended this device to be assembled by two or more people to avoid possible injury.
ASSEMBLY INSTRUCTIONS
WARNING
- Assemble the device in the given order.
- Carry and move the device with at least two persons
- Place the device on a firm, dry level surface and protect it from moisture and water
- Place the device on a protective base to prevent damage to the floor surface.
- Allow at least 100 cm of clearance around the device.
- Refer to the illustrations for the correct assembly of the device.
STEP 1:
Attach the front stabilizer (2) and rear stabilizer (3) to the main frame (1) with the carriage bolts (5), arc washers (6) and acorn nuts (7) as shown.
NOTE: The end caps of the rear stabilizer (4) can be adjusted to keep the device stable.
STEP 2:
Attach the pedals (9L/R) to the crank (8L/R) respectively, viewed from
the rider’s exercising position. Always make sure the pedals are securely tightened before any exercise. Otherwise, the peddle thread will be broken easily.
NOTE: The pedals are labeled L for left, and R for right. Tighten the left pedal counterclockwise and the right pedal clockwise.
STEP 3:
Attach the saddle (19) to the saddle post (12) with the nylon nut (25) and flat washer (20) as shown. Then insert the saddle post (12) into the main frame (1) with the knob (29) at a proper height as shown.
STEP 4:
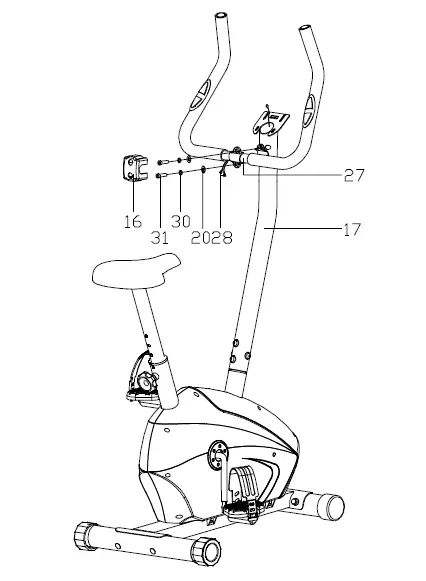
Connect the extension wire (13) with the sensor wire (11) as shown. After making sure the wires are well connected, fix the handlebar post (17) to the main frame (1) with the allen bolts (14) and arc washers (6).
STEP 5:
- Feed the pulse wire (28) out of the handlebar post (17) through the top of the computer bracket.
- Attach the handlebar (27) to the handlebar post (17) with the inner hex bolt (31), spring washer (30) and flat washer (20); then cover the handlebar chuck cover (16) as shown.

STEP 6:
Connect the wires (13 and 18) to the wires from the computer (24), and then install the computer (24) onto the computer bracket on the top of the handlebar post (17) with the cross pan head screw (21) and flat washer (22) as shown.
This device is equipped with a power adapter (18) for power supply. Insert the plug of the adapter (18) to the jack of the device and plug the other side to the wall socket (220 – 230 V / 50Hz).
TRAINING
For an effective workout, the saddle must be adjusted properly. While pedalling, the knee should be slightly bent when the pedals are in the farthest position. In order to adjust the saddle, unscrew the knob (29). Adjust the saddle to the right height and tighten completely. After adjusting the saddle to the right height, you can start training. NOTE: Never exceed the maximum height of the saddle. Always get off the bike before making any adjustment. Make sure the saddle is securely tightened before any exercise. Keep your hands during the training in the desired position on the handlebar.
EXERCISE COMPUTER (VM 0098)
CAUTION
- Keep the computer away from direct sunlight.
- Dry the surface of the computer if it is covered with drops of sweat.
- Do not lean on the computer.
COMPUTER INSTRUCTIONS
POWER ON
Make sure the power adapter is connected to the device. The computer will start in auto scan mode.
POWER OFF / SLEEP MODE
The computer will automatically enter sleep mode. To power off, pull the power adapter jack from of the device.
BUTTON FUNCTIONS
ENTER button:
- Cycle through data fields.
- Confirm value.
- Hold enter to reset and return to scan mode.
UP and DOWN button:
- Change Time (0:00-99:00 min)
- Change Program (P1-P11)
- Change Level (1-8)
- Set Target Pulse (P11 only)
SCAN MODE
The computer will cycle through the following data fields when powered on: TIME, RPM, SPEED, DIST, CAL, WATT, PULSE.
MANUAL MODE
To manually select data fields press the ENTER button.
DATA FIELDS
PROGRAMS
When the power is on, you can adjust the program (P1-P11) by pressing the UP and DOWN button. Press the ENTER button to accept a program. You can adjust the TIME value (default 20:00 min) of a program by pressing the UP and DOWN button.
To set a Target Pulse, enter program 11 and set the data field on PULSE. You can now manually set a Target Pulse using the UP or DOWN arrows. Press ENTER to confirm. The computer will alert you by making a sound when exceeding the target value by approximately 10 BPM.
LEVELS
During exercise, you can manually adjust the level of resistance (1-8) by pressing the UP and DOWN button.
WARM-UP AND COOL-DOWN
A successful exercise program consists of a warm-up, aerobic exercise and a cool-down. Do the entire program at least two, or preferably, three times a week; resting for a day between workouts. After several months, you can increase your workouts to four or five times per week.
WARM-UP
The purpose of warming up is to prepare your body for exercise and to minimize injuries. Warm up for two to five minutes before strength-training or aerobic exercising. Perform activities that raise your heart rate and warm up the working muscles. Activities can include brisk walking, jogging, jumping jacks, jump rope and running on the spot.
STRETCHING
It is very important to stretch while your muscles are warm, after a proper warm-up and again after your strength or aerobic training session. This increases muscle temperature and allows them to stretch more easily, which greatly reduces the risk of injury. Stretches should be held for 15 to 30 seconds. DO NOT BOUNCE.
Remember to always consult your physician before starting any
exercise program.
COOL-DOWN
The purpose of cooling down is to return the body to its normal or near normal, resting state at the end of each exercise session. A proper cool-down slowly lowers your heart rate and allows blood to return to the heart.
CARE AND MAINTENANCE
- Clean the device with a soft, absorbent cloth after each use.
- Do not use solvents to clean the device.
- Regularly check that all screws and nuts are tight.
- If necessary, lubricate the joints.
- Store the device in a clean and dry environment.
- Store the device out of reach of children.
TROUBLESHOOTING
| Issue | Possible cause | Solution |
| No sensor on the computer | The sensor line is damaged or not properly connected | Connect the sensor line correctly or place a new sensor line in the event of damage. |
| No display on the computer | You have the wrong adapter? | Check the adapter specifications with the specifications in the manual. |
| The main power switch is turned off? | Check that the main power is switched on and is indeed supplying power. | |
| The adapter is not plugged in? | Check if the adapter is correctly connected to the main power socket and to the computer. | |
| The computer is faulty. | Replace the computer by contacting your dealer. | |
| Loose pedal | Not tightened properly | Tighten the pedals properly using the wrench. |
| Unstable product | End cap is not in correct position | Adjust the end cover or place the device on a flat surface. |
| Noise | Moving parts are loose or no lubricant oil | Tighten loose parts or add lubricant oil. |
| Incorrect handrail angle | Incorrect assembly | Check the handrail and make sure it is assembled according to the manual. |
INSTRUCTIONS FOR PROTECTING THE ENVIRONMENT
(WEEE, the waste electrical and electronic equipment directive)
Your product has been manufactured using high quality materials and components which can be recycled and used again. At the end of its life, this product cannot be disposed of in normal domestic waste, but must be taken to a special collection point for recycling electrical and electronic equipment. This is indicated in the user manual and in the packaging by the waste container marked with a cross symbol. Used raw materials are suitable for recycling.
By recycling used appliances or raw materials, you are playing an important role in protecting our environment. You can ask your local council about the location of your nearest collection point.





















