66″
INDOOR / OUTDOOR LED FAN



CEILING FAN INSTRUCTION MANUAL
WARNING: Read and follow these instructions carefully and be mindful of all warnings shown throughout. |
GENERAL INSTALLATION & OPERATION INSTRUCTIONS
(1) To ensure the success of the installation, be sure to read the instructions and review the diagrams thoroughly before beginning.
(2) To avoid possible electric shock, be sure electricity is turned off at the main power box before wiring. All electrical connections must be made in accordance with local codes, ordinances and/or the National Electric Code. If you are unfamiliar with the methods of installing electrical wiring and products, secure the services of a qualified and licensed electrician as well as someone who can check the strength of the supportive ceiling members and make the proper installation(s) and connections.
(3) WARNING: To reduce the risk of fire, electric shock, or other personal injury, mount fan only on an outlet box or supporting system marked acceptable for fan support of 35 lbs (15.9 kg) or less and use mounting screws provided with the outlet box. Most outlet boxes commonly used for the support of lighting fixtures are not acceptable for fan support and may need to be replaced. Consult a qualified electrician if in doubt.
(4) Make sure that your installation site will not allow rotating fan blades to come in contact with any object. Blades should be at least 7 feet from floor.
(5) Blades should be attached after motor housing is hung and in place. Fan motor housing should be kept in the carton until ready to be installed to protect its finish. If you are installing more than one ceiling fan, make sure that you do not mix fan blade sets, as each blade is part of a weighted set.
(6) After making electrical connections, spliced conductors should be turned upward and pushed carefully up into outlet box. The wires should be spread apart with the common conductor and the grounding conductor on one side of the outlet box, and the “HOT” wires on the other side.
(7) Electrical diagrams are for reference only. Light kits that are not packed with the fan must be UL listed and should be installed per the light kit’s installation instructions.
(8) After fan is completely installed, check to make sure that all connections are secure to prevent fan from falling and/or causing damage or injury.
(9) The fan can be made to work immediately after installation – the bearings are adequately charged with grease so that, under normal conditions, further lubrication should not be necessary for the life of the fan.
(10) To operate the reverse function on this fan, press the reverse button while the fan is running.
(11) CAUTION: Do not ingest battery – Chemical bum hazard. Keep new and used batteries away from children.
(12) The remote control supplied with a coin/button cell battery. If the coin/button cell battery is swallowed, it can cause severe internal bums in just 2 hours and can lead to death.
(13) If the battery compartment does not close securely, stop using the product and keep it away from children.
(14) If you think batteries might have been swallowed or placed inside any part of the body, seek immediate medical attention.
IMPORTANT SAFETY PRECAUTIONS
WARNINGS:
- Disconnect power by removing fuse or turning off circuit breaker before installing the fan and/or optional lighting.
- Support directly from building structure.
- To reduce the risk of fire, electric shock or personal injury, mount to outlet box marked “acceptable for fan support” and use mounting screws provided with the outlet box. Most outlet boxes commonly used for the support of lighting fixtures are not acceptable for fan support and may need to be replaced. Consult a qualified electrician if in doubt.
- Do not use an incandescent light dimmer. Do not use this fan with any transformer type fan speed control device.
- To reduce the risk of personal injury, do not bend the blade arms when installing them, balancing the blades or cleaning the fan. Do not insert any object(s) between rotating fan blades.
NOTE: The important precautions, safeguards and instructions appearing in this manual are not meant to cover all possible conditions and situations that may occur. It must be understood that common sense, caution and carefulness are factors which cannot be built into this product. These factors must be supplied by the person(s) installing, caring for and operating the unit. |
TOOLS & MATERIALS REQUIRED

- PHILLIPS SCREWDRIVER
- FLAT SCREWDRIVER
- WRENCH OR PLIERS
- WIRE CUTTER
- STEPLADDER
- WIRING SUPPLIES AS REQUIRED BY ELECTRICAL CODE
UNPACKING YOUR FAN
UNPACK YOUR FAN AND CHECK THE CONTENTS.
- Do not discard the carton. If warranty replacement or repair is ever necessary, the fan should be returned in original packing.
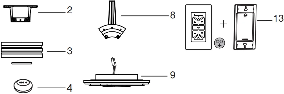
Remove all parts and hardware. Do not lay motor housing on its side, or the decorative housing may shift, be bent or damaged. - Examine all parts. You should have the following:
![]()
| VANTAGE PACKAGE CONTENT | ||
1 | Blade Set of 8 | BL902466Fxx | |
2 | Hanging Bracket | CA902466Fxx | |
3 | Ceiling Canopy and Trim Ring | ||
4 | Ball Moisture Cover | In Hardware Bag | |
5 | Downrod Asm. | DR94016Fxx | |
6 | Yoke cover | YC900752Fxx | |
7 | Fan Housing with Motor *Remove rubber shipping supports around motor, if applicable. Save the screws. | X | |
8 | Blade Arm Set of 8 | BLI902466Fxx | |
9 | 16W LED Assembly | E902466LED | |
10 | Light cover/ Glass shade | AP902466Fxx GL902466ET | |
11 | Metal Plate (for no light use) | X | |
12 | Receiver Incl. 5 Wire Nuts | CNW902466 | |
13 | Cradle B (for flat wall use only) | 980014FWH-R | |
14 | Hardware Bag | ||
| NOTE: Design of parts shown above may look slightly different for your specific model of fan. | Bracket Mounting Hardware (wood screws, screws, lock washers, star washers, flat washers, wire nuts), Blade to Blade Arm Screws and Rubber Washers, Balance Kit, Safety cable hardware (wood screw, flat washer) | MH902466Fxx | |
XX=FAN FINISH | |||
PREPARATION
PREPARATION:
Verify you have all parts before beginning the installation. Check foam insert closely for missing parts. Remove motor from packing. To avoid damage to finish, assemble motor on soft padded surface or use the original foam inset in motor box.
DO NOT LAY MOTOR HOUSING ON ITS SIDE AS THIS COULD RESULT IN SHIFTING OF MOTOR IN DECORATIVE ENCLOSURE.

Parts identification on assembled fan.
- Downrod
- Canopy
- Yoke Cover
- Blade
- Motor Housing
- Blade Arm
- Light Cover
INSTALLING THE HANGING BRACKET
CAUTION: To avoid possible electrical shock, be sure electricity is turned off at the main power box before wiring. All wiring must be in accordance with National and Local Electrical Codes and the ceiling fan must be grounded as a precaution against possible electric shock.
(1) Locate ceiling joist where fan is to be mounted, being sure location agrees with the requirements in the minimum clearance section of this guide. Wood joists must be sound and of adequate size to support 35 pounds (See page 2, items 3 and 4).
(2) If not already present, mount a UL listed outlet box marked “suitable for fan support” following the instructions provided with the outlet box. The outlet box must be able to support a minimum of 35 pounds.
(3) Attach hanging bracket to outlet box using screws provided with the outlet box.

- Ceiling Fan Outlet Box
- Hanger Bracket
- Flat Washer
- Spring Washer
- Outlet Box Screw
HANGING THE FAN
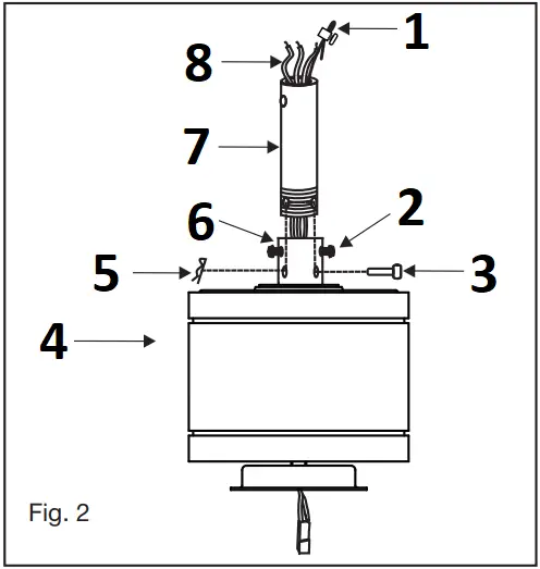
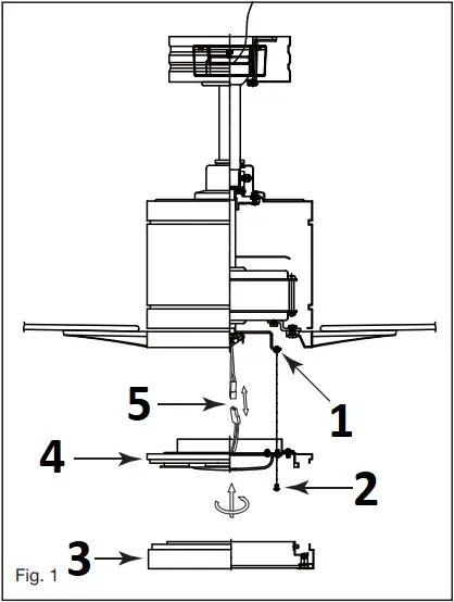
(1) Remove ball from downrod by loosening set screw in the side of the ball. Slide ball down and remove ball pin; remove ball. (Fig. 1)
(2) Carefully support fan body (motor) in its styrofoam packing with the mounting collar (where the wires come out) facing upward.
(3) Loosen the two security set screws and remove the downrod pin and retaining clip from the coupling on top of the motor assembly. (Fig. 2)
(4) Carefully feed the electrical lead wires and safety cable from the fan through the downrod. Thread downrod into coupler until holes align. Insert downrod pin through holes in mounting collar and downrod; clip cotter pin through small hole in end of downrod pin to hold downrod in place.
(5) Tighten security set screws against downrod using a large flat blade screwdriver to ensure a tight fit against downrod. Tighten nuts against mounting collar.

- Hanger ball
- Cross pin
- Set screw
- Downrod

- Safety Cable
- Security Screws
- Downrod Pin
- Top of Fan Body
- Cotter Pin
- Mounting Collar
- Downrod
- Hook-up (3) Wires
REMEMBER to turn off the power before you begin.
To properly install your ceiling fan, follow the steps below.
(6) Slip the yoke cover, trim ring and canopy onto the downrod. (Fig. 3)
(7) Slide the hanger ball onto the downrod, insert the cross pin through the downrod and tighten. Tighten the set screw.
(8) Feed wires through holes in rubber ball moisture cap and slide cap down over top of ball. (Fig. 3)
(9) Lift ball/downrod/fan into hanger bracket opening.
NOTE: The tab opposite hanger bracket opening should fit in slot on ball. (Fig. 4)
NOTE: 6 feet of lead wire is supplied on the fan for use with longer downrods. |

- Safety Cable
- Ball Moisture Cap
- Ground Wire
- Set screw
- Canopy
- Trim Ring
- Top of Fan Body
- Yoke Cover
- Downrod
- Hook-up (3) Wires
- Hanger ball
- Cross Pin

- Wood Ceiling Joist
- Safety Cable
- Wood Screw And Washer
- Safety Cable Loop
- Safety Cable Clamp
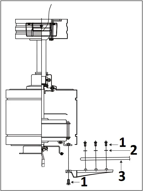
INSTALLATION OF SAFETY CABLE SUPPORT
Attach the wood screw and the flat washer to the ceiling joist as shown (do not fully tighten). Slide the cable clamp onto the safety cable from the fan. Loop the safety cable around the wood screw that was just attached to ceiling joist. Feed the end of the cable into the clamp and pull as much cable through as possible. Firmly tighten screw in the clamp. Cut off excess cable.
ELECTRICAL CONNECTIONS
REMEMBER – Turn off the power! NOTE – Control must be installed within 30 feet of fan.
WARNINGS: Check to see that all connections are tight, including ground, and that no bare wire is visible at the wire nuts, except for the ground wire.
CAUTION: To reduce the risk of electric shock, this fan must be installed with an isolating wall control/switch.
1. Insert the receiver into the ceiling mounting bracket with the flat side of the receiver facing the ceiling. (Fig. 1) For best performance, make sure the Black Antenna and WIFI Antenna, on the end of the receiver, remains extended and not tangled with any of the electrical wires.
2. Make wire connections from the fan to the receiver unit. For this step use the bundle of 5 wires on the receiver. (Fig. 2)
Connect the YELLOW fan wire to the YELLOW receiver wire.
Connect the GRAY fan wire to the GRAY receiver wire.
Connect the RED fan neutral wire to the RED receiver neutral wire.
Connect the WHITE fan neutral wire to the WHITE receiver neutral wire.
Connect the BLUE fan neutral wire to the BLUE receiver neutral wire.
3. Connect the wiring from the ceiling to the receiver unit. (Use the 2 wire bundle on the receiver.) Secure with supplied wire nuts.
Connect the BLACK building supply wire to the BLACK receiver wire.
Connect the WHITE receiver neutral wire to the WHITE building neutral wire.
Connect the COPPER building ground wire to the 4 YELLOW/GREEN ground wires from the fan and receiver.

- Hanger bracket
- Receiver

- GROUND
- Outlet box
- Ceiling
- YELLOW / GRN
- YELLOW / GRN (downrod)
- YELLOW / GRN (hanger bracket)
- Fan
- GRAY
- YELLOW
- RED
- Receiver
- WHITE (For light)
- BLUE (For light)
- WH (AC IN)
- BLK (AC IN)
FINISHING THE INSTALLATION
(1) Tuck connections neatly into ceiling outlet box.
(2) Slide the canopy up to mounting bracket and place the key hole on the trim ring the screw on the mounting bracket, turn canopy until it locks in place at the narrow section of the key holes.
(3) Align the circular hole on canopy with the remaining hole on the mounting bracket, secure by tightening the two set screws.
NOTE: Adjust the canopy screws as necessary until the canopy and trim ring are snug.

- Groove
- Screws
- Trim Ring
- Canopy
- Hanger Bracket
- Ceiling Fan Outlet Box
WARNING: Make sure the hook on the hanging bracket properly sits in the groove in the hanger ball before attaching the canopy to the bracket by turning the housing until it drops into place. |
BLADE ATTACHMENT

- Screws
- Rubber Washers
- Blades
(1) Place rubber washer on screw. Insert this assembly through the blade and start the screw into the blade arm. Repeat this procedure without tightening the screw until all 3 screws have been started into the blade arm.
NOTE: Make sure that concave side of blade is facing down.
(2) Tighten each screw starting with center screw.
(3) Fasten blade assembly to motor with provided screws and lockwashers. Repeat procedure for remaining blades. Make sure screws are TIGHT! Loose motor screws can contribute to unnecessary hum during operation.
NOTE: Cordless power screwdrivers are NOT recommended, as they usually strip the heads of the screws and usually will not fully compress the lock washers on the motor screws. Use a large flat blade screwdriver for final tightening to fully compress the washers. This will help ensure proper alignment of the blades and noise-free, wobble-free running. |
INSTALLING THE LED ASSEMBLY AND LIGHT COVER

- Mounting Hub (bottom of motor)
- Screws
- Light Cover
- LED Assembly
- Wire connectors
(1) Remove one of the three screws on the mounting hub located on the fan motor. (Fig. 1)
(2) While holding the LED assembly under your fan, make the polarized plug connections: (Fig. 1)
– Red to white
– Black to black
NOTE: If you do not plan to install the LED assembly with your fan at this time, don’t make the wire connections.
Remove the screws and take out the glass shade form the light cover (Fig. 2), then attach the metal Plate to the light cover B and light cover A with the screws provided. (Fig. 3)

- Screws
- Light Cover B
- Glass Shade
- Light Cover A

- Screws
- Light Cover B
- Metal Plate
- Light Cover A
(3) Tuck connections neatly into LED assembly, place the LED assembly to the mounting hub with 3 screws provided. (Fig. 1)
(4) Raise the light cover against the LED assembly and turn clockwise until snug, DO NOT OVERTIGHTEN. (Fig. 1)
(5) Restore power and your light kit is ready for operation.
INSTALLING THE WALL CONTROL
REMEMBER to turn off the power before you begin.
NOTE – Secures to any surface or application: flat wall, single gang box, multi gang box.
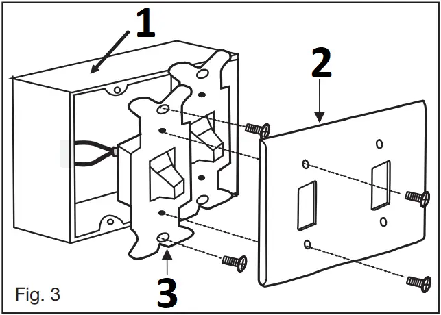
Option 1. Flat Surface Installation
(1) Select a desired location. Use the wall plate to mark the location of the mounting holes. Plastic wall anchors or mounting screws are needed for this application. (Fig. 1)
(2) Seat the cradle B into the wall plate. Secure the wall plate to the wall using the provided hardware.
(3) Snap the face plate cover onto the wall bracket.
(4) Remote transmitter will be held in place with built in magnets.

HIRO Control System
- Plastic anchor
- Wall plate
- Cradle B
- Face plate
- Transmitter
- Wall
Option 2. For single gang box
(1) Remove the existing wall plate and the old switch from the wall outlet box.
(2) Seat the cradle A into the wall plate. (Fig. 2)
(3) Connect the black lead wires from the switch in the cradle A to the black wires in the switch box. Hot input wire to one of the cradle A switch leads. Power lead to the fan is connected to the remaining switch lead.
(4) Connect the wall plate / cradle A assembly to the wall outlet box using the supplied hardware.
(5) Snap the face plate cover onto the wall bracket.
(6) Remote transmitter will be held in place with built in magnets.

- Outlet box
- Wall plate
- Cradle A
- Face plate
- Transmitter
Option 3. Multi Gang Wall Switch Box Installation
(1) Remove the existing wall plate and old switch from the wall outlet box. (Fig. 3)
(2) Connect the black lead wires from the switch in the cradle A to the black wires in the switch box. Hot input wire to one of the cradle switch leads. Power lead to the fan is connected to the remaining switch lead. (Fig. 4)
(3) Attach the cradle A to the wall switch box using the supplied hardware.
(4) Attach the multi-gang faceplate to the switch set in the wall outlet box. Cradle A of switch will fit in any standard decora face plate.
(5) Remote transmitter will be held in place with built in magnets.

HIRO Control System
- Outlet box
- Face plate
- Switch

- Outlet box
- Cradle A
- Face plate
- Transmitter
OPERATION
Your DC brushless motor is equipped with an automatically learned type remote control. There is no frequency switches on the receiver or transmitter. The fan can start to use once the pairing process is done.
Remove the panel from the transmitter and then install one 2032 battery (included). You need to use a coin to open or close the battery cover. To prevent damage to transmitter, remove the battery if not use for long periods of time (Fig. 1)
WARNING: Chemical Burn Hazard. Keep batteries away from children.
This product contains a lithium button/coin cell battery. If a new or used lithium button/coin cell battery is swallowed or enters the body, it can cause severe internal burns and can lead to death in as little as 2 hours. Always completely secure the battery compartment. If the battery compartment does not close securely, stop using the product, remove the batteries, and keep it away from children. IF you think batteries might have been swallowed or placed inside any part of the body, seek immediate medical attention.
The batteries shall be disposed of properly, including keeping them away from children; Even used cells may cause injury.
(1)
button:
Press this button and release instantly to turn on or off the light.
(2)
button:
Press and hold to dim or brighten lights to the desired level and release.
(3)
button:
Press this button to set fan wind direction up or down.
(4)
button:
Press button for turn on and setting 1-6 fan speed.
(5)
button:
Press this button to turn the fan off.
(6) Signal light (Fig. 2)
Pairing Process
NOTE: If installing/pairing more than one fan in an area, the power must be disconnected from all fans except the one fan being paired.
With the fan’s power off, restore power to the fan. Press and hold “
” button for about 5 seconds and release. If optional light kit is installed, the light kit will flash three times and the motor spin up for 10 seconds on low speed. The fan has completed the pairing process with the wall control and is ready for use.
NOTE: A single fan can be controlled with as many as 3 wall controls in one room. Every control will need to repeat the pairing process based on instructions above and all controls must be within 30 feet of the fan.

- ON
- OFF

HIRO Control System
- Signal light
Summer Mode and Winter Mode Operation
(8) Summer Mode (forward):
A DOWNWARD airflow creates a cooling effect as shown in Figure 3. This allows you to set your air conditioner on a warmer setting without affecting your comfort.
(9) Winter Mode (Reverse):
An UPWARD airflow moves warmer air off the ceiling area as shown in Figure 4. This allows you to set your heating unit on a cooler setting without affecting your comfort.

- SUMMER MODE
(COUNTERCLOCKWISE DIRECTION)

- WINTER MODE
(CLOCKWISE DIRECTION)
CARE AND CLEANING
Periodically it may be necessary to re-tighten blade to blade arm screws or blade arm to motor screws to prevent clicking or humming sound during operation. This is especially true in climates with broad temperature and humidity ranges.
When dusting the blades, you must support the blade to prevent bending – no pressure should be applied to the blades. If you experience any flaws in the operation of your fan, please check the following points.
TROUBLESHOOTING
CAUTION: Switch off power supply before carrying out any of these checks. |
| PROBLEM | SOLUTION |
| FAN WILL NOT START |
|
| FAN SOUNDS NOISY |
|
| FAN WOBBLES |
|
ENERGY GUIDE
AVERAGE PERFORMANCE AND ENERGY INFORMATION
![]() | |
Estimated
Cost Range of Similar Models (19″ – 84″)
| Airflow
|
| All estimates based on typical use, excluding lights ftc.gov/energy | |
| Airflow Shown Is a Weighted Average of High and Low Cubic Feet per Minute Based on Downrod |
SPECIFICATIONS
PERFORMANCE SPECIFICATIONS | STANDARD | |
| HIGH SPEED | LOW SPEED | |
| Airflow (CFM) | 9087 | 3728 |
| Energy Use (Watts) | 29.2 | 3.3 |
| Airflow Efficiency (CFM/W) | 312 | 1130 |
| Energy Costs (Yearly) | $8 | $1 |
| Amps | 0.41 | 0.07 |
| RPMs | 108 | 45 |
SMART BY BOND
SMART FAN OPTIONS:
In addition to the included wall control, you can control your fan through the Bond app.
- To use the app, download it for free from the App Store or Google Play.
- Open the app to create your account. You can also login with your Facebook or Google account.
- Next, set up a WiFi connection. You will need the SSID and WiFi password for the network you want to connect to.
- You will receive a prompt to choose the finish of your fan and name your fan device.
- The app will walk you through the main screen and show you how to change fan speeds, dim the light, set timers or utilize breeze mode.
NOTE: Maximum of 2 fans can operate on a circuit through the wall control. Maximum of 12 fans can operate on a circuit through an on/off switch or breaker when utilizing the app for the fan control (without the wall control in the circuit).
How to correct “Fan paired to wrong transmitter” on Smart by Bond fans supporting multiple transmitters:
- Smart Phone Method (recommended)
a) Open the Bond Home app.
b) Tap on the Fan you want to modify.
c) Tap the settings icon in the upper right corner.
d) Scroll down and tap “Manage Remotes”.
e) Delete just the remotes in question; or, use the triple-dot menu and select “Forget all remotes”.
f) Tap “Learn a new remote”.
g) Follow on-screen prompts to (re) learn the desired remotes into the fan.
- Factory Reset Method
a) Turn mains power OFF to all fans.
b) Turn mains power ON only for the fan needing code correction.
c) Within 15 seconds of turning on, hold down the Speed 1 button on any compatible transmitter for 20 seconds.
d) The fan light should blink 5 times and may spin up on low speed for 10 seconds.
e) Wait 10 seconds.
f) Hold down the Power button on the transmitter you wish to pair. The fan light should flash three times and the motor spin up for 10 seconds on low speed.
g) If you were using the fan on Wi-Fi, you will need to reconnect to Wi-Fi.
- Brute Force Method
a) Turn mains power OFF to the fan.
b) Turn mains power back ON on the fan.
c) Hold down the Power button on the transmitter for 5 seconds, until the fan light flashes 3 times.
d) Repeat steps a–c above 4 more times.
e) The fan’s memory is now totally overwritten, and it has forgotten all other remotes.
























