HAMPTON BAY FP21531-J 36 Inch Round Fire Table User Guide
THANK YOU
quality products designed to enhance your home. Visit us online to see our full line of products available for your home improvement needs.
Thank you for choosing Hampton B
Safety Informaton
WARNING
Do not store or use gasoline or other flammable vapors and liquids, in the vicinity of this or any other appliance. An LP-cylinder not connected for use shall not be stored in the vicinity of this or any other appliance
DANGER
FIRE OR EXPLOSION HAZARD
If you smell gas:
- Shut off the gas to the appliance.
- Extinguish any open flame.
- If the odor continues, leave the area immediately.
- After leaving the area, call your gas supplier or fire departent
Failure to follow these instructions could result in fire or explosion, which could cause property damage, personal injury, or death.
WARNING
If the information in this manual is not followed exactly, a fire or explosion may result causing property damage, personal injury, or loss of life
INSTALLER:
Leave this manual with the appliance.
CONSUMER:
Retain this manual for future reference.
WARNING
When the Fire Pit is not in use _ disconnect the Propane Tank.
If Fire Pit is stored indoors _ remove the Propane Tank.
WARNING
This Fire Pit must be attended at all times!
WARNING
USE PROPANE GAS ONLY.
For use with tanks marked propane only. DO NOT connect to a remote gas supply. Propane Tanks are sold separately
WARNING
FOR OUTDOOR USE ONLY!
Installation and service must be performed by a qualified installer, service agency, or the gas supplier.
DANGER
FLAMMABLE GAS UNDER PRESSURE. LEAKING LP-GAS MAY CAUSE A FIRE OR EXPLOSION IF IGNITED CAUSING SERIOUS BODILY INJURY OR DEATH.
CONTACT LP GAS SUPPLIER FOR REPAIRS, OR DISPOSAL OF THIS CYLINDER OR UNUSED LP-GAS.
WARNING
FOR OUTDOOR USE ONLY.* DO NOT USE OR STORE CYLINDER IN A BUILDING, GARAGE OR ENCLOSED AREA.
WARNING:
- Know the odor of LP-gas. If you hear, see or smell leaking LP-gas, immediately get everyone away from the cylinder and call the Fire Department. Do not attempt repairs.
- Caution your LP-gas supplier to:
Be certain cylinder is purged of trapped air prior to first filling.
Be certain not to over fill the cylinder,
Be certain cylinder requalification date is checked. - LP-gas is heavier than air and may settle in low places while dissipating.
- Contact with the liquid contents of cylinder will cause freeze burns to the skin.
- Do not allow children to tamper or play with cylinder.
- When not connected for use, keep cylinder valve turned off. Self contained appliances shall be limited to a cylinder of 30 lb capacity or less.
- Do not use, store or transport cylinder where it would be exposed to high temperatures. Relief valve may open allowing a large amount of flammable gas to escape.
- When transporting, keep cylinder secured in an upright position with cylinder valve turned off.
WHEN CONNECTING FOR USE:
- Use only in compliance with applicable codes.
- Read and follow manufacturer’s instructions.
- Consult manufacturer’s instructions concerning the cylinder connection provided with your appliance.
- Be sure regulator vent is not pointing up.
- Turn off all valves no the appliance.
- Do not check for gas leaks with a match or open flame. Apply soapy water at areas marked “x”. Open cylinder valve. If bubble appears, close valve and have LP-gas service person make needed repairs. Also, check appliance valves and connections to make sure they do not leak before lighting appliance.
- Light appliance(s) following manufacturer’s instructions.
- When appliance is not in use, keep the cylinder valve closed.

DO NOT REMOVE, DEFACE, OR OBLITERATE THIS LABEL *EXCEPT AS AUTHORIZED BY ANSI/NFPA 58.
DANGER: Do not store a spare LP cylinder under or near barbecue grill, or other heat sources. NEVER fill an LP cylinder beyond 80% full: a fire causing death or serious injury may o
WARNING
Read and follow all the instructions and warnings in this Owner’s Manual thoroughly before installing, operating, or servicing this fire pit.
lmproper installation, use, maintenance, adjustment or storage can cause fire or explosion, resulting in serious injury or property damage.
Prepare for use:
Keep away from combustible/flammable items
- Do not put any other fireplace cover or anything flammable on or beneath the fire pit.
- Combustible materials should never be within 1.83 m/6 ft of the top, or within 1.22 m/4 ft of the back or the sides of the fire pit.
- For use on noncombustible floor material only.
- Keep the fire pit area clear and free from combustible materials, gasoline, and other flammable vapors and liquids
Inspect for leaks, wear and damage
- Check for gas leaks before use – See the Leakage Test instructions on how to check for gas leaks.
- Inspect the burner and the hose before use. Replace if there is evidence of excessive abrasion, wear, or damage.
- Inspect the hose before each use. The hose assembly must be replaced prior to use if there is evidence of excessive abrasion or wear, or if the hose is damaged. Use a manufacturer-specified replacement hose only.
Prepare the area, and ensure the proper use of the fire pit cover
- Make sure the ventilation openings on the sides of the fire pit body are open and clear of debris.
- Do not lay the nylon fire pit cover over the fire pit for at least 4 hours after it is turned OFF and has completely cooled down.
- Do not use the fire pit if any part has been under water. Immediately call a qualified service technician to inspect the fire pit and to replace any part of the control system and any gas control that has been under water.
- Remove the nylon fire pit cover from the fire pit before operating.
When in use:
Do’s
- Use propane cylinders with the following required measurements only: 5 cm/12 in. (diameter) x 45.7 cm/18 in. (tall) with capacity 9 kg/19.84 lbs.).
- If the flame goes out while operating, turn the gas valve Wait five minutes before attempting to relight.
- Due to high surface temperatures always keep a safe distance to avoid burning or clothes catching
- Keep the fuel supply hose away from any heated
Don’ts
- Never lean over the open fire pit or place your hands or fingers on the upper portion while in use.
- Do not use the fire pit for cooking.
- Do not burn any other materials other than what is supplied with and intended for use in the fire pit.
- Solid fuels shall not be burned in this fire pit.
- Do not pour water into the fire pit.
- Do not move the fire pit while in operation.
- The fire pit should never be operated by children. Children must be supervised when they are anywhere near the fire pit.
- Do not rest your feet on the fire pit.
- Do not use the fire pit on vehicles or boats. Always operate the fire pit on flat ground outdoors.
When not in use:
- The cylinder must be disconnected when the fire pit is not in use.
- Remove the battery from the ignitor when not using the fire pit for an extended length of time.
- Clean the battery contacts and also those of the device prior to battery installation.
![]() | Observe the flame color and the flame height in the fire pit after being lit:
|
THIS PRODUCT USES PROPANE ONLY
- Use propane cylinders with the following required measurements only: 30.5 cm/12 in (diameter) x 45.7 cm/18 in (tall) with a capacity of 9 kg/19.84 lbs.
- Max gas supply 28 cm/11 in. w.c.(2.74kpa).
- Only cylinders marked “propane” may be used.
- If you see, smell, or hear the hiss of escaping gas from the propane cylinder:
- Turn off the gas supply and get away from the gas cylinder and the fire pit at
- Do not attempt to correct the problem
- Call your gas supplier and / or the fire department for
- A dented or rusty propane cylinder may be hazardous and should be cleared by your gas supplier prior to use.
- Do not attempt to disconnect the gas regulator or any gas fitting while the fire pit is in operation.
- The gas pressure regulator provided with the fire pit must be used.
- Do not use a propane cylinder with a damaged valve and any other worn out parts.
- Transport and store empty propane cylinders carefully and properly.
Children and adults should be alerted to the hazards of high surface temperatures and should stay away to avoid burns or clothes catching fire
- Young children should be carefully supervised when they are in the area of the fire pit.
- Clothing or other flammable materials should not be hung from the fire pit or placed on or near the fire pit.
Propane-gas supply cylinders to be used must be:
- constructed and marked in accordance with the U.S. Department of T ransportation (DOT) Specifications for LP-Gas Cylinders, or the Standard
- for Cylinders, Spheres and Tubes for Transportation of Dangerous Goods and Commission, CAN/CSA-B339, as applicable. provided with a listed overfilling prevention device.
- provided with a cylinder connection device compatible with the connection for the appliance.
When storing fire pit:
WARNING! Improper installation, adjustment, alteration, service, or maintenance can cause injury or property damage. Refer to the owner’s information manual provided with this appliance. For assistance or additional information, consult a qualified installer, service agency, or the gas supplier.
Storage of the fire pit indoors is permissible only if the cylinder is disconnected and removed from the fire pit. Cylinders must be stored outdoors in a well-ventilated area out of reach of children. Disconnected cylinders must have threaded valve plugs tightly
installed and must not be stored in a building, garage, or any other enclosed area.
Turn OFF the control knob and close the propane cylinder valve. Turn the coupling nut counterclockwise by hand only do not use tools to disconnect. Loosen the cylinder screw beneath the bottom shelf, then lift the propane cylinder up and out of the shelf. Place the dust cap on the cylinder valve outlet whenever the cylinder is not in use.
The propane-gas supply cylinder must be disconnected when this appliance is not in use.
Any guard or other protective device removed for servicing the appliance shall be replaced prior to operating the appliance.
Installation and repair should be done by a qualified service person. The appliance should be inspected before use and at least annually by a qualified service person. More frequent cleaning may be required as necessary. It is imperative that the control compartment, burners, and circulating air passageways of the appliance are kept clean.
FOR YOUR SAFETY: Surfaces of the fire pit can remain extremely hot for a period after use. Allow 45 minutes to cool down before touching or moving the fire pit.
Pre-Assembly
Before beginning assembly of the fire pit, make sure all the parts are present.
Compare the parts with the package contents list. If any part is missing or damaged, do not attempt to assemble the fire pit.
NOTE: You must follow all the steps to properly assemble the fire pit. Make sure the gas valve is turned OFF before assembling. Do not attempt to assemble without the proper tools.
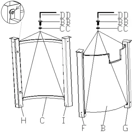
Hardware Included
PACKAGE CONTENTS AND COMPONENTS
| PART | DESCRIPTION | QTY |
| A | Tabletop | 1 |
| B | Right Panel | 1 |
| C | Left Panel | 1 |
| D | Door | 1 |
| E | Back Panel | 1 |
| F | Front-Right Leg | 1 |
| G | Back-Right Leg | 1 |
| H | Front-Left Leg | 1 |
| I | Back-Left Leg | 1 |
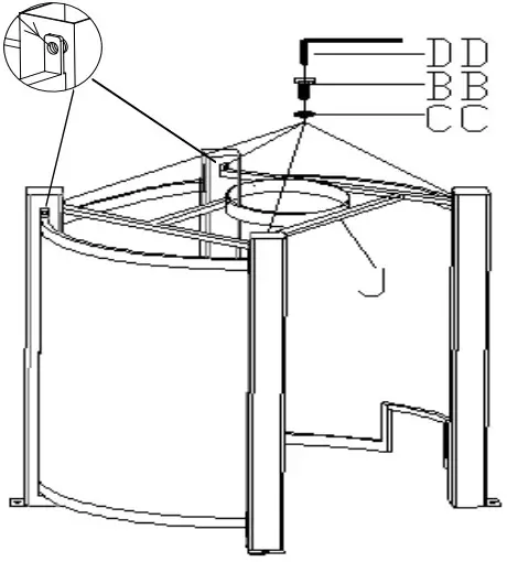
| J | Gas Cylinder Support | 1 |
| K | Adjustable Feet | 4 |
| L | Protective Cover | 1 |
| M | Lava Rock(11lbs) | 2 Boxes |
| N | Burner Lid | 1 |
| O | Touch Up Pen | 1 |
| P | Battery | 1 |
| Q | Burner | 1 |
| R | Gas Screen | 1 |
| S | Control Knob | 1 |
| T | Igniter | 1 |
WARNING
Failure to position the parts in accordance with these diagrams or failure to use only parts specifically approved with this appliance may result in property damage or personal injury.
Assembly
Attaching the left panel and back panel
- Attach the Left Panel (C) to the Front-Left Leg (H) and Back-Left Leg (l) with four Bolts (BB) and four Washers (CC) by using the Hex Screw Driver (DD).
- Attach the Right Panel (B) to the Back-Right Leg (G) and the Front-Right Leg (l) with four Bolts (BB) and four Washers (CC) by using the Hex Screw Driver (DD).
NOTE: Do not tighten bolts completely until assembly is complete
Attaching the gas cylinder support
- Turn over the base which assembled in last step and attach the Gas cylinder support(J) to the Back-Left Leg (l) &the Front-Left Leg (H) and Front-Right Leg(F) & Back-Right Leg(G) with four Bolts (BB) and four Washers (CC) by using the Hex Screw Driver (DD).
NOTE: Do not tighten bolts completely until assembly is complete
Attaching the right panel
- Attach the Right Panel(E) to the Back-Left Leg(l) and the Back- Right Leg(G) with four Bolts (BB) and four Washers (CC) by using the Hex Screw Driver (DD).
NOTE: Do not tighten bolts completely until assembly is complete.
Attaching the tabletop
- Attach the assembled base to the Table Top (A) with four Bolts (AA) and four Washers (CC) by using the Hex Screw Driver (DD).
- Tighten all bolts
Attaching the adjustable feet
- Attach four adjustable feet(K) to the bottom of each leg(F.G.H.l) .
Attaching the door
- Attach the door to the Front-Right Leg(H) and make sure the holes in Front-Right Leg(H) can aligned to the door .
FOR YOUR SAFETY: Surfaces of fire pit can remain extremely hot for a period after use. Allow 45 minutes to cool down before touching or moving the fire pit.
Connecting the propane tank
WARNING
This fire pit requires air flow under the unit. Do not place on an uneven surface or on grass, turf, or carpet
- Make sure the gas supply system(control knob) is turned to “OFF”.

- Open the door (D) and remove burner lid(C) which must remain removed when burner in operation.

- Place the propane tank (not included) in the gas cylinder support(J) and make sure the propane tank sits on the gas cylinder support(J) completely. Turn the wing screw on the outer part of the gas cylinder support(J) clockwise to secure the propane tank tightly.

- Turn the cylinder valve on the top of tank clockwise to close off the gas supply. See Figure a.
- Screw the regulator coupling clockwise by hand only. Make sure it is fastened. See Figure b.

- Close the door(D) and make sure it is fastened

Installing the battery
Hardware Used
- To install the battery (P), unscrew the rubber cap of the electric igniter and place the battery (P) into the battery case. Make sure the positive pole (“+”) faces out towards the cap. Screw the cap back onto the battery case tightly.
Installing the lava rock


Incorrect
Note that the burner ring (Q) is visible
correct
The burner ring (Q) is completely covered (except for the gas screen (R))
WARNING
Keep the lava rock (M) and other objects off of the gas screen (3). Holes in the screen must be exposed in order to allow gas to escape.
A blocked screen can cause gas to build inside the fire pit and ultimately cause an explosion
and risk of serious injury WARNING
Keep the lava rock (M) and other objects off of the gas screen (3). Holes in the screen must be exposed in order to allow gas to escape.
A blocked screen can cause gas to build inside the fire pit and ultimately cause an explosion and risk of serious injury
Leakage Test

Before using the fire pit, check for gas leaks.
Perform a leakage test in a well-ventilated area outside and where no source of spark can occur.
After opening the door for access, open the tank valve fully (counter-clockwise).
- Turn the control knob (S) to the OFF position. 5
- Apply a soapy water solution (3 drops dish detergent plus 4 oz.
- water) to check all the connections for leaks before attempting to light the fire pit.
- Coat the soapy water onto all the connections (shown in the figure at right,:1, 2 ,3, 4, 5).
- Turn the control knob (S) to the ON position. If there are any leaks, the soapy water will bubble where the leak is occurring.
- If a leak is found, turn the tank valve off and do not use the fire pit until repairs are made.
Operation
Before each use, be sure to inspect the hose. Replace the hose if there are any signs of cutting, wear or abrasion.
WARNING! During the initial lighting of the fire pit, stay away from the fire pit for 30 minutes as the fire glass may pop and cause injury to the face or eyes.
CAUTION: Only use the pressure regulator and hose assembly supplied with the fire pit. The replacement pressure regulator and hose assemblies must be specified or supplied by the manufacturer.
To light See Figure 8
- Turn the cylinder valve on top of the propane tank counterclockwise to open the gas
- To ignite the burner ring (Q):
a) Press and hold the electric igniter button (T).
b) At the same time, push in and turn the control knob (S) counterclockwise, to the LOW T
c) Keep the the control knob (S) pushed in to light the burner ring (Q).
WARNING! If ignition does NOT immediately occur- Release the electric igniter button (K) and turn the control knob (5) to OFF (clockwise).
- WAIT 5 MINUTES to clear out the gas!
- Repeat the lighting instructions in Step 2 as above.
- After ignition, release the electric igniter button (T).
Continue to push and hold the control knob (S) for 45 seconds.
Note: The flame should be a yellow/blue color.
To Extigulsh See Figure 9
- Push and turn the control knob (S) clockwise the OFF
- Turn the cylinder valve on the tank to close the gas supply if not in use for a long time
WARNING! Do not place the lid or nylon cover on top of the fire pit for at least 4 hours after use and until the fire pit has cooled.
Care and Maintenance
Store the fire pit in a cool dry place away from direct sunlight.
- The propane tank must be disconnected and removed from the fire pit before the fire pit can be stored indoors.
- Make sure both the gas and the fire pit are turned off before changing the battery. Please refer to the process of installing the battery.
- Use manufacturer approved or supplied replacement parts and accessories only. Use of unauthorized replacement parts may void the warranty.
- Keep the fire pit free and clear from combustible materials.
- Visually inspect the burner ring for blockages (spider webs, dirt, etc.). Keep the fire pit free and clear from debris.
- After the burner ring and fire glass are completely cooled down, use a soft brush to get rid of mild stains, loose dirt and soil. Wipe with a soft cloth.
Limited Warranty
The manufacturer’s warranty will be voided by, and the manufacturer disclaims any responsibility for the following actions:
Modification of the fire bowl and/or components including the gas valve assembly.
- Use of any component part not manufactured or approved by the manufacturer.
- Use and installation other than as instructed in this manual
WARNING: FUELS USED IN LIQUEFIED PROPANE GAS APPLIANCES, AND THE PRODUCTS OF COMBUSTION OF SUCH FUELS, CAN EXPOSE YOU TO CHEMICALS INCLUDING BENZENE, WHICH IS KNOWN TO THE STATE OF CALIFORNIA TO CAUSE CANCER AND CAUSE BIRTH DEFECTS OR
OTHER REPRODUCTIVE HARM. For more information go to :www.P65Warnings.ca.gov.
Troubleshooting
| Problem | Cause | Solution | |
| There is no spark between the ignition wire and the burner’s hole while pushing the igniter button. | There is no power to the igniter. | There is no igniter battery or the igniter battery is short of power. | Replace with a new igniter battery. |
| The igniter battery is incorrectly inserted. | Reinsert the battery properly. | ||
| The igniter is broken or cracked. | Call customer service for a replacement part. | ||
| The ignition wire does not conduct electricity. | The ignition wire is loose or disconnected to the igniter. | Reinsert the ignition wire. | |
| There is electricity leakage in the ignition wire or the needle of the ignition wire cannot aim at the hole of the burner while lighting. | Call customer service for a replacement part. | ||
| There is no gas or short of gas. | The gas cylinder was not switched on. | The gas cylinder switch is not turned to On. | Turn on the valve of the gas cylinder. |
| There is no connection between the regulator and the gas cylinder. | The regulator is loose or disconnected from the gas cylinder. | Check and reconnect the regulator to the gas cylinder. | |
| There is no gas in the gas cylinder. | There is no gas or short of gas. | Check if the gas cylinder is empty, and if yes, replace it. | |
| The excess flow safety valve has been activated. | Turn on the switch of the tank and at the same time, turn on the control knob (J) which caused the excess flow safety valve to activate. | Turn the control knob to “OFF”. Switch off the valve of the gas cylinder and disconnect the regulator hose from the valve of the gas cylinder. Turn the control knob to”LOW” and wait 30 seconds. Turn the control to”OFF”, and reconnect the regulator hose to the gas cylinder. Light the appliance as indicated in the”To Light” section of manual. | |
| There was an obvious gas leakage in the gas system caused by excess gas and the flow safety valve was activated. | Check the gas system to see if there is gas leakage, and if yes, call customer service for help. | ||
| There are bends or kinks in the regulator hose. | The regulator has bends or kinks that cause the poor flow of gas inside of hose. | Straighten the regulator hose to remove all bends or kinks. | |
| The flame has blown out. | There is no gas or short of gas. | See “There is no gas or short of gas” above. | See “There is no gas or short of gas” above. |
| There are high or gusting winds. | The flame was blown out by high or gusting winds. | Move the appliance to a place without high or gusting winds. | |
| There is a loose connection to the thermocouple. | A loose connection exists between the thermocouple and the valve. | Call customer service for help. | |
| The inside of the gas screen is blocked by debris. | Debris fell inside the gas screen and blocked the flow of oxygen. | Open and clean the gas screen. | |
| Debris fell inside the gas screen and covered the flame in the burner hole which also caused the low temperature during conduction. | |||
| he guard is covered by debris. | The gas screen was covered by debris which caused improper burning. | Remove the debris from the gas screen as indicated in the manual. | |
| Too much carbon deposit is on the inside of the gas screen. | Carbon deposits will occur ifgas can not sufficiently burn when using the appliance. | Use a pincer to open the top of the gas screen and clean the carbon deposited in screen, thermocouple, ignition wire, and burner. Cover the top of the gas screen. | |
![]()























