RAZER RZ45-0460VWQ Edge Bundle Android Gaming Handheld

WHAT’S INSIDE
- Razer Edge (Model: RZ45-0460VWQ / RZ45-0461)


- A. Multidirectional speakers
- B. MicroSD card tray
- C. Array microphone
- D. Front camera
- E. Volume control buttons
- F. Power button
- G. USB Type C port
- H. Air exchange chambers
- Razer Kishi V2 Pro
A. Clickable analog thumbsticks (L3/R3)- B. Options button
- C. D-pad
- D. Share button
- E. 3.5 mm headphone / microphone combo port
- F. Extendable bridge
- G. USB Type C connector
- H. Face buttons
- I. Status indicator
- J. Razer Nexus button
- K. Menu button
- L. USB Type C port
- M. Bumpers (L1/R1)
- N. Multi-function buttons (M1 / M2)
- O. Triggers (L2/R2)
- Charging cable

- Power Adapter

- Important Product Information Guide
LET’S GET YOU COVERED
razerid.razer.com/warranty
Register your product and score exclusive benefits
Got a question? Ask the Razer Support Team at support.razer.com
SETTING UP YOUR RAZER EDGE
CHARGING
POWERING ON
OPTIONAL UPGRADE
- MicroSD card and ejector pin not included. Class 10 microSD card (up to 2TB) recommended.
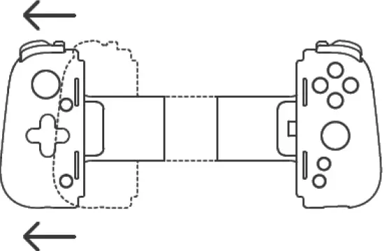
USING WITH RAZER KISHI V2 PRO
MOUNTING

CONTROLLER CHARGING
- USB Type C audio and other accessories not supported.
CONTROLLER AUDIO
- Razer headset sold separately.
Find out more about your Razer product at support.razer.com
SAFETY AND MAINTENANCE
SAFETY GUIDELINES FOR RAZER EDGE
Every device comes with its own set of safety guidelines. Here’s what we recommend for your Razer Edge.
Hardware
- Only use the accessories included with your device, and only purchase accessories made and/or approved by Razer.
- If your device’s screen gets broken or cracked, approach a qualified servicing personnel for repair.
- Your device’s screen is designed to respond to light taps and button presses. Don’t excessively tap the screen or press any of its buttons with unnecessary force.
- If you encounter problems using your device and troubleshooting fails, unplug it, and contact the Razer hotline or visit support.razer.com for assistance. Don’t service or fix the device on your own. This will void your warranty.
Usage
- Use your device in an environment with temperatures ranging from 0°C (32°F) to 40°C (104°F). Should temperatures exceed this range, unplug and/or switch off your device and let the temperature return to an optimal range.
- The Razer Edge is made for entertainment. However, do note that downloading/uploading an excessive number of files, streaming online content, enabling your device’s GPS or location, and other similar data services, may incur excessive data charges.
- Traffic laws are important. Don’t use your device when driving.
- Don’t use your device when doing any activity that requires awareness of your surroundings, like walking or jogging.
- Avoid using or turn off your device in areas that prohibit its usage such as aircrafts, gasoline stations, or theaters.
Water and Dust
The Razer Edge is rated up to IP52. It is dustproof and designed to withstand short and minimal immersions in water at minimal depths. Don’t immerse your device in hot water or in any kind of liquid such as, but not limited to: sea or salt water, pool water, and alcoholic beverages. Should your device get wet dry it thoroughly with a soft, dry cloth. Ensure your device and USB-C port is fully dry before attempting to charge your device again and/or remove your SD card tray.
Please note that damages caused by sand and/or liquid will not be covered by the warranty.
Battery Warning
The Razer Edge contains an internal, lithiumion polymer rechargeable battery. In general, the life expectancy of this battery depends upon its usage. If the battery does not charge after several attempts, it may be non-operational, and you may need to contact customer support. Don’t attempt to replace the battery yourself.
Don’t open, mutilate, or expose to conducting materials (metal), moisture, liquid, fire, or heat. Doing so may cause the battery to leak or explode, resulting in personal injury. Don’t use or charge the battery if it is leaking, discolored, or deformed. Don’t leave the battery discharged or unused for extended periods. When not using your Razer Edge for more than 30 days, store the device in a fully charged state. This will prevent damage to the battery due to an overly discharged state.
SAFETY GUIDELINES FOR RAZER KISHI V2 PRO
In order to achieve maximum safety while using your Razer Kishi V2 Pro, we suggest that you adopt the following guidelines:
Should you have trouble operating the device properly and troubleshooting does not work, make sure to unplug the device (if applicable) and contact the Razer hotline or go to support.razer.com for support. Your device should slide in and fit snuggly into your Razer Kishi V2 Pro. Should you have trouble attaching your phone to the device, check if you’re correctly sliding your phone’s Type C port into the allotted Type C connector. Don’t forcefully jam your device into the controller. Don’t take apart the device (doing so will void your warranty) and don’t attempt to operate it under abnormal current loads. Keep the device away from liquid, humidity or moisture. Operate the device only within the specific temperature range of 0°C (32°F) to 40°C (104°F). Should the temperature exceed this range, unplug and/or switch off the device in order to let the temperature stabilize to an optimal level.
MAINTENANCE AND USE
The Razer Kishi V2 Pro requires minimum maintenance to keep it in optimum condition. Once a month, we recommend you detach your phone from the device, and gently clean the device using a using a soft cloth or cotton swab to prevent dirt buildup.
LEGALESE
COPYRIGHT AND INTELLECTUAL PROPERTY INFORMATION
©2022 Razer Inc. All rights reserved. Razer, the triple-headed snake logo, Razer logo, “For Gamers. By Gamers.”, “Powered by Razer Chroma” logo and Razer Edge are trademarks or registered trademarks of Razer Inc. and/or affiliated companies in the United States or other countries. All other trademarks and trade names are the property of their respective owners and other company and product names mentioned herein may be trademarks of their respective companies.
Android, Google Play, the Google Play logo, Google Drive, Google Voice Search, Google Chrome, Google Assistant, Gmail, are trademarks of Google LLC.
Adreno, Qualcomm, Quick Charge, and Snapdragon are registered trademarks of Qualcomm Incorporated. Razer Inc. (“Razer”) may have copyright, trademarks, trade secrets, patents, patent applications, or other intellectual property rights (whether registered or unregistered) concerning the product in this guide. Furnishing of this guide does not give you a license to any such copyright, trademark, patent or other intellectual property right. The Razer Edge (the “Product”) may differ from pictures whether on packaging or otherwise. The Razer Kishi V2 Pro (the “Product”) may differ from pictures whether on packaging or otherwise. Razer assumes no responsibility for such differences or for any errors that may appear. Information contained herein is subject to change without notice.
LIMITED PRODUCT WARRANTY
For the latest and current terms of the Limited Product Warranty, please visit razer.com/warranty.
LIMITATION OF LIABILITY
Razer shall in no event be liable for any lost profits, loss of information or data, special, incidental, indirect, punitive, or consequential or incidental damages, arising in any way out of distribution of, sale of, resale of, use of, or inability to use the Product. In no event shall Razer’s liability exceed the retail purchase price of the Product.
GENERAL
These terms shall be governed by and construed under the laws of the jurisdiction in which the Product was purchased. If any term herein is held to be invalid or unenforceable, then such term (in so far as it is invalid or unenforceable) shall be given no effect and deemed to be excluded without invalidating any of the remaining terms. Razer reserves the right to amend any term at any time without notice.
FCC Part 15 Information and Notices
The FCC approved model meets the following requirements. This device complies with part 15 of the FCC Rules. Operation is subject to the following two conditions:
- This device may not cause harmful interference, and
- this device must accept any interference received, including interference that may cause undesired operation.
Note : This equipment has been tested and found to comply with the limits for a Class B digital device, pursuant to part 15 of the FCC Rules. These limits are designed to provide reasonable protection against harmful interference in a residential installation This equipment generates, uses and can radiate radio frequency energy and, if not installed and used in accordance with the instructions, may cause harmful interference to radio communications, However, there is no guarantee that interference will not occur in a particular installation.
If this equipment does cause harmful interference to radio or television reception, which can be determined by turning the equipment off and on, the user is encouraged to try to correct the interference by one or more of the following measures:
- Reorient or relocate the receiving antenna.
- Increase the separation between the equipment and receiver.
- Connect the equipment into an outlet on a circuit different from that to which the receiver is connected.
- Consult the dealer or an experienced radio/TV technician for help. Pursuant to Part 15.21 of the FCC Rules, you are cautioned that changes or modifications not expressly approved by manufacturer could void your authority to operate the device.
FCC regulations restrict the operation of this device in the 5.925-7.125 GHZ band for indoor use only. For body operation, this device has been tested and meets FCC RF exposure guidelines when used with any accessory that contains no metal and which provides a minimum separation distance of 5mm between this device and the body of the user. Use of other accessories may not ensure compliance with FCC RF exposure guidelines. Changes or modifications not expressly approved by the manufacturer could void the user’s authority, which is granted by the Federal Communications Commission, to operate this computer.
Important safety instructions
- Do not disassemble or open crush, bend or deform, puncture or shred
- Do not modify or remanufacture, attempt to insert foreign objects into the battery, immerse or expose to water or other liquids, expose to fire, explosion or other hazard.
- Only use the battery for the system for which it is specified
- Only use the battery with a charging system that has been qualified with the system per CTIA Certification Requirements for Battery System Compliance to IEEE 1725. Use of an unqualified battery or charger may present a risk of fire, explosion, leakage, or other hazard.
- Do not short circuit a battery or allow metallic conductive objects to contact battery terminals.
- Replace the battery only with another battery that has been qualified with the system per this standard, IEEE-Std-1725. Use of an unqualified battery may present a risk of fire, explosion, leakage or other hazard.
Only authorized service providers shall replace battery. (If the battery is non-user replaceable). - Promptly dispose of used batteries in accordance with local regulations
- Battery usage by children should be supervised.
- Avoid dropping the device or battery. If the device or battery is dropped, especially on a hard surface, and the user suspects damage, take it to a service center for inspection.
- Improper battery use may result in a fire, explosion or other hazard.
- the device shall only be connected to CTIA certified adapters, products that bear the USB-IF logo or products that have completed the USB-IF compliance program.
Product Rating Information
Model No.: RZ45-0460VWQ
FCC ID: RWO-RZ450460
Rating Input: 5.0V 3.0A 3.3V-11.0V 3.0A
Model No.: RZ45-0461
FCC ID: RWO-RZ450461
Rating Input: 5.0V 3.0A 3.3V-11.0V 3.0A



A. Clickable analog thumbsticks (L3/R3)


















