
INSTRUCTION MANUAL
SC-HS60014
HAIR CRIMPER

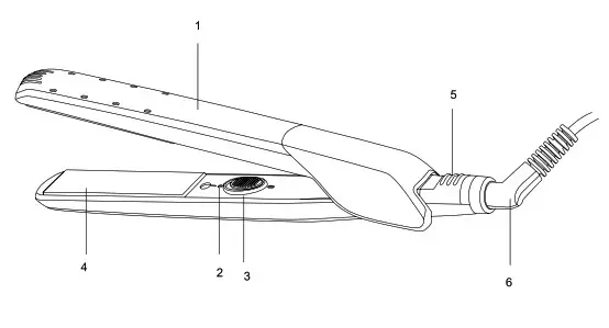
DESCRIPTION
- Case
- The indicator light
- Button on/off
- Ceramic heating elements
- Button lock plates
- Protect the power cord from twisting

220-240 V~ 50 Hz 25 W
Класс защиты II 0.32 / 0.34 kg 250х32х23 mm IM022
INSTRUCTION MANUAL
IMPORTANT SAFEGUARDS
- Please read this instruction manual carefully before use.
- Before switching on the appliance for the first time please check if the technical specifications indicated on the unit correspond to the mains parameters.
- For home use only. Do not use for industrial purposes. Do not use the appliance for any other purposes than described in this instruction manual.
- Do not use outdoors or in damp area.
- Always unplug the appliance from the power supply before cleaning and when not in use.
- To prevent risk of electric shock and fire, do not immerse the appliance in water or any other liquids. If it has happened DO NOT TOUCH the appliance, unplug it immediately and check in a service center.
- Keep the cord away from sharp edges and hot surfaces.
- Be careful, the device gets very hot during operation. Avoid contact between the hot surface of the heating plate and exposed skin, especially around the ears, face and neck during use.
- Do not leave the appliance switched on when you do not use it.
- Risk of burns. Keep the device out of children, especially during use and cooling.
- Always place the appliance on a stand, if there is one, or on a heat-resistant flat surface.
- To protect against the risk of burn, do not touch detachable plates.
- If the appliance is used in a bathroom, it should always be unplugged after use, because nearness of water is dangerous even if the appliance is switched off.
- For additional protection, the installation of a residual current device (RCD) having a rated residual operating current not exceeding 30 mA is advisable in the electrical circuit supplying the bathroom. Ask your installer for advice.
- The appliance is not intended for use for physically, sensory or mental disabled person (including children) or for person with lack of life experience or knowledge, if only they are under supervision or have been instructed about the use of the unit by responsible person.
- This appliance can be used by children aged from 8 years and above and persons with reduced physical, sensory or mental capabilities or lack of experience and knowledge if they have been given supervision or instruction concerning use of the appliance in a safe way and understand the hazards involved. Сleaning and
user maintenance shall not be made by children without supervision. - Children must be under control in order not to be allowed to play with the appliance.
- In case of power cord is damaged, its replacement should be done by the manufacture or service department or the other high-skill person to avoid any danger.
ATTENTION! Do not use the device beside the bathrooms, swimming pools and other vessels containing water.
- The manufacturer reserves the right to introduce minor changes into the product design without prior notice, unless such changes influence significantly the product safety, performance, and functions.
- If the product has been exposed to temperatures below 0ºC for some time it should be kept at room temperature for at least 2 hours before turning it on.
- Do not attempt to repair, adjust or replace parts in the appliance. Repair the malfunctioning appliance in the nearest service center.
- Manufacturing date is indicated on the unit and/or on packing as well as in accompanying documents in the following format XX.XXXX where first two figures XX is the month of production, and following four figures XXXX is the year of production.
USAGE RECOMMENDATIONS
- Wash the hair before setting it. For achieving the best result thoroughly wash the hair after using hair conditioner. Dry the hair with a towel.
- It is recommended to use a detangler before operating the device.
- Do not manipulate the same strand of hair for too long.
- When setting your hair manipulate hair strands evenly.
- Apply small amount of hair fixing spray on each strand to protect hair.
OPERATION
- The device is designed for hair straightening.
- Fully unwind the power cord.
- Connect the appliance to the mains.
- Move the on/off button to position I.The operation indicator light will light up.
- After some time, the appliance will heat up and you can start straightening.
- Divide hair into small strands.
- For straightening clamp the hair between the plates and pull from root to tip 2-4 times.
- When the installation is complete, turn the on/off button to the 0 position.
- If necessary, lock plates lock plates.
CARE AND CLEANING
- Disconnect the appliance from the power supply and allow it to cool completely.
- Use a damp, soft cloth to clean the plates and the housing.
- Do not use aggressive detergents, abrasives, solvents or cleaning agents. Never immerse in water for cleaning.
- Dry thoroughly before use.
STORAGE
- Make sure the hair crimper is completely cool and dry.
- Do not wrap the cord around the appliance, as this may cause damage.
- Keep the appliance in a cool, dry place.
The symbol on the unit, packing materials and/or documentations means used electrical and electronic units should not be toss in the garbage with ordinary household garbage. These units should be pass to special receiving point.
For additional information about actual system of the garbage collection address to the local authority.
Valid utilization will help to save valuable resources and avoid negative work on the public health and environment which happens with incorrect using garbage.
www.scarlett.ru
www.scarlett-europe.com




















