FLYTEC DASH Balance Bike

WHAT’S IN THE BOX?
BIKE FRAME
- FRONT FORK

- TUBE CLAMP

- HANDLEBAR

- SEAT

- QUICK RELEASE BRACKET

- WHEELS

- SPANNER

- RING BEARINGS X2

- NUT

- WASHER

- CLAMP COVER
EASY ASSEMBLY

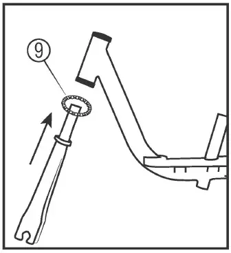
- STEP 1 :Insert the front fork (2) through the ring bearing (9) and the frame (1).

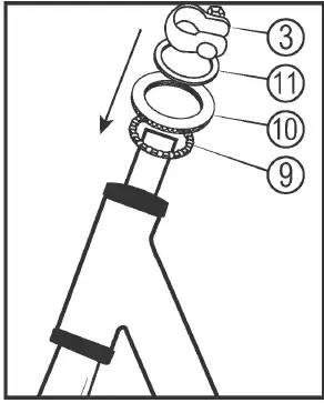
- STEP 2: Insert the second ring bearing (9), nut (A10), washer (11) and tube clamp (3) to the headset in sequence.

- STEP 3 :Insert the clamp cover ( 12) tACo the handlebar, then slide the handlebar fully onto the headset.

- STEP 4 :Lock the tube clamp (3) with the spanner (8). Hide the clamp with the clamp cover.

- STEP 5 :Place the quick release bracket (6) over the top of the frame.

- STEP 6 :Side the seat post (5) into the frame.

- STEP 7 :Hand tighten the screw on the quick release bracket (6) and close the clamp

- STEP 8 :Put the wheels (7) into the front and rear forks.

- STEP 9 :Screw the dome nuts tight on each side of both wheels, using the spanner (8).
MAINTENANCE
Wipe with a damp cloth using mild detergent and water only to remove dirt and dust. Dry thoroughly before use. Do not use industrial cleaners or solvents that may damage the surface. Routinely check that all parts are securely fastened and are in good working condition before each use. Replace worn or broken parts immediately.
No modification other than to the manufacturer’s instructions should be made. Do not leave this product in high temperature, intense sunlight or dusty areas. Store in a dry place.
WARNINGS
- When unpacking the Dash Bike, properly dispose of all plastic wrappings, and keep them away from children.
- Adult supervision is strongly recommended at all times.
- The Dash Bike should only be used by children aged 2+ years.
- The Dash Bike is for outdoor use.
- Never use the Dash Bike near steps, swimming pools, other bodies of water.
- Never use the Dash Bike on sloped driveways and hills or rough or uneven surfaces. For use on smooth paved surfaces only. Keep away from motor vehicles.
- Avoid sharp bumps, drainage grates, and sudden surface changes. Bike may suddenly stop. Avoid streets and surfaces with water, sand, gravel, dirt, leaves, and other debris.
- The Dash Bike has no brake system. The rider should stop the bike with his or her feet.
- Never use the Dash Bike in wet or icy conditions, at night or at times of limited visibility.
- Always wear proper protective gear such as an approved helmet and elbow and kneepads. Failure to wear an approved helmet may result in serious injury or death.
- Always wear closed-toe shoes when riding the Dash Bike.
- Never allow more than one child to ride the Dash Bike at any time.
- Protective equipment should be worn. Not to be used in traffic. 25kg max.
- The bike should be used with caution since skill is required to avoid falls or collisions causing injury to the user or third parties.
- The handgrips contain a metal tube. Be careful not to drop the bike when not in use. If the bike is dropped after use, over a period of time you will damage the plastic end piece and the tube. If you damage this part of the bike, it is strongly advised that you replace the damaged parts as soon as possible to avoid any accident caused by making contact with these parts.
- Obey all local traffic and bike riding laws and regulations. Watch out for pedestrians.
WARRANTY
Zinc Sports IM non-electric warranty
Thank you for purchasing the Zinc Flyte Dash Balance Bike and we hope that you enjoy using it. Please ensure that you read the following warranty. In order for your warranty to be valid you must satisfy the following conditions.
- All products must be registered at www.zincsports.com within 30 days of receiving the product for the warranty to be valid.
- Proof of purchase is also required for your warranty to be valid.
- You must be the original purchaser who bought the product from an authorised dealer, your warranty cannot be transferred.
- You must report any defects to Zinc Sports within 30 days of discovery of said defect else the warranty will not be valid.
Failure to follow the conditions highlighted above means that your warranty will be void. We recommend that you save your original sales receipt. The warranty lasts 1 year from the date of purchase. The warranty covers any manufacturing defects in materials or workmanship when used under normal use conditions and in compliance with the stipulations in the instruction manual and warranty guidelines. The warranty does not cover wear and tear or parts deemed to be wearing parts such as but not limited to; bearings, brakes, and tyres. The warranty does not cover cosmetic parts, or parts deemed as cosmetic parts such as but not limited to paint, stickers and labels. The warranty does not cover loss of parts. Spare parts may be available for purchase from Zinc Sports if you are not covered by the warranty.
Under no circumstance will Zinc Sports be obliged to provide compensation for bodily injuries, death, property damages, losses, hindrance of profits, prevention of use or any other damage that will be caused directly or indirectly as a result of usage of this device. Zinc Sports advise that you contact your insurance company to determine whether coverage is provided for the use of this bike, or to take out a new policy. For the fu 11 warranty pol icy please visit our website at www.zincsports.com
PRODUCT CODE: ZC07765 ZINC FL YTE DASH BALANCE BIKE
CUSTOMER HELPLINE
Hy-Pro advise you to contact us directly and not to return this item to the place of purchase. Hy-Pro has taken great care to ensure this item has reached you in good condition, should you have a query please ring our helpline +44 (0)800 731 0006 where your call will be dealt with promptly. Alternatively please contact us on email: [email protected]
- Keep the instruction since it contains important information.
Hy-Pro House, Centrus Park Arenson Way, Dunstable, Bedfordshire LU5 5BN.
United Kingdom
Hy-Pro Asia
Room 1011, 10/F, Peninsula Centre,
Hy-Pro Europe
Cube Building, Monahan Road, Cork, T12H1XY, Republic Of Ireland.
Cork, T12H1XY, Republic Of Ireland.
Tel: +44 (0) 800 731 0006
www.hy-pro.co.uk
BIKE FRAME




































