Pedestal with drawer

Model E6WHPED4
PDST61
Accessories
Installation
Safety Information
WARNING!
Do not stack 2 appliances over Pedestal.

WARNING! Do not install it alone.

WARNING! Before proceeding with installation, make sure there is enough room.
WARNING! Before the use of the appliance (Washing Machine or Dryer) be sure all the rear brackets (2x) are fixed by screws.
Product & Accessories Information
- Dimension

- Accessories

(A) 2 front metal brackets.
(B) 2 rear brackets for the washing machine.
(C) 2 rear brackets for tumble dryer.
(D) 10 screws. (For tumble dryer 8 screws will be sufficient.)
(E) 1 spanner to adjust the leveling feet.
(F) 2 additional containers (if available).
Installation Procedure
- Remove the pedestal and all accessories from the box.
- Make sure that the rear rubber feet are mounted.

- Adjust the front adjustable feet to make the pedestal stable.

- If you install the pedestal under a brand new appliance, unpack the appliance as indicated in the instructions supplied with it, and then proceed with step 6.
- If the appliance is already connected:
– Disconnect the mains plug from the mains socket.
– For washing machine. Close the water tap.
– For washing machine.
Disconnect the inlet hose(s) from the water tap and let the water flow out from the inlet hose(s) and the drain hose and collect it in a shallow basin.
– For tumble dryer. Empty the water container in a washbasin or, if available, activate the direct drain system to let the water flow out.
- Screw the front brackets on the pedestal.

- For washing machine. Gently lay the washing machine on its detergent dispenser side.
Lay it on a cardboard or on a piece of polystyrene to avoid scratching the cabinet. - For washing machine. Adjust the appliance adjustable feet at a suitable height to allow it to slide under the foot locking brackets.

- For washing machine. Lay the pedestal on the same side and slide it forward so that the appliance’s front feet slide underfoot locking brackets.

- For washing machine. Use the screws supplied to secure the rear brackets (B) on both the washers and the pedestal.

- For washing machine. Put the pedestal and appliance in a vertical position. If necessary, adjust the appliance feet and go to step 16. Check that the screws are firmly crewed.

- For tumble dryer. Unscrew the two bottom screws from the back of the appliance.

- For tumble dryer. Screw the rear brackets (C) on the pedestal by using the screws supplied in the stand box.

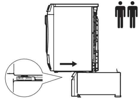
- For tumble dryer. Lift the appliance and slide back so that the appliance’s front feet slide underfoot locking brackets.

- For tumble dryer. Screw the rear brackets (C) to the back of the appliance by using the screws removed in step 12 and adjust the appliance feet if required.

- Move the Pedestal/Appliance assembly to its permanent location. Use a spirit level to check if the assembly is properly leveled.
If not level, adjust feet to level properly.
- f available, you can insert the additional container (F).

- Connect the appliance as indicated in the instructions supplied with the appliance.
Environmental Concerns
Recycle the materials with the symbol
. Put the packaging in applicable containers to recycle it.
Help protect the environment and human health and to recycle waste from electrical and electronic appliances.
Do not dispose of appliances marked
with the symbol
with the household waste.
Return the product to your local recycling facility or contact your municipal office.
Note
G0013222-002-A07155702



































