
IRIDIUM-SERIES
SUBWOOFER
OWNER’S MANUAL
GZIW 10SPL
Features
- High power SPL subwoofer
- Klippel® optimized
- Reinforced paper cone
- 2.5” copper round wire voice coil
- High-Roll sandwich surround
- Progressive 2-layer spider
- Push terminals
Specifications
| GZIW 10SPL | |
| Voice Coil Diameter mm / inch | 63 / 2.5″ |
| Impedance Ohm | 2 x 2 |
| Re Ohm | 3.86 |
| FS Hz | 40.8 |
| Qms | 5.31 |
| Qes | 0.70 |
| Qts | 0.62 |
| Vas Liter / cu.ft. | 14.3 / 0.505 |
| Le mH | 2.83 |
| MMS gr | 180.9 |
| Xmax mm / inch | 25 / 0.98″ |
| SPL dB/m | 84 |
| BL TESLA – M | 16 |
| Power W SPL | 700 |
| Recommended amplifier power | 400 – 700 WRMS @4 Ohm ( 1 Ohm) |

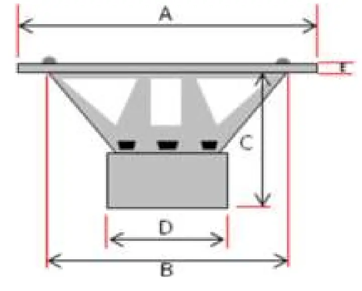
| A | 257 mm / 10.12“ |
| B | 230 mm / 9.06“ |
| C | 147 mm / 5.79“ |
| D | 150 mm / 5.9“ |
| E | 5 mm / 0.2“ |
Enclosure recommendation
| Vented Red | 40 Liter netto / 1.57 cu.ft. net |
| Port | 1 x 8 cm / 1 x 3.15” |
| Length* | 24 cm / 9.45” |
| F3 | 28.9 Hz |
| Bandpass 4 th order Green | 16 Liter netto geschlossen / 0.56 cu.ft. net sealed 20 Liter netto ventiliert / 0.71 cu.ft. net vented |
| Port | 1 x 8 cm / 1 x 3.15” |
| Length* | 16 cm / 6.3” |
| Fb | 57 Hz |
| Bandwidth (-3dB) | 34 – 94 Hz |
| Sealed | 18 – ~500 Liter netto / 0.64 – 17.66 cu.ft. net |
| Minimum Volume Black | Min. 18 Liter netto / Min. 0.64 cu.ft. net |
| Qtc / F3 | 0.83 / 47.8 Hz |
| Maximum Volume Blue | Free-Air |
| Qtc / F3 | 0.63 / 47.2 Hz |

The above-mentioned enclosure recommendations are just a few possible variations.
Please note that you should find the perfect tuning, especially port length, based on your car and your own taste.
Limited warranty – defective products must be returned in original packaging – please add a copy of the original purchasing invoice showing the purchasing date and a detailed description of the failure. Failure caused by overload, misuse, or by using the product for competition purposes is not covered by the warranty. We reserve the right to make needed changes or improvements to the product without informing customers about this in advance.
http://www.ground-zero-audio.com
Ground Zero GmbH
Erlenweg 25, 85658 Egmating, Germany
Tel. +49 (0)8095/873 830
Fax -8310
www.ground-zero-audio.com



















