Instructions for use
General product information

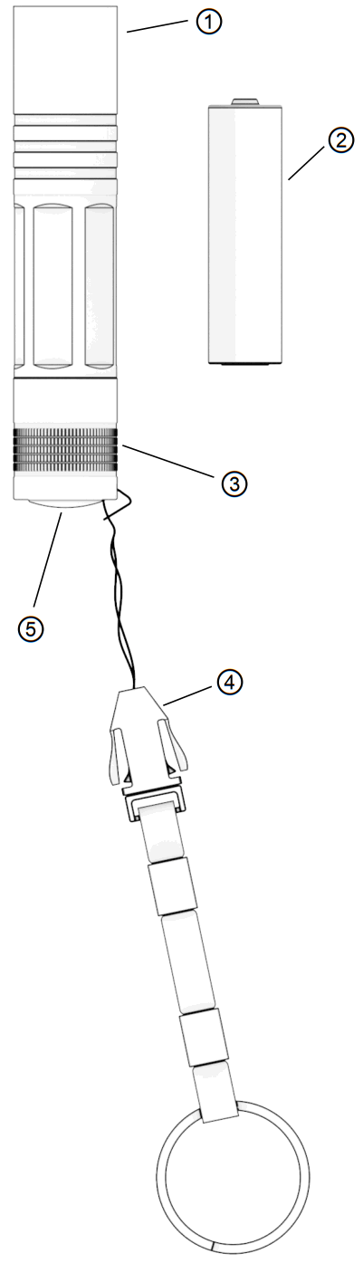
1.1 Product description
- Lamp head
- Battery (Type AA)
- Screw-off end cap
- Quick fastener with key ring tag
- On/off push switch
1.2 Product
Designation Electric torch MAULjuno
Product no.: 81862
1.3 Scope of supply
Electric torch
Quick fastener with key ring tag
1 battery (Type AA)
Quick illustrated guide
1.4 Area of application
The electric torch is suitable for use outdoors and is splash-proof (IPX4)
Important information for safe use
2.1 Warranty
MAUL GmbH only guarantees the safety and proper functioning of the electric torch under the condition that:
- the electric torch is used and maintained exclusively for its intended use and in accordance with the specifications of these instructions for use
- only original spare parts and accessories approved by MAUL are used
- no modifications are made to the electric torch
2.2 Completeness
Before use, visually check the electric torch for completeness and for any possible damage
2.3 Damage
In case of damage or missing parts, please consult the point of sale.
2.4 Purposes of the system
2.4.1 Standards and directives
- The CE mark confirms compliance with the applicable standards and legal provisions
2.4.2 Intended use
- The electric torch is used to see and to be seen in the dark.
- The electric torch is suitable for use outdoors.
- Any use beyond the conditions specified above is regarded as improper use. The user is solely liable for damages resulting from improper use.
2.4.3 Target group
The electric torch is suitable for persons without disabilities who are over 14 years of age.
Persons with disabilities and children between the age of 6 and 13 may only use the electric torch with when accompanied or supervised by a parent or legal guardian or by a caretaker.
2.5 Disposal
- Do not dispose of the electric torch and battery / rechargeable battery in domestic waste, but rather at the disposal point for the recycling of electrical and electronic devices in accordance with countryspecific regulations. This device contains recyclable materials.
- Used batteries / rechargeable batteries must be handed over to local battery collection points or wherever batteries are sold in accordance with country-specific regulations.
Safety instructions
3.1 Structure of the safety instructions
In these instructions for use, important instructions are identified by pictograms and signal words.
3.1.1 Identification of injury hazards
Signal words such as DANGER, WARNING and CAUTION refer to the classification of a potential injury hazard.
DANGER
DANGER indicates an immediately dangerous situation that, if not prevented, will result in death or serious injury.
WARNING
WARNING indicates a potentially dangerous situation that, if not prevented, may result in death or serious injury.
CAUTION
CAUTION indicates a potentially dangerous situation that, if not prevented, may result in moderate or minor injury.
PLEASE NOTE
3.1.2 Identification of material damage
PLEASE NOTE indicates a potentially dangerous situation that, if not prevented, may result in material damage.
NOTE
3.1.3 Identification of additional information
NOTE provides you with additional information and helpful tips for the safe and efficient use of the electric torch.
3.2 Pictograms supplementing the safety information
Risk of explosion: warning about the explosion of the battery / rechargeable battery caused by intense heat
Risk of glare: warning about glare caused by a light beam with high luminance
Follow the instructions for use: reminder to comply with these instructions for use
3.3 Pictograms on the lamp
Optical radiation: warning about potential damage to the retina caused by photobiological radiation
3.4 Pictograms on the packaging
CE mark: confirms compliance with the applicable standards and legal provisions
3.5 Overview of the most important safety instructions
- The following safety instructions must be read carefully before using the electrical torch!
- If the torch is handed over to other persons, the instructions for use must be provided with it.
- If warnings or warning symbols are applied to the product, they may not be removed.
HEALTH HAZARD
WARNING
RISK OF ACCIDENT / INJURY FOR CHILDREN
Do not place the electric torch in the hands of children or persons hindered by medication, drugs, or physical or mental disabilities, as there is a risk of damage to the eyes and a risk of accidents.
For this reason:
- Do not allow children to play with the torch.
- Persons with disabilities should only use the lamp under the supervision or guidance of a responsible person.
WARNING
RISK OF GLARE
The strong glare effect of the lamp may cause a temporary impairment of eyesight and afterimages that may lead to irritations, impairments or accidents.
For this reason:
- Never look directly into the light beam or direct the light into the eyes of other persons, and do not examine the pupils.
- Do not direct the light beam onto persons or animals, as they may be blinded.
- Do not use any strongly focussing instruments to view the light beam.
- Do not use multiple electric torches at the same time, as this increases the optical radiation and thus the risk of retinal damage.
- Instruct commercial users or users in the public sector in the applicable laws and regulations.
What should I do:
→ If a light beam strikes your eyes, deliberately close them and move your head away from the light beam.
CAUTION
RISK OF INJURY
Do not use the electric torch or accessories if they are damaged, as they pose a risk of injury.
For this reason:
- Put damaged parts out of operation and replace them or have them repaired properly
CAUTION
PHOTOBIOLOGICAL SAFETY (EYE SAFETY)
According to the standard IEC 62471, the electric torch is classified in Risk Group 2 (moderate risk) and therefore goes beyond the “Free Group”. There is a risk of retinal damage from optical radiation (blue light 400 nm to 780 nm).
NOTE
ELECTROMAGNETIC COMPATIBILITY
The electric torch meets the requirements of Directive 2014/30/EU with respect to electromagnetic compatibility.
MODIFICATIONS / REPAIRS
CAUTION
DO NOT MAKE ANY MODIFICATIONS / REPAIRS
It is not allowed to make repairs, add-ons or modifications to the torch, as this may result in damage to the electric torch or put persons at risk.
For this reason:
- Do not damage, modify or short-circuit the electric torch, or use it as a tool.
- Do not open the electric torch (LED cannot be replaced).
- Never perform any repairs yourself. Bring the electric torch to the seller / retailer.
BATTERIES AND RECHARGEABLE BATTERIES
WARNING
RISK OF EXPLOSION OR ACID BURN
Intense heat may cause batteries / rechargeable batteries to explode.
Leaking battery acid may cause acid burns.
For this reason:Batteries and rechargeable batteries
- may not be exposed to direct solar radiation / intense heat for an extended period,
- may not be heated or thrown in the fire and heat accumulation in the electric torch must be prevented e.g. by covering,
- may not be thrown in the water or left in the rain,
- may not be ingested,
- may not be opened, damaged or short-circuited,
- may only be charged if they are properly marked,
- may not be stored within reach of children,
- may only be inserted according to the marks (+/-) shown in the battery compartment,
- must be removed from the electric torch if not used for an extended period or if they are discharged
What should I do:
In case of leaking batteries, put cloths underneath the batteries and prevent the battery fluid from contacting the skin, eyes and mucous membranes. In case of contact, immediately flush the affected spots with plenty of clear water and consult a physician.
PLEASE NOTE
CHANGING THE BATTERIES / RECHARGEABLE BATTERIES
- Store batteries / rechargeable batteries in a clean, dry place at a temperature between -10°C and +25°C.
- Only insert batteries / rechargeable batteries according to the mark (+/-).
- If necessary, clean the contacts of the batteries / rechargeable batteries or the electric torch prior to insertion.
- Only use the prescribed batteries / rechargeable batteries.
- Only use batteries / rechargeable batteries of the same make.
- Never use new and used batteries / rechargeable batteries together.
- Always change all batteries / rechargeable batteries at the same time.
- Do not store batteries / rechargeable batteries within reach of children.
- Observe the instructions of the manufacturer of the battery charger when charging batteries.
PLEASE NOTE
MALFUNCTIONS OF THE ELECTRIC TORCH
Always check the functioning of the electric torch prior to use and, to be safe, take along a spare electric torch and spare batteries / rechargeable batteries. If the electric torch does not function or does not function correctly, proceed as follows:
- Check whether the batteries / rechargeable batteries were inserted with the correct polarity (+/-) and are functional.
- Check the contacts of the electric torch / batteries and clean if necessary.
What should I do:
→ In order to use all the functions again, insert new batteries / rechargeable batteries.
DISPOSAL / ENVIRONMENTAL PROTECTION
PLEASE NOTE
DISPOSAL / RECYCLING
Do not dispose of the electric torch and the batteries / rechargeable batteries in domestic waste. They must be disposed of according to the country-specific regulations. This device contains recyclable materials.
For this reason:
- Hand over the electric torch to a local collection point for the recycling of electric and electronic devices.
- Hand over used batteries / rechargeable batteries to the local battery collection point or wherever batteries / rechargeable batteries are sold.
- Separate packaging material and dispose of it properly.
Overview of abbreviations
The following abbreviations are used in these instructions:
LED > Light Emitting Diode
Operation

5.1 Switching the electric torch on and off
The electric torch can be switched on and off by pressing the push switch ①
5.2 Changing the batteries
- Press the switch ① to switch off the electric torch
- Screw off the end cap ② of the electric torch in a counter-clockwise direction
- Remove the battery ③
CAUTION
RISK OF EXPLOSION AND FIRE
Always insert batteries with the correct polarity
Note the +/- mark - Insert a new battery ③ with the correct polarity
- Screw on the end cap ② in a clockwise direction
PLEASE NOTE
The electric torch may only be operated with standard 1.5 V
Type AA batteries.
5.3 Cleaning
When cleaning, observe the following:
- Only clean the electric torch with a dry, lint-free cloth
- Do not use any aggressive chemicals or abrasive cleaners
5.4 Quick fastener with key ring tag
- To open the quick fastener ④: Press Ⓐ and Ⓑ together and pull off in the direction of Ⓒ
- Key ring ⑤ for fastening the electric torch
5.5 Tests
Every product is subject to wear with time. Test the safety and functioning of the electric torch and the batteries annually or before each use.
PLEASE NOTE
REPLACE AND DISPOSE OF DAMAGED OR OLD BATTERIES.
DO NOT USE THE ELECTRIC TORCH AND ACCESSORIES AND CONTACT THE SELLER / RETAILER.
5.6 Warranty
Our products are subject to a strict final quality control. Should this electric torch unexpectedly fail to function properly, please consult the seller / retailer.
PLEASE NOTE
IMPROPER REPAIRS
The device may only be repaired by an authorised service company, otherwise the statutory warranty becomes invalid.
Technical data
| Designation | Value |
| LED | 1 x LED |
| Length | 94 mm |
| Head diameter | 20 mm |
| Weight (without packaging and battery) | 32 g |
| Batteries | 1 x alkaline battery, Type AA, 1.5 V, 2300 mAh |
| Luminous flux * | 15 lm |
| Luminous range * | 10 m |
| Lighting duration ** | 11 h |
| Protection against water | IPX4 |
* Luminous flux (lumen) / maximum luminous range (metres) measured in the brightest setting when switching on the torch with new batteries. The values are average values that may deviate by + / – 20% depending on the LED and the battery.
** The lighting duration defines the duration measured 30 seconds after switching on the torch for the first time with new batteries to the time at which the luminosity reaches 10% of its initial value.
www.maul.de
Instructions for use 81862 Vers. 01



















