LG 16Z90R Series 16 Inch Notebook mit Windows 11 Home
Product Information: LG Notebook 16Z90R Series
The LG Notebook 16Z90R Series is a laptop computer designed for personal and professional use. It is equipped with a solid-state drive (SSD) for fast and efficient performance and has a full HD display for clear and vivid visuals. The notebook includes a built-in webcam, microphone, and speakers for video conferencing and multimedia playback. It also has various ports for connectivity, including USB-C, HDMI, and microSD card slots. The notebook runs on the Windows operating system and comes with an AC adapter and power cable.
Product Usage Instructions:
- Precautions before Product Use:
- Read the owner’s manual before using the product.
- Back up all critical user data to an external storage device to avoid data loss.
- Wait for the system to completely load before shutting it down.
- Checking the Components:
- Ensure all components are included before use.
- Product Tour:
- Familiarize yourself with the layout and features of the notebook.
- Note that the actual product may differ in shape and color from the images in the owner’s manual.
- Connecting LAN Adapter:
- If using a LAN adapter, connect it to the USB-C port on the right side of the notebook.
- Use a CAT5 or higher network cable for an optimal network environment.
- Power Connection:
- Connect the AC adapter to the notebook and a power source.
- Use only the provided power cable (USB-C) for power supply purposes.
- System Shutdown / Power Off:
- Wait for the system to completely load before shutting it down.
- Press and hold the power button for a few seconds to turn off the notebook.
- Important Safety Precautions:
- Do not disassemble or modify the notebook.
- Avoid exposing the notebook to water or other liquids.
- Keep the notebook away from heat sources and direct sunlight.
By following these usage instructions and taking necessary precautions, you can safely and efficiently use your LG Notebook 16Z90R Series for all your personal and professional needs.
Precautions Before Product Use
For the convenience of users, LG PC Manuals are provided in an electronic format. For more information on how to use the product, refer to the LG Easy Guide of the LG PC Manuals. The images in the owner’s manual may differ depending on the language selected and are subject to change without prior notice. Any malfunction in the built-in solid-state drive (SSD) may result in loss of stored data. You must back up all critical user data to an external storage device (USB HDD, memory card, etc.). If you shut the system down before it is completely loaded, the product may not shut down properly. Shut down the system after it is completely loaded. (It takes about one or two minutes to completely load the system and may vary depending on the conditions.) The screen and menu configurations may differ from this manual depending on the status of the Windows and software updates. Also, the version of Windows may differ depending on the model.
Checking the Components
The components shown below are provided when you purchase the product. Check the components before use.
- Some of its components may look different in shape and color from the pictures in certain models.
- When cleaning the product, use a cleaning agent dedicated to the PC. If you use thinner, benzene, alcohol or other similar agent, the product may be damaged or deformed.

- The AC adapter may differ depending on your country, but there is no difference in their functionality.
- The power cable (USB-C™) provided as a component only supports power supply and the USB 2.0 specifications. Do not use it for other than power supply purposes.
- The recommended network cable for the optimal network environment is CAT5 or higher.
Product Tour
The actual product may differ in shape and color from the product images included in this owner’s manual.
- IR LED
- Webcam
- Webcam Operation Status Lamp
- Built-in Microphone
- Keyboard
- Touchpad
- Power Button

NOTE
- You can use hot keys to use Windows more conveniently. For details, refer to the LG Easy Guide of the LG PC Manuals.
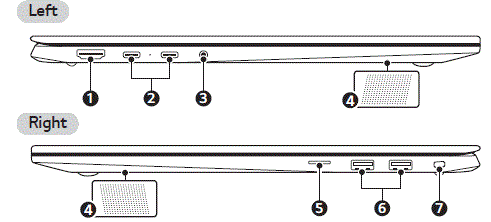
Connecting LAN Adapter
- HDMI Port
- USB-C™ Port 1 (USB 4.0 Gen 3×2 / Thunderbolt™ / Can connect to a LAN adapter / Power Port)
- Headphone Port
- (4-pole Ear Microphone Port 2 )
- Built-in Speakers
- microSD Card Slot
- USB Port (USB 3.2 Gen 2×1 3 )
- Security Keyhole (Kensington Security Slot)

- Depending on the specifications of the device connected to the USB-C™ port, it acts as a USB or Thunderbolt™ port. The USB-C™ port provides Quick Charging and Always-On Charging functions for devices that support USB PD (Power Delivery).
- The 4-pole ear microphone port supports US type 4-pole standards and the European 4-pole ear microphone may not work properly. When using ear microphone (or Bluetooth headset), audio input and output are directed to the connected device and the microphone and speaker on PC do not work. The 4-pole ear microphone port does not support external microphone.
- The name of the USB version has been changed from USB 3.1 (or USB 3.1 Gen 2) to USB 3.2 Gen 2×1. Devices that are not authorized with USB may not operate normally when connected to the USB port. The transmission speed of a USB port may differ depending on the type of storage device (NVMe™, SSD, HDD, etc.) in the system and the connected USB device.
Connecting LAN Adapter
- Connect the LAN adapter to the USB-C™ port on the PC.
- The USB-C™ port can be used without having to differentiate between the top and bottom sides.
- Connect the network cable (LAN) to the LAN adapter.
- Check if you can connect to the internet properly.

Power Connection
The AC adapter is used to power and charge the PC.
- Do not use any other AC adapter than the one that was provided when you purchased this product.
- The power cable and AC adapter may differ depending on your country or region.
- Connect the power cable to the AC adapter main body, and connect the AC adapter to the power outlet.
- The AC adapter can be used from 100 V to 240 V.
- Connect the power cable to the USB-C™ port of the PC.
- Ensure that the power cable linked to the AC adapter and product is connected firmly.

- Ensure that the power cable linked to the AC adapter and product is connected firmly.
- Connect the power cable to the AC adapter main body, and connect the AC adapter to the power outlet.
When the AC adapter is connected, the AC adapter lamp turns on.
If you try to turn on the system that has entered the Hibernates mode or been turned off after a low-battery alarm, the system will not be turned on but the lamp will blink three times. If this is the case, connect the AC adapter and charge the battery sufficiently before using it.
System Shutdown / Power Off
Press the [
] key or [Ctrl] + [ESC] to display the Start menu.
- Press the Start button [
] > Power button [
] and select [Shut down].
Important Safety Precautions
Check the following ‘Important Safety Precautions’ to prevent unexpected danger or damage in advance. ‘Important Safety Precautions’ is divided into ‘WARNING’ and ‘CAUTION.’
WARNING: Noncompliance with the instruction may cause serious physical damage or fatal injuries.
CAUTION: Noncompliance with the instruction may cause minor damage to the body or the machine.
While Using the Product
WARNING

Guide on Battery Usage
NOTE
- This product has a built-in battery pack. After purchasing your PC, be sure to charge the battery pack completely before using it for the first time.
- The battery is a wearable good and thus the battery may not last as long as before after the battery has been used for a long time.
- The internal battery cannot arbitrarily be removed or replaced. Removing it may void the warranty.
- If you need to remove or replace the battery, visit a designated service center.
- We charge a fee for removing or replacing the battery.
Pre-Tech Support Checklist
Troubleshooting
If the following symptoms appear while using the product, check again. It may not be a malfunction.



Appendix
Registered Trademark and Open Source Information
Microsoft™, MS™, WinPE™, and Windows® are the registered trademarks of Microsoft Corporation™. USB Type-C™ and USB-C™ are trademarks of USB Implementers forum. Intel® and Intel® logo, Intel® Core™, Thunderbolt™ and Thunderbolt™ logo, Intel® Unison™ and Intel® Unison™ logo are trademarks or registered trademarks of Intel and/or subsidiaries in the United States and/or other countries. microSD® and the microSD logo are trademarks or registered trademarks of SD-3C, LLC. Wi-Fi® is a registered trademark of Wi-Fi Alliance Corporation. To obtain the source code that is contained in this product, under GPL, LGPL, MPL, and other open source licenses that have the obligation to disclose source code, and to access all referred license terms, copyright notices and other relevant documents please visit https://opensource.lge.com. LG Electronics will also provide open source code to you on CD-ROM for a charge covering the cost of performing such distribution (such as the cost of media, shipping, and handling) upon email request to [email protected]. This offer is valid to anyone in receipt of this information for a period of three years after our last shipment of this product.
Battery take-back information
In case rechargeable battery is included in this product, the rechargeable battery should be recycled in compliance with rechargeable battery recycling standards. To dispose of properly, call 1.800.822.8837 or visit
www.call2recycle.ca.
For the safe and convenient use of the product, please read this owner’s manual before use.
16Z90R Series
Copyright © 2023 LG Electronics Inc. All Rights Reserved
www.lg.com
MFL71980337 


























