![]()
M-1380 DBT

User Manual
Please read the instructions carefully before operating the unit.
BLUETOOTH SPEAKER WITH DAB+/FM RADIO, CD AND USB PORT

UNPACK THE UNIT
When you unpack your new tower, make sure that you have removed all the accessories and information papers:
– Tower speaker
– Remote control
– Aux in cable
– 75 Ohm antenna cable
– Installation accessories
A. Wooden base.
B. Washer x4
C. Assembly screw x4
If you want to use your Bluetooth speaker, assembled the wooden base to the main body by the supplied screws and washers first. Insert the 75 Ohm antenna cable to external aerial socket.
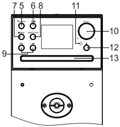
LOCATION OF CONTROLS




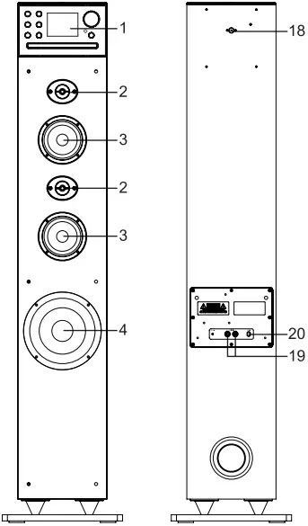
- TFT display
- Tweeters
- Main speakers
- Subwoofer
/ SOURCE: To turn unit on/off; To select function mode: DAB+, FM, Bluetooth, Disc, USB, AUX or RCA-
/
: Bluetooth pairing function; Play/ Pause
/ MENU: Stop playback; To access the setting menu; Return to previous step; To review the information transmitted by the radio station- PRESET/SCAN: Preset radio station; auto scan the station
,
: Skip/ Search/ Tuning- SELECT +/-: To adjust volume; setting up/ down; To confirm the selection/ settings
- Remote sensor
: To open / close the disc tray; Stereo pairing function.- CD compartment
- USB port for charging
- AUX IN jack (3.5mm)
- USB port for MP3 playback
NFC Tag- External aerial socket
- AUDIO IN L/R RCA jacks
- AC Power Cord
- Cradle for tablet or Smartphone
CRADLE FOR TABLET OR SMARTPHONE
1. Push to lift up the cradle cover.

2. Place your tablet or smartphone on the cradle.

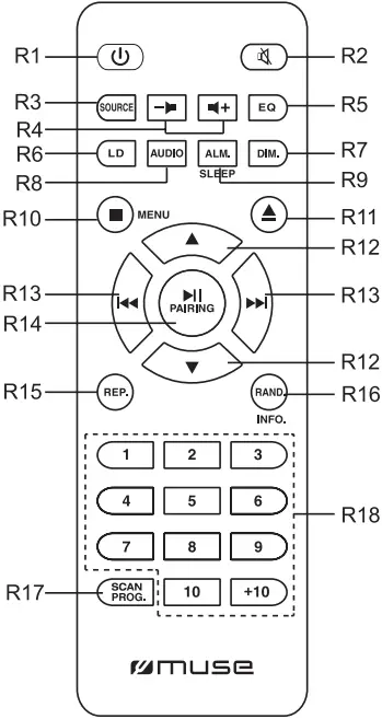
REMOTE CONTROL

R1.
: To turn unit on/off
R2.
: To mute or restore sound
R3. SOURCE: To select DAB+, FM, Bluetooth, Disc, USB, AUX or RCA mode.
R4.
/
: To adjust volume
R5. EQ button: To select desired sound effects: Default/ Rock/ Classic/ Jazz / Pop
R6. LD button: Loudness On/Off
R7. DIM. button: To set the time out of display backlight and adjust the brightness level of display.
R8. AUDIO button: To set the value of Bass/ Treble mode.
R9. ALM./ SLEEP button: To set the alarm time from alarm menu; To select sleep time.
R10.
/ MENU: Stop playback; To access the setting menu; Return to previous step.
R11.
button: To open/ close the disc tray; Stereo pairing function.
R12.
/
: Select up/ down; Folder up/ down
R13.
,
: Skip/ Search/ Tuning
R14.
/ PAIRING: Play/ Pause; Bluetooth pairing function
R15. REP. button: To repeat playback
R16. RAND./ INFO. button: To turn on/ off random play function; To review the information transmitted by the radio station
R17. SCAN/ PROG.: Preset radio station; auto scan the station; To program playback sequences
R18. 1-10, +10 buttons: Number entry
INSTALLING BATTERY
Insert 2 “AAA/ UM4” batteries to the remote control prior to use. Make sure to match their polarities (+/-) to the markings inside the compartment.
Before throwing any batteries away, consult your distributor who may be able to take them back for specific recycling.
NOTES:
– Never recharge the batteries, apply heat to them or take them apart.
– If the remote control is not going to be used for a long time, remove the battery to avoid damage caused by battery leakage corrosion.
– Attention should be drawn to the environmental aspects of battery disposal.
– Do not throw batteries in fire!
– Battery shall not be exposed to excessive heat such as sunshine, fire or the like.
CAUTION: Danger of explosion if battery is incorrectly replaced. Replace only with the same or equivalent type.
POWER SUPPLY
This set operates on AC 100-240V~50/60Hz.
Connect the power cord to a convenient AC wall outlet.
Note: In a concern of saving energy, when playback has reached to the end or listening volume is set at a very low level and no control is operated on the device for a period of 15 minutes, the unit will automatically switch to Standby mode.
TURNING UNIT ON/OFF
- Press
button to turn on the unit. - Long press
button on unit or press
button on remote control to turn off the unit.
SELECTING FUNCTION
When the unit is on, repeatedly press SOURCE button to select desired mode: DAB+, FM, Bluetooth, Disc, USB, AUX or RCA.
ADJUSTING VOLUME
Rotate the SELECT +/- button on unit or press
/
on remote control to adjust the volume level.
AUDIO CONTROLS
LOUDNESS
Press LD button on remote control to enter into loudness setting mode. Press
/
on remote control to select loudness mode ON/OFF. Press
on remote control to confirm.
BASS/ TREBLE
Press AUDIO button on remote control to set the value of Bass. Press
/
on remote control to adjust the value. Press
on remote control to confirm.
When the Bass value have set, Treble digital will blink automatically. Press
/
on remote control to adjust the value. Press
on remote control to confirm.
MUTING THE SOUND
When the unit is on, press
button to mute the sound. Press again to restore.
EQ
Press EQ button on remote control enter into EQ setting mode, press
/
on remote control to select different sound effects (Default / Rock/ Classic/ Jazz/ Pop) and press
on remote control to confirm.
SETTING THE TIME AND DATE
- In standby mode, press and hold MENU button to access main menu.
- Rotate SELECT knob to select “Time setup”, press SELECT knob to enter into time setting menu.
- Rotate SELECT knob to select <Set time>, then press SELECT knob to confirm.
- Use SELECT knob to set the date (DD/MM/YYYY) and time (HH:MM). (Rotate SELECT knob to adjust the setting; then press SELECT knob to confirm.)
- Rotate SELECT knob to select <Clock format> and press SELECT to confirm.
- Rotate SELECT knob to select “24” or “12”, then press SELECT to confirm the clock format.
SETTING THE ALARM
In standby mode, press ALM. button on remote control to access alarm setting mode. Rotate SELECT knob to select an option and/ or adjust the setting, then press SELECT knob to confirm.
Select “Alarm 1” or “Alarm 2”, then press SELECT to confirm.
– Enable: Off, Daily, Once, Weekdays, Weekends
** Off: The alarm is off.
** Daily: The alarm will sound every day.
** Once: The alarm will sound one time only.
** Weekdays: The alarm will sound on weekday only. (Monday to Friday)
** Weekends: The alarm will sound on weekend only. (Saturday and Sunday)
– Time: To set the alarm time
– Mode: To set the wake-up source: DAB, FM or Buzzer.
– Preset: Select the last-listened radio station or desired preset radio station. This option is only available when wake-up source is DAB or FM.
– Volume: To set the alarm volume
– Save: Select this option and press SELECT to confirm all above settings. “Saved” will appear for a few seconds and the alarm indicator will be displayed.
The alarm indicator will blink when the alarm time is reached.
Note: In 12 hour clock format, be sure to observe the AM/PM indicator to set the alarm time correctly.
Stopping the Alarm
1 – Alarm repetition
Press any buttons except
and
buttons to enter into snooze mode.
The display will show “Snooze” and the remaining snooze time. Repeatedly press SELECT knob on unit or
button on remote control to set remaining snooze time: 04:59 < 09:59 < 14:59 < 29:59.
The alarm indicator and snooze indicator will blink in snooze mode.
2 – Alarm stop
Press
to stop the alarm.
Note:
– When “Daily” is set, the alarm will sound again the next day at the same time.
– When “Once” is set, the alarm will not sound again. The alarm indicator will light off.
– When “Weekdays” is set, the alarm will sound again on next weekday (Monday to Friday) at the same time.
– When “Weekends” is set, the alarm will sound again the following Saturday or Sunday at the same time.
3 – Alarm Cancellation
Press ALM. to access alarm setting menu. Rotate SELECT knob to select “Alarm 1” or “Alarm 2”, then press SELECT to confirm. Rotate SELECT knob to select <Enable> and press SELECT to confirm. Rotate SELECT to select <Off> and press SELECT to confirm to cancel the alarm. The alarm indicator disappears.
SLEEP FUNCTION
When the unit is ON, long press SLEEP button on remote control to enter to sleep setting mode, press
/
button on remote control to select “15-30-45-60-90-120” minutes of listening, press
to confirm. Sleep icon
with remaining time will show on the display. The unit will automatically turn off after the specified time. To cancel the sleep function, press
/
button on remote control to select “Sleep off”, and press
to confirm. Sleep icon
disappears.
DIMMER
Press DIM. button on remote control to enter into display backlight setting. Press
/
button on remote control to select your desired option, press
on remote control to confirm.
– Timeout: Always On > 10s > 20s > 30s > 45s > 60s > 90s > 120s >180s
– Level: To select the brightness level of display from level 1 to level 8.
LISTENING TO DAB/DAB+ RADIO
Connect an external antenna (supplied) to external aerial socket on back of unit before playing DAB function.
When the unit is ON, repeatedly press SOURCE button to select DAB mode.
icon displayed.
The first time you use the unit, or if the station list is empty, the unit automatically performs a full scan to see what stations are available. The display will change to “Scanning……”. A progress bar will show the progress of the scan and the number of stations found during the scan will also be displayed. Stations are listed in numerical and then alphabetical order by default.
You may also need to start a scan manually to update the list of stations for one of the following reasons:
– New stations may become available from time to time.
– Stations close or can no longer be received (In the station list, invalid stations are indicated with a question mark in front of their name).
– If reception was not good for the original scan (for example the antenna was not up), this may result in an empty or incomplete list of available stations.
– If you have poor reception of some stations causing the audio to break up, you may wish to list only stations with good signal strength.
To do a full scan, press and hold MENU button to enter into setting menu, rotate SELECT knob to select <Full scan> and press SELECT to start a scan.
Once the scan is complete, the radio returns to play the previously selected station or first station on the station list.
Select a station with
/
, then press SELECT on unit or
on remote control to confirm.
Note:
– If no broadcasts are found by DAB/DAB+ scan, “No station found” appears in the display, then display will switch to DAB menu for the setting. Then display will switch to DAB menu for the setting.
– For a better reception, extend the external antenna or do the full scan again in another place.
– During the search operation, the sound level is automatically muted.
– When do the setting in the menu, press the
button to return to previous step.
LISTENING TO FM RADIO
When the unit is ON, repeatedly press SOURCE button to select FM mode.
icon and FM frequency with program type correlative information will be displayed.
Tune to a desired radio station with
/
.
Automatic storage
Long press
/
button. The automatic search locates strong stations.
Automatic storage
Press and hold SCAN button on unit or on remote control for few seconds and the unit will automatically save the first 20 FM stations. When it stores on a channel already been preset, the previous station will automatically be cleared and replaced by the new station.
Note: For a better reception, insert the antenna cable into the external aerial socket and extend it.
PRESET STATIONS
This unit can store 20 FM and 20 DAB/DAB+ stations.
- Repeatedly press SOURCE button to select FM or DAB mode.
- In FM mode, tune to a desired radio station with
/
button.
In DAB mode, tune to a desired radio station with
/
button, press SELECT button on unit or press
button on remote control to confirm. - Press PRESET/SCAN on unit or SCAN/PROG. on remote control to enter into preset store mode.
- Rotate SELECT knob on unit or press
/
button on remote control to select a preset channel, then press and hold PRESET on unit or SCAN/PROG. on remote control to confirm.
Note: If you choose a station that hasn’t been allocated, “Empty” will be displayed. If the station has been allocated before, the FM frequency or DAB station name will be displayed. - Repeat step 2-4 to store other stations.
Quick Preset
You can use the number buttons to access quick preset. Select a radio station, then press and hold the number button to store the station in preset channel respectively.
If you want to save the number of preset stations bigger than 10, please use +10, 1-10 button.
Example 1, to save the 14th preset station, firstly press +10 then press and hold 4. (10+4=14). Example 2, to save the 20th preset station, firstly press +10 then press and hold 10. (10+10=20)
Listen to the radio presets.
Preset station list
Press PRESET button on unit or SCAN/PROG. button on remote control once. Preset station list will be displayed. Rotate SELECT button on unit or
/
button on remote control to select your desire preset station, press SELECT button on unit or
on remote control to confirm.
Number button
Press (1-10, +10) number buttons on remote control to recall the station in preset channel.
BLUETOOTH FUNCTION
The Bluetooth® word mark and logos are registered trademarks owned by Bluetooth SIG, Inc. and any use of such marks by New One S.A.S is under license. Other trademarks and trade names are those of their respective owners.
Pairing a Bluetooth Device
1. When the unit is on, repeatedly press SOURCE button to select Bluetooth icon
. The display will show “Connecting…” to indicate that it is in pairing mode.
2. On the Bluetooth device, enable Bluetooth and select “M-1380DBT” from the Device List. (Refer to the user manual of the device to be connected for detailed operations.) If the Bluetooth device prompts for a pass code, use “0000”. Some Bluetooth devices will ask you to accept the connection. If the units are paired properly, you will hear the indication sound. The display will show “Connected”.
Note:
- If you want to connect your Bluetooth speaker to another Bluetooth audio device, long press
/
to disconnect current device first and follow the steps above to make a new connection. - On some devices such as computers, once paired you must select the unit from the Bluetooth menu and choose “Use as Audio Device (stereo)” or similar.
- Pairing remains intact when the unit and/or your Bluetooth device is taken out of communication range. An active connection will be reestablished when your Bluetooth device returns within range.
- When the unit is turned on again, it will automatically try to reconnect with the most recently paired Bluetooth device.
Using a Bluetooth Device
- With a unit paired (see previous section), operate your Bluetooth device and its sound will be heard through the M-1380 DBT’s speakers.
- Press the
button to pause playback. Press again to resume playback. - Select desired track with
/
. - Adjust the volume using the
/
Volume buttons. You can also adjust the volume on the device to which you are paired.
Using a NFC Device
NFC (Near Field Communication) is a technology that enables short-range wireless communication between NFC-enabled devices, such as mobile phones.
- When the unit is on, repeatedly press SOURCE button to select Bluetooth icon
. The display will show “Connecting…” to indicate that it is in pairing mode. - Enable NFC and Bluetooth on your Bluetooth device (see the user manual of your device for details, tap the NFC device on the NFC tag on unit until you hear an indication voice). The display will show “Connected”. NFC device is connected to this unit via Bluetooth.
- Select and play audio files or music on your NFC device.
- To break the connection, tap the NFC device with the NFC tag
on this unit again.
Note: The operational range between the main unit and a NFC device is approximately 10 meters.
STEREO PAIRING
This function makes it possible for you to get stereo surround sound quality. It requires two Bluetooth speakers M-1380 DBT to realize the real Bluetooth radio channel wireless separation, therefore, you’ve got to purchase two M-1380 DBT. Tips: it is suggested that the distance between the main speaker and secondary speaker is within 4 meters.
- Turn on two Bluetooth speakers M-1380 DBT.
- When both speakers are in pairing mode, press
button on one Bluetooth speaker which will become the main speaker (left channel) until you hear the indication voice “Searching”, then it will search and connect to the secondary speaker (right channel). They will recognize the left and right channel automatically. You will hear the indication voice “Stereo Pairing” when the two speakers are connected successfully. - Connect your main speaker to Bluetooth enabled device (e.g. smart phone).
- Play your song and listen to the sound in stereo.
- Press
button on either speaker to pause playback. Press again to resume playback. - Press and hold
button on the main speaker to disconnect the stereo pairing.
Hereby, NEW ONE S.A.S, declares that this MUSE M-1380 DBT is in compliance with the essential requirements and other relevant provisions of Directive 2014/53/EU. The declaration of conformity may be consulted at www.muse-europe.com
LISTENING TO DISC
- When the unit is ON, repeatedly press SOURCE button to select Disc icon
. The display will show “Reading…”. Press
to open the disc tray. Insert a disc with label side facing up. Press
again to close the disc tray. (Note: If there is no disc inserted, the display will show “NO DISC“). - After a few seconds, the total number of tracks will appear on display for a few seconds and playback starts automatically.
LECTURE USB
- Connect an USB device to the USB MP3 port on unit.
- Repeatedly press SOURCE button to select USB icon
. The display will show “Reading…”. It will start to playback automatically after few seconds. - Select desired track with
/
.
Notes:
– The total number of MP3 files on the USB device should not exceed 999.
– The device may not contain more than 99 directories.
– The reading time takes about a few seconds or more depending on the amount of MP3 files and folders on USB device.
– Do not put anything other than a USB device to the port of this unit. Other objects may damage the USB mechanism.
– The USB socket must not be connected to the computer directly, for that may damage the unit.
– There are many USB devices in the market. We cannot guarantee to support all different models. Please try another USB device if your device is not supported.
PLAY MODES (CD/MP3)
Repeat playback
Press REP. button on remote control repeatedly to select a play mode, repeat indicator will lights up.
– Repeat One: display shows “
“.
– Repeat folder: display shows “
“. (MP3 only)
– Repeat All: display shows “
“.
To cancel repeat playback, press REP. button repeatedly until repeat indicator disappears.
Random playback
Press RAND. button on remote control. Random indicator “
” lights up. It will play all tracks in random order. Press RAND. button again to cancel this function. Random indicator lights off.
Program playback
- In stop mode (press
button once), press PROG. button on remote control. The display will show “
01″ and 01/xx (xx is total number of track). - Select the desired track with
/
, then press PROG. button to confirm. - Repeat above steps to program up to 32 tracks for CD and 99 tracks for MP3.
- Press
to start program playback. - Press
button on remote control once to stop the program playback. Press
twice to cancel this function.
Select a folder (mp3 only)
- Press
on remote control to select the first track of next folder of your current disc or USB. - Press
on remote control to select the first track of previous folder of your current disc or USB.
By number buttons 1~10
Use the number buttons to input the track number, and it will start playback from the selected track automatically. If you want to input the track number bigger than 9, use the 1-10 button.
Example 1, to select the 10th track, firstly press 1 then press 10 (1+10=10)
Example 2, to select the 14th track, firstly press 1 then press 4 (1+4=14)
Example 3, to select the 40th track, firstly press 4 then press 10 (4+10=40)
Example 4, to select the 305th track, firstly press 3 then press 10, and press 5 (3+10+5=305)
CONNECTING AUXILIARY SOURCE
To AUDIO IN RCA jacks
- Connect your auxiliary source (e.g. DVD player) to the AUDIO IN L/R jacks on back of unit with RCA audio cable (cable not included).
- Press SOURCE button repeatedly to select RCA icon. The display will show “
“. - Start playback from your auxiliary source.
- Adjust the volume to desired level.
- To stop playback, disconnect your auxiliary source from the AUDIO IN L/R jacks.
To 3.5mm AUX IN jack
- Connect your auxiliary source (e.g. mp3 player) to the AUX IN jack of unit (cable included).
- Press SOURCE button repeatedly to select AUX icon. The display will show “
“. - Start playback from your auxiliary source.
- Adjust the volume to desired level.
- To stop playback, disconnect your auxiliary source from the AUX IN jack.
When the unit is on, press and hold MENU button to access setting menu. Rotate SELECT knob to select an option and/ or adjust the setting, then press SELECT to confirm.
Note:
– The “
” will be displayed next to the current setting.
– When do the setting in the menu, press the MENU button to return back to previous step.
DAB setting menu
Station List
Show a full list of DAB stations available.
Full Scan
This function allows you to automatically scan and create a list of receivable DAB broadcasts.
Manual tune
This function can be used to assist the positioning of antenna or the unit, to enhance specific channel or frequency reception ability. Rotate SELECT knob to select <Manual tune> and press SELECT to confirm. Rotate SELECT to select your desired frequency and press SELECT to tune to the station for the selected frequency.
Station order
Multiplex: Stations are listed in numerical and then alphabetical order.
Alphanumeric: Stations are listed in alphabetical order.
Active: stations are listed according to the signal strength of stations.
DRC (Dynamic range compression)
DRC can make quieter sounds easier to hear when the unit is used in a noisy environment.
Rotate SELECT knob to select “Off “, “Low” or “High”, then press SELECT to confirm.
DRC off – no compression. This is the default setting.
DRC low – medium compression.
DRC high – maximum compression.
Note: DRC is effective only in dynamic range compression broadcast.
Prune station
Remove stations that are listed but unavailable.
The display will show “This will remove all invalid stations, continue?”
Rotate SELECT to select “Yes” and press SELECT to confirm.
Main menu
* Time setup
** Set time
Set date (DD/MM/YYYY) and time. Refer to the operations in section “SETTING THE TIME AND DATE“.
** Clock format
Set time format: 12/24 hour clock display.
** Auto update
No update: show the time from system setting.
From radio: time update from FM or DAB/DAB+.
* Alarms
Set the alarms. Refer to the operations in section “SETTING THE ALARM“.
* EQ
Select the desired sound effect: Default, Rock, Classic, Jazz, Pop.
* Sleep
Set the sleep time. Refer to the operations in section “Sleep function“.
* Backlight
Set the backlight time out / level. Refer to the operations in section “Dimmer“.
* Language
To select the desired language of the unit’s menu: English, Français, Deutsch, Nederlands.
* Factory Reset
To restore to factory default settings.
* SW version (Software version)
To review the current software version.
FM setting menu
Audio setting
To select between “Stereo or mono” and “Mono only” for the FM radio.
Main menu
Refer to the operaitons in section ” DAB setting menu/ Main menu“.
Note: In Bluetooth, Disc, USB, AUX or RCA mode, press and hold MENU button to enter ” Main menu” for setting. Refer to the operaitons in section ” DAB setting menu/ Main menu”.
MAINTENANCE
Cleaning
WARNING: Disconnect the unit from the mains supply before cleaning.
– Use a soft, dry, clean cloth. Regularly dust the vents at the back or sides.
– Using solvents, abrasive or alcohol-based products risks damaging the appliance.
– If an object or liquid enters inside the appliance, unplug it immediately and have it checked by an authorized engineer.
Notes on disc
* Do not use irregular shape CDs (example: heart-shaped, octagonal ones). It may result in malfunctions.
* Do not place more than one disc in the disc compartment.
* Do not try to open the disc compartment during playing.
* Do not touch the lens. Doing so may cause malfunction.
* If there is a scratch, dirt or finger prints on the disc, it may cause tracking error. Before playing, clean the disc with a cleaning cloth. Wipe the
disc from the center out. Don’t store discs in places with high temperatures or high humidity, they can become warped. After playing, store the disc in its case.
Important Note
- Before transporting the unit, remove the disc from the disc compartment.
NOW PLAYING INFORMATION
While a station is playing, the display shows its name and DLS (Dynamic Label Segment) information transmitted by the radio station such as program name, track title and contact details. When you short press MENU button on unit or INFO. button on remote control each time, the next set of information is displayed, cycling through:
DAB mode:
Program type, ensemble name, DAB variant/ channel number, region, date/ channel number, frequency, bit rate, codec/ signal error rate, signal strength/ Radio text
FM mode:
Radio Text/ PTY (Program Type), signal strength, date
ERROR MESSAGES
`Not available’: No DAB reception
`No DAB station’: The listed station cannot be found.
(No name): The current station does not broadcast an identify name.
`No station found’: No DAB stations are available, check/move the antenna
`No Radio Text’: No RDS text information is available on this station.
`No Program Type’: No RDS program type information is available.
TECHNICAL SPECIFICATION
GENERAL
POWER SUPPLY: AC 100-240V~50/60Hz
Consumption: 60W
BLUETOOTH
Bluetooth Version: V5.0
Bluetooth: 2.402-2.48GHz
RF Output Power: -3.905dBm
Working Distance: Up to 10 meters measured in open space (wall and structures may affect range of device)
RADIO
FM: 87.5-108MHz
DAB/DAB+: 174.928-239.200 MHz
Specifications are subject to change without notice.
TROUBLESHOOTING GUIDE
Should this unit exhibit a problem, check the following before seeking service:
No Power
- Make sure unit is connected to AC power.
No Sound – General
- External device’s volume is set to minimum; raise volume.
- The M-1380 DBT’s volume is set to minimum; raise volume.
The Bluetooth device cannot pair or connect with the unit.
- You have not activated the Bluetooth function of your device. Refer to the user manual of your device to activate Bluetooth function.
- The unit is not in pairing mode. Press and hold the
/
button until the Bluetooth indicator blink fast. - The unit is already connected with another Bluetooth device; disconnect that device and then try again.
SAFETY INSTRUCTIONS
CAUTION: To reduce the risk of electric shock, do not open the device, there is no party inside for the user. Refer all servicing to qualified personnel.
The lightning with the arrow symbol in the triangle is a warning sign alerting the user to “dangerous voltage” inside the unit.
The exclamation point in the triangle is a warning sign alerting the user of important instructions accompanying the product.
The Caution mark is located at the back of the device.
WARNING: TO PREVENT FIRE OR SHOCK HAZARD, DO NOT EXPOSE THIS APPLIANCE TO RAIN OR MOISTURE.
CAUTION: Invisible laser radiation when open and interlocks defeated. Avoid exposure to beam. This compact disc player is classified as a CLASS 1 LASER product. The CLASS 1 LASER PRODUCT marking is located on the back cabinet.
CLASS 1 LASER PRODUCT
IMPORTANT
– The use of apparatus in moderate climates.
– The Marking plate is located at the back of the device.
– Make sure to have a minimum distance of 5 cm around the unit for sufficient ventilation.
– Ensure that the ventilation openings is not covered with items such as newspapers, tablecloths, curtains, etc.
– Do not place naked flame sources, such as lighted candles on the apparatus.
– Do not expose this appliance to dripping or splashing water.
– Do not place objects filled with liquids, such as glass, vase on the device.
– Do not throw batteries into fire! Respect the environment when disposing of used batteries.
– Batteries should not be exposed to excessive heat such as sunshine, fire or other similar heat source.
– The power plug is used as a disconnect device and must be easily accessible. To be completely disconnected from the power, the plug of the appliance should be disconnected completely. The socket must not be obstructed and should be easily accessible during intended use.
– Under the influence of fast transient and / or electrostatic electric phenomenon, the product may malfunction and the user must perform a power reset of the device.
If in the future, you need to get rid of this product, please note that Waste electrical products should not be disposed of with household waste. Recycling facilities exist. Check with your municipality or ask your dealer for advice. (Directive for Waste Electrical and Electronic Equipment)
NEW ONE S.A.S
10, Rue de la Mission, 25480 Ecole Valentin, France



















