AROMA 24V Diffuser

Using Guide

MIST/TIME SPRAY sWITCH
Tip: When you press the “
” switch for the first time, the aromatherapy machine will work in fog mode by default. If you press the switch for 10 seconds, the MID/GONT LED will flash with its lights, and the aromatherapy machine will change into a little fog mode.
- Press the “
” switch for the first time; the aromatherapy lamp lights and the mist spray out. - Press “
” switch a second time; the aromatherapy machine will work in a 10-second spray and stop for 10 seconds mode, with “10-second intermittent signals” lights. - Press the “
” switch a third time; the aromatherapy machine works in a 2-hour timer mode, with the “2 hours timing signals” lights. - Press the “
” switch a fourth time; the aromatherapy machine works in a 4-hour timer mode, with the “4 hours timing signals” lights. - Press the”
” switch a fifth time; the aromatherapy machine stop working, - Mist button: Default small mist mode when turn on the machine without signal light on.The signal light will be on when turns into dense mist mode.
LIGHT SWITCH
- When the aromatherapy machine starts working, the light will change into an automatic colorful cycle mode.
- When the light is in the process of circulation, pressing the”
switch will set the system to the current light color. - Press the
switch again to choose your lighting; you can then press the switch to change to a color you want each time (with seven kinds of color; each color has two levels). - After rotating all colors, press the
switch again to close the light. - Press the
switch again to return to seven color automatic cycle mode.
Using Steps
- Pick up the cover in the direction shown by the arrow
- Add water to the atomizing chamber

- Cover the lid in this direction
- Connect the power supply shown by the arrow

How to add aromatherapy oil:
Turn off the power supply, remove the cover, and add the aromatherapy oil you choose to the atomizing chamber, then add a suitable amount of water. Cover the lid and turn on the power.
Note:
When adding water to the tank, please add the right amount of water under the scale mark. If the amount of added water is over or under the highest scale, there will be less or more mist sprayed out. Do not dump the machine in use, and keep it far away from places children can access.
Note:
If add too much water at first, there will be less stream. As the number of water decreases, the fog will get bigger.
Product maintenance
- Turn off the machine and unplug the power supply.
- Take off the cover and pour out the water from atomizing chamber in the annotation “MAX” position direction.
- Wipe the cover and water tank with a soft cotton cloth.
- Wipe the center of the tank gently with a cotton swab. It is recommended to be every 7 to 14 days.
Common faults

Use requirements
- This product is suitable for use with clean water or pure water; it is not suitable for use with corrosive liquid.
- If the product is not carefully operated, the water may leak into the host internally. If so, please unplug the power supply immediately, pour out the water, clean the body and let stand for about 3 days in a ventilated place. Let it dry naturally. If there is any other abnormal occurrence, please contact your local dealer or contact us directly.
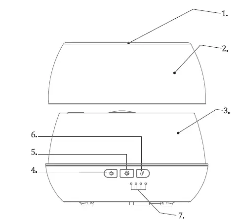
Product Structure and Function
- Mist mouth
- Cover
- Atomizing chamber
- MIST/TIME
- LIGHT
- Big/Small Fog
- ON 1OSEC 2H 4H

This aroma diffuser combines modern science and technology and a simple novel design. The principle is to use ultrasonic vibration plant aromatherapy essential oil and water and spray superfine particles with 5 microns, creating a large number of negative ions, which is more likely to be inhaled by the human body. This provides access to the essence of natural aromatherapy’s effect, which helps you relax in a stressful work environment, release healthy nerves, and increase the skin’s moisturizing effect. Warm prompt: The effect is best when using in the bedroom with aromatherpy essential oi, which can effectively improve sleep quality.
Specifications
- Model:24V
- Color: White
- Input voltage:AC100-240V 50/60 Hz
- Output voltage: D C24V 0.65A
- Power: 12 W – 14w
- Aerosolized amount: Level 2
- Ultrasonic frequency: 2.4MHz
- Dimensions:168x168x120mm
- Volume:500 ml
Compliance FCC Statement
This equipment has been tested and found to comply with the limits for a Class B digital device, pursuant to part 15 of the FCC Rules. These limits are designed to provide reasonable protection against harmful interference in a residential installation. This equipment generates, uses and can radiate radio frequency energy and, if not installed and used in accordance with the instructions, may cause harmful interference to radio communications. However, there is no guarantee that interference will not occur in a particularinstallation. If this equipment does cause harmful interference to radio ortelevision reception, which can be determin ed by tuming the equipment off and on, the user is encouraged to try to correct the interference by one or more of the following measures:
- Reorient or relocate the receiving antenna.
- Increase the separation between the equipment and receiver.
- Connect the equipment into an outlet on a circuit different from that to which the receiver is connected.
- Consult the dealer or an experienced radio/ TV technician for help. This device complies with part 15 of the FCC Rules. Operation is subject to the following two conditions:
- This device may not cause harmful interference.
- this device must accept any interference received, including interference that may cause undesired operation. Cautions Any changes or modifications not expressly approved by the party responsible for compliance could void the user’s authority to operate the equipment.
FCC Radiation Exposure Statement
This equipment must be installed and operated in accordance with provided instructions and the antenna(s) used for this transmitter must be installed to provide a separation distance of at least 20 cm from all persons and must not be co-located or operating in conjunction with any other antenna or transmitter. End-users and installers must be provided with antenna installation instructions and transmitter operating conditions for satisfying F exposure com.






















