Breville BES450 the Bambino Brushed Stainless Steel

the Bambino™
Instruction Book – BES450
IMPORTANT SAFEGUARDS
READ ALL INSTRUCTIONS BEFORE USE AND SAVE FOR FUTURE REFERENCE
- Carefully read all instructions before operating and save for future reference.
- Remove any packaging material and promotional labels or stickers before using the appliance for the first time.
- To eliminate a choking hazard for young children, remove and safely discard the protective cover fitted to the power plug of this appliance.
- Do not touch hot surfaces. Use handles or knobs as advised in this instruction book.
- To protect against fire, electric shock and injury to persons do not immerse the power cord, plug, or appliance itself in water or other liquids.
- This appliance can be used by children aged from 8 years and above if they have been given supervision or instruction concerning use of the appliance in a safe way and understand the hazards involved.
- Cleaning and user maintenance shall not be made by children unless they are aged from 8 years and above and supervised.
- Keep the appliance and its cord out of reach of children aged less than 8 years.
- Appliances can be used by persons with reduced physical, sensory or mental capabilities or lack of experience and knowledge if they have been given supervision or instruction concerning use of the appliance in a safe way and understand the hazards involved.
- Children shall not play with the appliance.
- Close supervision is necessary when any appliance is used by or near children.
- Unplug from outlet when not in use and before cleaning. Allow to cool before putting on or taking off parts and before cleaning the appliance.
- It is recommended to regularly inspect the appliance and power cord. Do not use the appliance if there is damage to the power cord or plug, or after the appliance malfunctions or has been damaged in any way. Immediately stop use and call Breville® Consumer Support.
- The use of accessory attachments not recommended by Breville® may result in fire, electric shock or injury to persons.
- Do not use the Bambino™ inside a cabinet.
- Do not place the appliance near the edge of a table or counter-top. Ensure the surface is level, clean and free of water and other substances.
- Do not let the power cord hang over the edge of a bench or table or become knotted.
- Do not place the appliance on or near a hot gas or electric burner.
- Do not place it in or allow it to come in contact with a heated oven.
- This appliance is recommended for household use only. Do not use this appliance for anything other than its intended use. Do not use outdoors. Do not use in moving vehicles or boats.
- Keep the appliance and accessories clean. Follow the cleaning instructions provided in this book.
- Any procedure not listed in this instruction booklet should be performed at an authorised Breville® Service Centre.
- The installation of a residual current device (safety switch) is recommended to provide additional safety protection when using electrical appliances.
- It is advisable that a safety switch with a rated residual operating current not exceeding 30mA be installed in the electrical circuit supplying the appliance. See your electrician for professional advice.
NOTICE TO CUSTOMERS REGARDING MEMORY STORAGE
- Please note that in order to better serve our customers, internal memory storage has been imbedded into your appliance. This memory storage consists of a small chip to collect certain information about your appliance including the frequency of use of the appliance and the manner in which your appliance is being used. In the event your appliance is returned for service, the information collected from the chip enables us to quickly and efficiently service your appliance. The information collected also serves as a valuable resource in developing future appliances to better serve the needs of our consumers. The chip does not collect any information regarding the individuals who use the product or the household where the product is used. If you have any questions regarding the memory storage chip, please contact us at [email protected]
SPECIFIC INSTRUCTIONS FOR BES450
- This appliance is recommended for household use only. Do not use this appliance for other than its intended use. Do not use in moving vehicles or boats. Do not use outdoors. Misuse may cause injury.
- If the appliance is to be:
- left unattended
- cleaned
- moved
- assembled; or
- stored,
always switch Off the espresso machine by simultaneously pressing the 1 CUP and HOT WATER buttons. Unplug from the power outlet.
- Ensure the product is properly assembled before first use.
- Do not use any other liquid apart from cold mains/tap water. We do not recommend the use of highly filtered, de-mineralized or distilled water as this may affect the taste of the coffee and how the espresso machine is designed to function.
- Do not leave the product unattended when in use.
- Do not touch hot surfaces. Allow the product to cool down before moving or cleaning any parts.
- Use caution when operating the machine, as metal surfaces are liable to get hot during use.
WARNING
To avoid the risk of injury, use caution when descaling, as hot steam may be released. Before descaling, ensure drip tray is inserted. Refer to ‘Care & Cleaning’ for further instructions.
Ensure the portafilter is firmly inserted and secured into the group head before starting the extraction. Never remove the portafilter during the brewing process.
WARNING
To avoid the risk of injury, do not open the brew chamber during the brew process.
WARNING
Do not place portafilter, the tamper or any parts of the appliance in the dishwasher.
WARNING
Do not immerse power cord, power plug or any parts of the appliance or the appliance in water or any other liquid.
WARNING
Misuse may cause injury.
SHORT CORD INSTRUCTIONS
Your Breville® appliance is fitted with a short power cord to reduce personal injury or property damage resulting from pulling, tripping or becoming entangled with a longer cord. Longer detachable power cords or extension cords are available and may be used if care is exercised. If an extension cord is used,
- the marked electrical rating of the cord set, or extension cord should be at least as great as the electrical rating of the appliance,
- the cord should be arranged so that it will not drape over the counter-top or table where it can be pulled on by children or tripped over unintentionally and
- the extension cord must include a 3-prong grounding plug.
BREVILLE ASSIST™ PLUG
- Your Breville® appliance comes with a unique Assist™ Plug, conveniently designed with a finger hole to ease removal from the power outlet.
FOR HOUSEHOLD USE ONLY SAVE THESE INSTRUCTIONS
Components
- A. 1.4L (47 fl.oz) removable water tank
- B. Control panel
1 CUP, 2 CUP, hot water, steam buttons - C. Group head
- D. 54mm aluminium portafilter (WARNING: NOT dishwasher safe)
- E. Steam wand grip
- F. Steam wand
- G. Removable drip tray grid
- H. Removable drip tray with full indicator
ACCESSORIES
- A. Stainless steel milk jug
- B. 54mm tamper (Note: Do not submerge in water or any liquid)
- C. Steam wand tip cleaning tool
(Located under the water tank) - D. Single Wall filter baskets (1 cup & 2 cup)
- E. Dual wall filter baskets (1 cup & 2 cup)
- F. Descaling powder
Bambino™ Features
- COMPACT FOOTPRINT
Cafe quality coffee in a compact machine. - MANUAL MILK TEXTURING
Manually textures milk from silky smooth latté to creamy cappuccino. - THERMOJET ™ TECHNOLOGY
Innovative heating system achieves ideal extraction temperature in 3 seconds. - PID TEMPERATURE CONTROL
Electronic PID temperature control for increased temperature stability. - LOW PRESSURE PRE-INFUSION
Applies low water pressure at the start of the extraction to gently expand grinds for an even extraction. - VOLUMETRIC CONTROL
Preset 1 & 2 cup volumes, manual over-ride or programmable shot volumes. - INSTANT HOT WATER
Hot water outlet via the steam wand for making long blacks and pre-heating cups.
Assembly
BEFORE FIRST USE
Machine Preparation
Remove and discard all labels and packaging materials attached to your machine. Ensure you have removed all parts and accessories before discarding the packaging.
Clean the drip tray, drip tray grid, portafilter, filter baskets using warm water and a gentle dish washing liquid. Rinse well and dry thoroughly before use.
Functions
FIRST USE
- Remove the water tank and fill it with potable water to the indicated MAX line. Place the water tank back firmly onto the machine.
- Ensure that the drip tray is firmly placed on the machine.
- Place a 500ml container under the portafilter and steam wand for the water drips for this first cycle.
- Plug the power cord in the power outlet, and the 1 Cup button illuminates.

- Press the 1 Cup button to begin the first use cycle.
NOTE
The first use cycle is to rinse the machine and prime the heating system.
STANDBY MODE
To turn off the operation and enter standby mode, press the 1 Cup and Hot Water buttons for 0.5 second simultaneously.
NOTE
Unit will enter ‘standby mode’ when idle or no interaction from user after 10 minutes.
Replace the water tank onto the machine, press down ensuring it is properly attached and sitting flush against the back of the machine.This machine includes both single and dual wall 1 Cup and 2 Cup filter baskets. Use the 1 cup filter basket when brewing a single cup and the 2 cup filter baskets when brewing 2 cups or a stronger single cup or mug. Adjust the grind amount and size if switching from a single basket to a double basket, or vice versa.
- Cup filter basket = 8-11g
- Cup filter basket = 16-19g
Single Wall filter baskets should be used when grinding fresh whole coffee beans roasted less than 30 days. These single wall filter baskets allows you to experiment with grind, dose and tamp to create a more balanced espresso.
DUAL WALL FILTER BASKETS
When grinding coffee beans, the grind size should be fine but not too fine. The grind size will affect the rate at which the water flows through the ground coffee in the filter basket and the taste of the espresso.
If the grind is too fine (looks like powder and feels like flour when rubbed between the fingers), the water will not flow through the coffee even when under pressure. The resulting espresso will be OVER EXTRACTED, dark in colour and bitter in flavour.
If the grind is too coarse, the water will flow through the ground coffee in the filter basket too quickly. The resulting espresso will be UNDER EXTRACTED and lacking in colour and flavour.
- Insert the filter basket into the portafilter.
- Grind enough coffee to fill the filter basket.
- Tap the portafilter several times to collapse and distribute the coffee evenly in the filter basket.
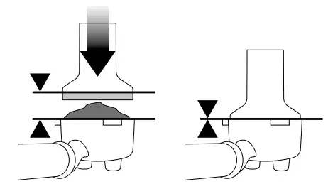
- Using the tamper, tamp down firmly (approx. 15-20kgs (30-40 lbs.) of pressure). The amount of pressure is not as important as the consistent pressure every time.
As a guide, the top edge of the cap on the tamper should be level with the top of the filter basket AFTER the coffee has been tamped.
NOTE
We recommend quality 100% Arabica beans with a ‘Roasted On’ date stamped on the bag, not a ‘Best Before’ or ‘Use By’ date. Coffee beans are best consumed between 5–20 days after the ‘Roasted On’ date. Stale coffee may pour too quickly from the portafilter spouts and taste bitter and watery.
PURGING THE GROUP HEAD
Before placing the portafilter into the group head, run a short flow of water through the group head by pressing the 1 Cup or 2 Cup button. This will stabilize the temperature prior to extraction.
INSERTING THE PORTAFILTER
Place the portafilter underneath the group head so that the handle is aligned with the INSERT position. Insert the portafilter into the group head and rotate the handle towards the centre until resistance is felt.
Place your cup/s under the portafilter on the drip tray.
EXTRACTING ESPRESSO
As a guide the espresso will start to flow after 8–12 seconds (infusion time) and should be the consistency of dripping honey.
If the espresso starts to flow after less than 7 seconds, you have either under dosed the filter basket and /or the grind is too coarse. This is an UNDER EXTRACTED shot.
If the espresso starts to drip but doesn’t flow after 12 seconds, the grind is too fine. This is an OVER EXTRACTED shot.
PRE-PROGRAMMED SHOT VOLUME – 1 CUP
Press the 1 Cup button for less than 1 second, the button will flash indicating that it has been selected. A preset single espresso volume of approximately 30ml will be extracted.
The machine will automatically stop once the pre-set volume has been extracted.
PRE-PROGRAMMED SHOT VOLUME – 2 CUP
Press the 2 Cup button for less than a second, the button will flash indicating that it has been selected. A preset double espresso volume of approximately 60ml will be extracted. The machine will automatically stop once the pre-set volume has been extracted.
NOTE
Pressing the corresponding 1 Cup or 2 Cup button during the programmed espresso extraction will immediately stop the extraction.
PROGRAMMING COFFEE VOLUME
Press and hold the 1 Cup and 2 Cup buttons for 2 seconds, the buttons will illuminate and flash.
To set the 1 Cup volume:
- Press the 1 Cup button for about 3 seconds to start the extraction.
- Press the 1 Cup button again to stop the extraction. The modified volume will be saved.
To set the 2 Cup volume, follow the above steps and select the 2 Cup button to start and stop the extraction.
NOTES
- It no user input after 30 seconds. Machine returns to ‘ready mode’
- The modifhed coffee volume will be saved into memory for the next use or when the machine is re-started.
- Pressing the steam or hot water button at any stage will cancel the operation and the machine will return to ready mode without saving any coffee volume program.
MANUAL PRE-INFUSION AND SHOT VOLUME
Press and hold the 1l Cup or 2 Cup button for more than a second. After one second the pump will start at pre-infusion pressure and continue while button is pressed. Release the button to start the extraction. Press any button again to stop the extraction.
MANUAL MILK TEXTURING
- Lift the steam wand and insert into the milk jug with the steam wand tip 1-2cm (¾ inch) below the surface of the milk, close to the right-hand side of the jug at
a 3 o’clock position. - Press the STEAM button to begin texturing
- Keep the steam wand tip just under the surface of the milk until the milk is spinning clockwise, producing a vortex (whirlpool effect).
- With the milk spinning, slowly lower the jug. This will bring the steam wand tip to the surface of the milk and start to introduce air into the milk.
- Gently break the surface of the milk with the tip to get the milk spinning fast enough.
- Keep the steam wand tip at or slightly below the surface, continuing to maintain the vortex. Texture the milk until sufficient volume is obtained.
- Lift the jug to lower the tip beneath the surface but keep the vortex spinning. The milk is at the correct temperature (60-65°C) when the jug is hot to touch.

- When texturing is close to acceptable desired result, press any button to stop texturing.
- After the steam is released completely, remove the steam wand from the milk jug.
- Wipe the wand and tip with a clean damp cloth.
STEAM WAND MANUAL PURGE
To reduce steam wand blockages, we recommend running steam through the steam wand after milk texturing. Lower and point steam wand directly on drip tray and away from users and press the steam button to run steam to rinse steam wand, or press and hold steam button for 3 seconds, to activate the steam wand purge. This will run short water pulses through the steam wand.
NOTE
Both 1 Cup and 2 Cup buttons will blink during the steam purge function.
WARNING
After pressing steam button, the steam can’t stop immediately, it needs a few seconds to completely stop steam.
STEAM WAND BLOCKED
Regularly check steam performance. If the steam wand is blocked, it will immediately stop operating. See ‘Cleaning the Steam Wand’ for further instructions.
HOT WATER OPERATION
Hot water through the steam wand
When machine is on ‘ready mode’, press hot water button, and hot water flow will start through the steam wand. Press any button to stop hot water flow.
WARNING
Cup temperature is at 90°C (194°F). Be careful in handling hot beverages.
EXTRACTION TIPS
A great espresso is about achieving the perfect balance between sweetness, acidity, and bitterness. The flavour of your coffee will depend on many factors, such as the type of coffee beans, degree of roast freshness, coarseness or fineness of the grind, dose of ground coffee and tamping pressure. Experiment by adjusting these factors just one at a time to achieve the taste of your preference.

Care & Cleaning
CLEAN & DESCALE CYCLE
The Bambino Espresso machine requires regular cleaning and descaling and the machine will flag when it is expected for a clean. The 2 Cup button will continuously flash; indicating machine will need cleaning and descaling.
NOTE
Pressing any of buttons will cancel the alert and return the machine to ready mode.
WARNING
It is NOT recommended to ignore the clean cycle warning because after regular use, hard water can cause mineral build-up in and on many of the inner functioning components, reducing the brewing flow, brewing temperature, power of the machine, and the taste of the espresso.
WARNING
Do not immerse the power cord, power plug or appliance in water or any other liquid. The water tank should never be removed or completely emptied during descaling.
TO PERFORM A CLEAN & DESCALE CYCLE
- Empty the drip tray and re-insert firmly into position on the machine.
- Fill the water tank to the DESCALE line indicated and add the descaling agent to the water.

- Place a 2L container under the group head and steam wand.

- Press the 2 Cup and Steam buttons simultaneously for 5 descaling.
NOTE
The 2-Cup button will flash throughout the cycle. - Once the descale solution has been used up, descale mode will pause.
- Rinse and refill the water tank to the MAX line and empty the waste water container, then replace both parts on to the machine to proceed onto the rinse cycle.
- Press the 2 Cup button to proceed rinse cycle.
- When the rinse cycle is complete, the machine will then go into ready mode.

- Remove and empty the waste water container. Rinse the drip tray and water tank and dry thoroughly before replacing them back onto the machine.
CLEANING THE STEAM WAND
- The steam wand should always be cleaned after texturing milk. Wipe the steam wand with a damp cloth.
- If any of the holes in the tip of the steam wand become blocked, it may reduce frothing performance. Manually purge the steam wand to try and clear the holes.
- If the steam flow is very small and steam wand is still blocked, unscrew the steam wand tip using the steam tip cleaning tool, then use the tool to unblock the oles; cleaning tool is located in the back of the machine, under the water tank.
Rinse the steam tip and wipe with a clean, dry cloth. Reassemble the steam wand by screwing the steam tip back on to the steam wand. Purge the steam wand after cleaning.
GROUP HEAD RINSE
- Press ‘2 Cup’ button to flow freshwater flush cycle.
CLEANING THE FILTER BASKETS AND PORTAFILTER
- The filter baskets and portafilter should be rinsed under hot water directly after use to remove all residual coffee oils.
- If the holes in the filter baskets become blocked, use the steam wand cleaning tool to unblock the holes.
WARNING
Do not put portafilter in dishwasher.
CLEANING THE SHOWER SCREEN
- The group head interior and shower screen should be wiped with a damp cloth to remove any ground coffee particles.
- Periodically run hot water through the machine with the filter basket and portafilter in place, without any ground coffee, to rinse out any residual coffee.
CLEANING THE DRIP TRAY
The drip tray should be removed, emptied and cleaned after each use or when the drip tray indicator rises through the drip tray grid.
Remove the drip tray grid and wash both parts in warm soapy water.
CLEANING THE OUTER HOUSING
- Wipe the outer housing with a soft, damp cloth and then polish with a soft, dry cloth.
NOTE
Do not use any abrasive cleaners, pads or cloths which can scratch the surfaces of the machine.
NOTE
Do not clean any of the parts or accessories in the dishwasher.
WARNING
Do not immerse the power cord, power plug, plastic tamp or machine in water or any other liquid.
STORING YOUR MACHINE
Before storing, turn the machine off, switch off and remove the power plug from the power outlet. Empty the water tank and drip tray and ensure the machine is cool, clean and dry. Store in an upright position.
Do not place anything on top of the machine.
RESET FACTORY ESPRESSO VOLUME SETTINGS
- When machine is on standby mode
- Press and hold the 1 Cup and 2 Cup buttons for 10 seconds to enter Factory reset mode.
- The lights will flash 3 times to indicate that all volumes have been reset.
- Machine will then return to ready mode.
NOTE
When machine is turned on after reset, it enters directly to ready mode.
Troubleshooting

Warranty
2 YEAR WARRANTY
Breville provides product warranty for domestic use in specifi ed territories for 2 year from date of purchase by faulty workmanship and materials. During this warranty period, Breville will provide repairs and replacement for any defective product (based on Breville’s Warranty Policy). Also, all legal warranty rights under Korea’s legislation will be protected and will not be impaired by our warranty. For full terms and conditions on the warranty, as well as instructions on how to make
a claim, please visit www.breville.com/kr







NOTE





















