Alpulon NP10222 3 Piece Patio Bistro Set

PARTS

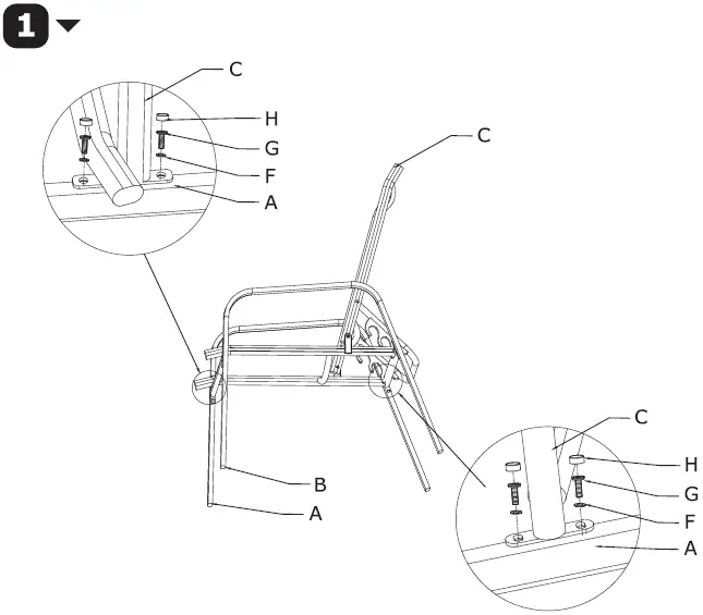
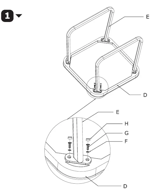
INSTRUCTION

Put the screws in the holes, tighten the screws, but not too tight.

Then adjust the balance of it, tighten all the screws.
Put the screws in the holes, tighten the screws, but not too tight.

Then adjust the balance of it, tighten all the screws.




















