

RB01
Baby Monitor
User Manual
Attention
Thank you for purchasing RemidoVideo Baby Monitor RB01. Now you can see and hear your baby sleeping in the other room or you can monitor your elder kids in their playroom. Before you use the device, please read this User Manual carefully.
This product should be assembled by adults.
Keep small parts away from children when assembling.
This product is not a toy, do not allow children to play with it as a toy.
This baby monitor is not a substitute for responsible adult supervision.
No not place the baby monitor cables in the cot or with the baby arm’s reach (et least 1 meter away).
Keep the cords out of reach of children
Do not use the baby monitor near water or a heat source.
Only use the power adapters provided
Do not touch the power plug with sharp or metal objects.
Package Content
X 1
X 1
One Parent Unit One Baby Unit
X 2
X 1
Two Power adapter User Manual
Product Introduction
Overview of your Parent Unit

(1) LCD Display
(2) Power Indicator light
(3) Power Button
(4) Push to talk Button
(5) Volume + Button | Up Button
(6) Menu Button / OK Button
(7) Music control Button
(8) Volume – Button | Down Button
(9) Microphone
(10) Return Button
(11) Speaker
(12) Charging Interface
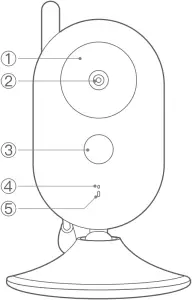
Overview of your Baby Unit

(1) Light Sensor
(2) Camera Lens
(3) Infrared LED
(4) Microphone
(5) Power LED
(6) Pair Button
(7) Speaker
(8) Power interface
(9) Temperature Sensor
Installation Introduction
1. Baby unit installation
(1) Place the baby unit in a convenient location (e.g. on a table) and point the camera lens towards the area you want to monitor. Adjust the baby unit until you are satisfied with the image in the parent unit.
(2) To mount the baby unit on the wall
Use the template below to mark the well in the correct places to drill holes for wall-mounting screws.
Insert 4mm head screws (not supplied) into the holes and tighten the screws. Then, align your baby unit with the screws and push it down.

NOTE:
Do not place the baby unit within baby’s reach! If there is interference on the picture or sound, try moving the units to different location, and ensure they are not close to other electronic equipment.
2. Charging and Power On/Off
(1) Baby unit power supply
Connect the small plug of the power adapter to the baby unit and the other end to the mains socket. The green LED light indicates that the baby unit is on working.
Parent unit power supply
Connect the plug of the power adapter to the parent unit and the other end to the mains socket.
Please fully charge the parent unit before use, so that it could continue working without connecting to the power socket. The LCD screen illuminates and starts up automatically after a few seconds.
(2) Power On/Off
Press and hold the power button at least 3 seconds to turn on the parent unit, then two units will be connected automatically.
Product function introduction
1. LCD display icon introduction
![]()
(1) Signal strength indicator
(2) Temperature of the baby’s room
(3) Date and time
(4) Battery indicator
(5) Alarm activated
2. Night vision function
The baby unit has 1 high-intensity infrared LED for picking up clear mages in the darkness.
3. Music player
Press and hold the Music button at least 3 seconds will turn on the music player and play lullaby, through the baby unit, long press the button for 3 seconds again will turn off it.
4. Intercom function
Press and hold the Push to talk button on the parent unit o talk to your baby through the baby unit loud-speaker.
5. Volume adjustment
When the video is playing, press the Volume – Button to decrease volume or Volume Button to increase volume, the display will show the current volume for 5 seconds.
6. Reset the Parent Unit
Press and hold the power button at least 3 seconds, the parent unit will be forced to restart.

Press Menu Button at monitor screen will enter the main menu, it contains 4 items.
a. Camera
b. Alarm
c. Settings
d. Languages
You can press the UP/Down Button to move the cursor to select an item and press Menu Button will enter the sub-menu which you selected. Press the Return Button back to main menu.
2. Pairing camera
The enclosed baby unit has already registered, you do not need to register it again unless the baby unit loses its link with parent unit.
Otherwise, you just restart the parent unit, and the press the Pair Button back of the Baby Unit. then they will re-connect.
3. Alarm clock

Press Music Button to choose item, press UP/ DOWN Button to change the setting.
4. Settings
a. Time and data
Press UP/DOWN Button to choose ON or OFF, press Music Button to change the Value.
b. Temperature unit
Switch the unit to Celsius of Fahrenheit.

c. Anti-flicker
You are able to adjust the frequency of 50/60Hz to suit your lighting for anti-flicker.
e. Mode setting
Normal mode/Vox Mode
f. VOX sensitivity setting
Low/Medium/High
g. LCD backlight brightness adjustment
Press the UP Button to adjust the brightness of the LCD you are viewing and the LCD backlight active time in the menu operation.

Language setting
Choose your language from the following:
English Italian
French German
Spanish Turkish
Portuguese Russian
Troubleshooting
1. Why does the appliance produce a high-pitched noise?
The units may be too close to each other.
Make sure the parent unit and the baby unit are at least 3.5 feet/1 meter away from each other.
The volume of the parent unit may be set too high.
Decrease the volume of the parent unit.
2. Why don’t I hear a sound/Why can’t I hear my baby cry?
(1) The volume of the parent unit may be set too low or may be switched off.
Increase the volume of the parent unit.
(2) The microphone sensitivity level of the baby unit may be set too low.
Set the microphone sensitivity level to e higher level in the menu of the parent unit.
(3) The baby unit and parent unit may be out of range of each other.
Reduce the distance between the units.
3. Why does the parent unit read too quickly to other sounds?
The baby unit also picks up other sounds than those of your baby.
Move the baby unit closer to the baby (but observe the minimum distance of 3.5 feet/1 meter).
4. Why does the charging time of the parent unit exceed 4 hours?
The parent unit may be switched on during charging.
Switch off the parent unit during charging.
5. The specified operating range of the baby monitor is 1000 feet/300 meters. Why does my baby monitor manage a much smaller distance than that?
The specified range is only valid outdoors in open air. Inside your house, the operating range is limited by the number and type of walls and/or ceilings in between. Inside the house, the operating range is up to 150 feet/50 meters.
6. Why is the connection lost every now and then? Why are there sound interruptions?
(1) The baby unit and the parent unit are probably close to the outer limits of the operating range.
Try a different location or decrease the distance between the units. Please note that it takes about 30 seconds each time before a connection between the units is established.
(2) You may have placed the parent unit next to a transmitter or other appliance, such as other wireless telephone or 2.4GHz baby monitor.
Move the parent unit away from the other appliances until the connection is re-established.
Warranty
All Remido products come with a limited warranty of 12 months from the date of purchase. And we have professional customer service team for your support as soon as we can.
If you have any questions or confusions about our product or warranty, please feel free to contact us. We will do our best to help you solve the problem until you are satisfied.
Remido Customer Care Service Mailbox: [email protected]
Complaint Mailbox:
US: [email protected]
EU: [email protected]
JP: [email protected]
FCC Statement
This equipment has been tested and found to comply with the limits for a Class B digital device, pursuant to part 15 of the FCC Rules. These limits are designed to provide reasonable protection against harmful interference in a residential installation. This equipment generates, uses and can radiate radio frequency energy and, if not installed and used in accordance with the instructions, may cause harmful interference to radio communications. However, there is no guarantee that interference will not occur in a particular installation. If this equipment does cause harmful interference to radio or television reception, which can be determined by turning the equipment off and on, the user is encouraged to to to correct the interference by one or more of the following measures:
Reorient or relocate the receiving antenna.
Increase the separation between the equipment and receiver.
Connect the equipment into an outlet on a circuit different from that to which the receiver is connected.
Consult the dealer or an experienced radio/TV technician for help.
Caution: Any changes or modifications to this device not explicitly approved by manufacturer could void your authority to operate this equipment.
This device complies with part 15 of the FCC Rules. Operation is subject to the following two conditions: (1) This device may not cause harmful interference, and (2) this device must accept any interference received, including interference that may cause undesired operation.
RF Exposure Information
For One Parent Unit
The device has been evaluated to meet general RF exposure requirement. The device can be used in portable exposure condition without restriction.
For One Baby Unit
This equipment complies with FCC radiation exposure limits net forth for an uncontrolled environment. This equipment should be installed and operated with minimum distance 20cm between the radiator and your body.

Made in China
Version 1.0




















