Poly Focus Room Kit with Poly Studio P15
User Manual
See the Regulatory Notices for all regulatory and safety guidance prior to configuration.
Get Started
Before you begin, make sure that you have the following:
- Display HDMI cable(s)
- Phillips #1 screwdriver and flathead screwdriver
- (Optional) EDID emulator (see step 7)
Unpack the Poly Studio E70, PoE injector, Poly GC8, Conferencing PC, and 10 m USB-A to USB-C cable from their boxes. Note that the Conferencing PC is shipped separately.
For support, go to Poly Support.
For Warranty information, see the Polycom Product Warranty Guide.
www.poly.com/setup/poly-room-kits
- Remove the bottom panel from the Poly GC8: loosen the screw with a Phillips #1 screwdriver, turn the GC8 faceup, press the rubber circles on each side, and slide the panel off.

- Remove the cable guard from the Poly GC8 using a flathead screwdriver.
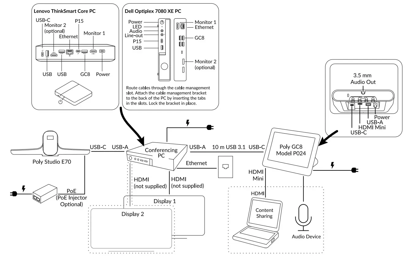
- Using the supplied USB-A to USB-C cable, connect the Conferencing PC (USB-A) to the Poly GC8 (USB-C). See the cabling diagram on page 3.
- (Optional) Connect an additional PC/laptop for content sharing to the Poly GC8 (using an HDMI/HDMI Mini cable).
- Replace the cable guard in the Poly GC8 and replace the bottom panel and tighten the screw.
- Connect the Poly Studio E70 (USB-C) to the Conferencing PC (USB-A).
Connect the Poly Studio E70 to power using the power cable or PoE injector. - Connect the monitor (using an HDMI cable) to the Conferencing PC.
NOTE: In some situations, with 4K monitors, the meeting room controls screen may appear on the front of room monitor and not on the Poly GC8 controller. When this happens, the Poly GC8 displays a blank screen. Poly recommends connecting a 1080P limited EDID Emulator to the HDMI out port of the Conferencing PC and connecting the HDMI cable from the emulator to your monitor. For additional installation and configuration guidance, refer to the manufacturer’s instructions. - (Optional) Connect a second monitor to the Conferencing PC.
- Connect the Conferencing PC to Ethernet.
- Connect the keyboard and mouse to the Conferencing PC.
- Plug in and power on the Poly GC8 and then plug in and power on the other components.
The Conferencing PC may reboot more than once. Do not shut down the Conferencing PC during this process. - Follow the prompts to continue configuring the system. Refer to the Poly Room Kits Solution Guide for more information.
Accessibility Features
The Poly GC8 provides a 3.5 mm audio out jack so that people who are hard of hearing can use third-party assistive technology peripherals.
Connect the optional Icron USB Extension Solution
Connect the Icron USB Extension Solution to extend USB 3.1 devices over a single CAT cable.
To connect the optional Icron USB Extension Solution:
- Connect the USB-B end of the USB 3.1 cable to the Local Extender (LEX) and connect the other end to the Conferencing PC.
- Power on the Local Extender (LEX).
- Connect one end of the Ethernet CAT-6a/7 cable to the Local Extender (LEX) and connect the other end to the Remote Extender (REX).
- Power on the Remote Extender (REX).
- Connect the USB-A end of the USB 3.1 cable to the Remote Extender (REX) and connect the USB-C end to the Poly GC8.


This product cannot be connected directly to the telecommunications circuits (or public wireless LANs) of any telecommunication carriers (e.g., mobile communications carriers, fixed communications carriers, or internet providers). In the case of connecting this product to the Internet, be sure to connect it via a router.
© 2021 Poly. All trademarks are the property of their respective owners.




















