KODAK S075JKOTC6 Digital Instant Print Camera

INTRODUCTION
Thank you for purchasing the KODAK PRINTOMATIC Digital Instant Print Camera. This User Guide is
intended to provide you with guidelines to ensure that operation of this product is safe and does not pose risks to the user. Any use that does not conform to the guidelines described in this User Guide may void the limited warranty.
This product is intended for household use only. This product is covered by a limited warranty and is subject to conditions and exclusions. See warranty for details.
WARNINGS AND SAFETY PRECAUTIONS
Warning:
- This camera is not waterproof or water-resistant. Exercise caution when using near water.
- Do not use the camera while you are walking, driving or riding a motorcycle as these actions may result in accidents.
- Do not point the flash close to anyone’s eyes. This may cause harm to the person’s eyesight.
- Turn the power off if:
Foreign objects or water enter the camera.
The camera has been dropped or damaged.
Continued use after the foregoing issues may cause personal injury. Service should only be performed by a qualified technician. - Use the camera in a well-ventilated area. Do not wrap the camera or place it in cloth or blankets. This may cause heat to build up and deform the housing, resulting in personal injury.
- Do not let sand or other particles get inside the camera, as damage may occur.
- Do not leave the camera in places where the temperature may rise significantly, such as inside a car or under direct sunlight. This may affect the performance of the product.
- This camera is a precision instrument. Do not drop, strike or use excessive force when handling the camera.
- Before moving the camera, disconnect all cords and cables. Failure to do so may damage cords and cables, resulting in personal injury or damage to the product.
- For optimal performance, use your KODAK PRINTOMATIC in temperatures between 60°F and 90°F (15.6°C and 32.2°C) and between 20% to 80% relative humidity.
- During extended use, your camera may feel warm to the touch. This is a normal operating occurrence and does not indicate any product defect or reason to slow down the fun.
BATTERY CARE AND CHARGING
Please carefully read and follow these guidelines.
- Your KODAK PRINTOMATIC camera is equipped with a built-in, non-removable 7.4V lithium-ion battery.
- To maximize battery performance and life, we recommend that upon first use you allow the battery to fully discharge before recharging it.
- To charge your camera, plug it into a wall outlet using a micro USB cable and any wall adapter rated for 1 Amp. The battery LED indicator will turn red until the battery is fully charged.
- Your KODAK PRINTOMATIC may take up to 2 hours to fully charge.
- Avoid extremely cold environments as low temperatures can shorten the battery life and reduce camera performance. Batteries should not be exposed to excessive heat, such as sunshine, fire or the like.
- Do not disassemble the camera or remove the battery at any time. The battery is not designed to be removed from the camera, or charged outside the camera. There is a danger of explosion if battery is incorrectly replaced, and should be replaced only with the same or equivalent type.
Please contact our support team for service. - When the battery power dips below 10%, the battery LED indicator will glow red and the camera will not print. At 2% power, your camera will automatically shut off.
- Please be sure to dispose of the camera device and battery at a properly designated recycling center in your local area.
C&A Marketing UK Ltd is a registered producer of battery and accumulator products
(Registration No. BPRN06318) and of electrical and electronic products
(Registration No. WEE/ JK4235XX) in the U.K. For more information on proper disposal, please contact our support team.
Lithium-ion batteries may cause environmental harm if disposed incorrectly.
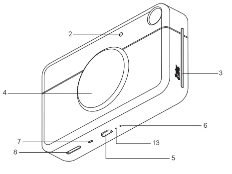
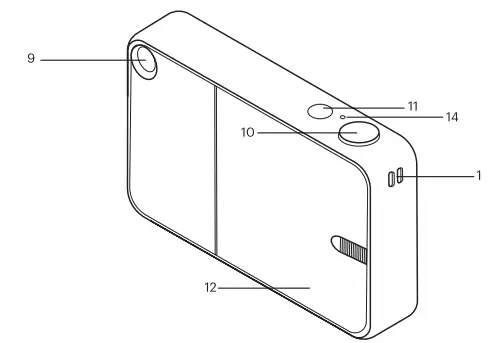
PARTS AND FUNCTIONS
- Strap Slot (strap not included)
- Flash
- Photo Print Exit Slot
- Camera Lens
- Micro USB Port
- Reset Button
- Speaker
- MicroSD™ Card Slot
- Viewfinder
- Shutter Button
- Power Button
- Sliding Paper Compartment Door
- Battery Indicator Light
- Power/Printing Indicator Light

USING YOUR CAMERA
Turning On
- Press the power button, located on the top of the camera. Make sure your camera battery is fully charged.
Turning Off
- Press the power button to turn off the camera. The camera will automatically go into sleep mode after 5 minutes of inactivity.
Taking Photos
- Press the shutter button on the top right to take a photo. Your camera will automatically focus and activate the flash depending on the lighting conditions for each photo.
Printing
- The KODAK PRINTOMATIC camera uses only KODAK ZINK Photo Paper to instantly and automatically print 2” x 3” photos as soon as you snap them. Make sure the camera is loaded with KODAK ZINK Photo Paper.
Inserting Photo Paper
- Press down and slide the paper compartment door open.
- Slide the entire pack of KODAK ZINK Photo Paper into the paper tray.
- Each pack of KODAK ZINK Photo Paper includes a blue Color Calibration Sheet. Make sure the pack is loaded with the blue Color Calibration Sheet with the barcode facing down.
The glossy side of the paper should be facing up. - Close the paper compartment door.
- The blue Color Calibration Sheet will eject when you take your first picture, and then your photo will print.

Refilling Photo Paper
- Only load a single pack of 10 papers and the corresponding blue Color Calibration Sheet in the printer at one time when the printer is empty. The Color Calibration Sheet will be processed automatically at the start of each paper pack, calibrating the printer for that specific paper.
Paper Do’s & Don’ts
- Do not add more paper until the paper compartment is completely empty.
- Do not fill the paper compartment with more than one 10-pack of KODAK ZINK Photo Paper. Filling over 10 sheets can damage the printer.
- Do not bend the KODAK ZINK Photo Paper.
- Do hold the paper by its edges. Avoid touching the surface with your fingers.
- When not in use, store KODAK ZINK Photo Paper at temperatures between 68°F and 77°F (20°C and 25°C).
- If you inserted the wrong type of paper, if there is a paper jam, or some other related error, the LED on top of the camera will blink red. Open your camera and correct the error (clear jam, replace paper, etc.) and then restart your camera.
Memory
- Your KODAK PRINTOMATIC is designed to capture and print immediately, and can hold up to 3 images at a time. To save your pictures use an external microSD™ card to extend its memory capacity.
Inserting a microSD™ Card
- Your KODAK PRINTOMATIC accommodates a 32GB microSD™ card. Gently slide the card into the slot at the bottom of your camera. You will feel a slight click when the card is fully inserted.
Removing a microSD™ Card
- Push on the top of the card to release it. Gently pull to fully remove the card from the camera.
MicroSD™ Card Error Indication
- When the memory on your microSD™ card reaches zero, or if there is an error reading the card, the LED on top of the camera will blink red.
Transferring Files to Your Computer
- Via USB Cable:
Using a micro USB cable (not included), connect your KODAK PRINTOMATIC to a computer.
Double-click the memory card image when it appears on your computer desktop to view and save your images. - Via microSD™ Card:
Remove the microSD™ card from the camera as indicated above. Insert the card into your card reader.
FAQ
- Q Why are the colors on my prints coming out wrong?
A To ensure color accuracy, your camera’s printer must be properly calibrated by the Blue Calibration Sheet inserted with the barcode facing down. This sheet has a unique barcode specific to each paper pack, so make sure not to mix paper from different packs together. - Q How do I charge my camera?
A To charge the battery in your camera, you will have to plug a micro USB cable (not included) into any wall adapter rated at 1 amp (not included). Using a computer or laptop to charge the camera is not recommended because it will significantly increase the charging time. - Q What do I do if the paper is stuck?
A Turn the printer off and on again and the printer will eject the paper. Do not try to pull out the paper by hand. - Q Why are my prints coming out blank?
A Please be sure that the KODAK ZINK Photo Paper pack is properly inserted in the cameraWhen loading the paper, the glossy side should be facing up. Please review the paper loading instructions included in this guide. - Q How many sheets can I put in at once?
A You can load one 10-pack of KODAK ZINK Photo Paper at one time. - Q Why are my pictures not centered?
A The frame marks on the view finder are set to a focus target 6 feet away. If you are taking picture less than 6 feet from your target, the frame marks may not line up with the photo. - Q Why are my pictures coming out with lines?
A Make sure that your paper is properly inserted and that nothing is obstructing the exit slot where the pictures are dispensed. Also use the Blue Calibration Sheet with every paper pack to clean the print-heads. Do not aggressively shake your camera; it may interfere with the printing process. - Q What memory cards can be used with my camera?
A The KODAK PRINTOMATIC camera accepts microSD™ cards and flash memory cards from all brands. - Q Is a microSD™ card required for this camera?
A A microSD™ card is not required in order to use the camera. If you want to save your photos to your computer you will need to have a microSD™ or comparable memory card in your camera while you take your pictures. - Q Is any type of paper compatible with this camera?
A The KODAK PRINTOMATIC camera was designed to work only with KODAK ZINK Photo Paper. Other papers may be incompatible with this camera. - Q How do I turn on the flash for my camera?
A Your camera is equipped with a light sensor that will automatically turn on the flash in low light settings. - Q Can you choose when to print or does the camera print automatically?
A Your KODAK PRINTOMATIC camera prints automatically. Every picture taken will print after a few seconds. - Q Does the camera’s printer print pictures from other devices?
A The KODAK PRINTOMATIC camera only prints the pictures you take from the camera. It does not connect to other devices.
CUSTOMER SERVICE
U.S.: [email protected], 844-516-1539
International: [email protected], +1-844-516-1540
The Kodak trademark, logo and trade dress are used under license from Eastman Kodak Company. PRINTOMATIC is a trademark of C&A IP Holdings, LLC in the U.S., the European Union and the
United Kingdom.
ZINK, Zero Ink, and the ZINK logo are trademarks of ZINK Holdings, LLC, registered in the U.S. and other countries.
MicroSD is a trademark of SD-3C LLC in the U.S. and/or other countries.
Made for and distributed under license from Kodak by:
C&A Marketing, Inc., 114 Tived Lane East, Edison, NJ 08837 USA
C&A Marketing UK LTD, 167 Hermitage Road, Crusader Industrial Estate, London N4 1LZ, UK
©2020. C&A IP Holdings, LLC. All Rights Reserved.
FCC STATEMENTS
Federal Communication Commission Interference Statement
This equipment has been tested and found to comply with the limits for a Class B digital device, pursuant to Part 15 of the FCC Rules. These limits are designed to provide reasonable protection against harmful interference in a residential installation. This equipment generates, uses and can radiate radio frequency energy and, if not installed and used in accordance with the instructions, may cause harmful interference to radio communications. However, there is no guarantee that interference will not occur in a particular installation. If this equipment does cause harmful interference to radio or television reception, which can be determined by turning the equipment off and on, the user is encouraged to try to correct the interference by one or more of the following measures:
- Reorient or relocate the receiving antenna.
- Increase the separation between the equipment and receiver.
- Connect the equipment into an outlet on a circuit different from that to which the receiver is connected.
- Consult the dealer or an experienced radio/TV technician for help.
FCC Caution:
Any changes or modifications not expressly approved by the party responsible for compliance could void the user’s authority to operate this equipment.
This device complies with Part 15 of the FCC Rules. Operation is subject to the following two conditions:
- This device may not cause harmful interference, and
- This device must accept any interference received, including interference that may cause undesired operation.
This device and its antenna(s) must not be co-located or operating in conjunction with any other antenna or transmitter.
For product available in the USA/Canada market, only channel 1~11 can be operated. Selection of other channels is not possible.
IMPORTANT NOTE:
Federal Communication Commission (FCC) Radiation Exposure Statement
This EUT is compliance with SAR for general population/ uncontrolled exposure limits in ANSI/IEEE C95.1-1999 and had been tested in accordance with the measurement methods and procedures specified in OET Bulletin 65 Supplement C. This equipment should be installed and operated contact with the radiator & your body. This device complies with Industry Canada’s license-exempt RSSs. Operation is subject to the following two conditions:
- This device may not cause interference; and
- This device must accept any interference, including interference that may cause undesired operation of the device.
CAUTION:
Danger of explosion if battery is incorrectly replaced. Do not replace the battery.
Do not expose to excessive heat such as direct sunlight or flames.
IMPORTANT NOTE
IC Radiation Exposure Statement
This EUT is compliance with SAR for general population/ uncontrolled exposure limits in IC RSS-102 and had been tested in accordance with the measurement methods and procedures specified in
IEEE 1528. This equipment should be installed and operated with minimum distance 0cm between the radiator & your body.
CAN ICES-3 (B)/NMB-3(B).
ELECTRONIC WASTE
Kodak, its licensees and affiliates, fully supports all electronic waste initiatives. As responsible stewards of the environment, and to avoid violating established laws, you should properly dispose of this product in compliance with all applicable regulations, directives or other governances in the area where you reside. Please check with local authorities or the retailer where you purchased this product to determine a location where you can appropriately dispose of the product. You may also check with your local recycling facility to determine their data sanitization procedures during the recycling process.
LIMITED WARRANTY TO ORIGINAL CONSUMER
This KODAK PRINTOMATIC camera (“Product”), including any accessories included in the original packaging, as supplied and distributed new by an authorized retailer is warranted by C&A Marketing, Inc. (the “Company”) to the original consumer purchaser only, against certain defects in material and workmanship (“Warranty”) as follows:
| Product | Territory | Parts Warranty |
| Camera | North America | 1 Year |
| Camera | Central and South America | 1 Year |
| Camera | Asia, Africa, Australia, New Zealand | 1 Year |
| Camera | Europe | 2 Years |
| Camera | Russia | 2 Years |
To obtain Warranty Service and Troubleshooting contact information:
Visit our website at www.kodakphotoplus.com
To receive Warranty service, the original consumer purchaser must contact the Company or its authorized service provider for problem determination and service procedures. Proof of purchase in the form of a bill of sale or receipted invoice, evidencing that the Product is within the applicable Warranty period(s), MUST be presented to the Company or its authorized service provider in order to obtain the requested service.
Service options, parts availability, and response times may vary and may change at any time.
In accordance with applicable law, the Company may require that you furnish additional documents and/or comply with registration requirements before receiving warranty service. Please contact our customer service at (USA): [email protected], 844-516-1539 (or international:
[email protected], +1-844-516-1540) for details on obtaining warranty service.
Shipping expenses to the Company’s Return Facility are not covered by this warranty, and must be paid by the consumer. The consumer likewise bears all risk of loss or further damage to the Product until delivery to said facility.
Exclusions and Limitations
The Company warrants the Product against defects in materials and workmanship under normal use for a period of ONE (1) YEAR from the date of retail purchase by the original end-user purchaser (“Warranty Period”). If a hardware defect arises and a valid claim is received within the Warranty Period, the Company, at its sole option and to the extent permitted by law, will either (1) repair the Product defect at no charge, using new or refurbished replacement parts, (2) exchange the Product with a Product that is new or which has been manufactured from new or serviceable used parts and is at least functionally equivalent to the original device, or (3) refund the purchase price of the Product. A replacement Product or part thereof shall enjoy the warranty of the original Product for the remainder of the Warranty Period, or ninety (90) days from the date of replacement or repair, whichever provides you longer protection. When a Product or part is exchanged, any replacement item becomes your property, while the replaced item becomes the Company’s property. Refunds can only be given if the original Product is returned.
This Warranty does not apply to:
- Any non-KODAK PRINTOMATIC product, hardware or software, even if packaged or sold
with the Product; - Damage caused by use with non-KODAK PRINTOMATIC products;
- Damage caused by accident, abuse, misuse, flood, fire, earthquake, or other external causes;
- Damage caused by operating the Product outside the permitted or intended uses described by the Company;
- Damage caused by third party services;
- A Product or part that has been modified to alter functionality or capability without the written permission of the Company;
- Consumable parts, such as the KODAK ZINK Photo Paper, batteries, fuses and bulbs;
- Cosmetic damage;
- If any KODAK PRINTOMATIC camera serial number has been removed or defaced.
This Warranty is valid only in the country where the consumer purchased the Product, and only applies to Products purchased and serviced in that country. This Warranty does not cover images “burnt” into the screen. The Company does not warrant that the operation of the Product will be uninterrupted or error-free. The Company is not responsible for damage arising from your failure to follow instructions relating to its use.
NOTWITHSTANDING ANYTHING TO THE CONTRARY AND TO THE MAXIMUM EXTENT PERMITTED BY APPLICABLE LAW, THE COMPANY PROVIDES THE PRODUCT “AS-IS” AND “AS-AVAILABLE” FOR YOUR CONVENIENCE AND THE COMPANY AND ITS LICENSORS AND SUPPLIERS EXPRESSLY DISCLAIM ALL WARRANTIES AND CONDITIONS, WHETHER EXPRESSED, IMPLIED, OR STATUTORY, INCLUDING THE WARRANTIES OF MERCHANTABILITY, FITNESS FOR A PARTICULAR PURPOSE, TITLE, QUIET ENJOYMENT, ACCURACY, AND NON-INFRINGEMENT OF THIRD-PARTY RIGHTS. THE COMPANY DOES NOT GUARANTEE ANY SPECIFIC RESULTS FROM THE USE OF THE PRODUCT, OR THAT THE COMPANY WILL CONTINUE TO OFFER OR MAKE AVAILABLE THE PRODUCT FOR ANY PARTICULAR LENGTH OF TIME. THE COMPANY FURTHER DISCLAIMS ALL WARRANTIES AFTER THE EXPRESS WARRANTY PERIOD STATED ABOVE.
YOU USE THE PRODUCT AT YOUR OWN DISCRETION AND RISK. YOU WILL BE SOLELY RESPONSIBLE FOR (AND THE COMPANY DISCLAIMS) ANY AND ALL LOSS, LIABILITY, OR DAMAGES RESULTING FROM YOUR USE OF THE PRODUCT.
NO ADVICE OR INFORMATION, WHETHER ORAL OR WRITTEN, OBTAINED BY YOU FROM THE COMPANY OR THROUGH ITS AUTHORIZED SERVICE PROVIDERS SHALL CREATE ANY WARRANTY.
IN NO EVENT WILL THE COMPANY’S TOTAL CUMULATIVE LIABILITY ARISING FROM OR RELATED TO THE PRODUCT, WHETHER IN CONTRACT OR TORT OR OTHERWISE EXCEED THE FEES ACTUALLY PAID BY YOU TO THE COMPANY OR ANY OF ITS AUTHORIZED RESELLERS FOR THE PRODUCT AT ISSUE IN THE LAST YEAR FROM YOUR PURCHASE. THIS LIMITATION IS CUMULATIVE AND WILL NOT BE INCREASED BY THE EXISTENCE OF MORE THAN ONE INCIDENT OR CLAIM. THE COMPANY DISCLAIMS ALL LIABILITY OF ANY KIND OF ITS LICENSORS AND SUPPLIERS. IN NO EVENT WILL THE COMPANY OR ITS LICENSORS, MANUFACTURERS AND SUPPLIERS BE LIABLE FOR ANY INCIDENTAL, DIRECT, INDIRECT, SPECIAL, PUNITIVE OR CONSEQUENTIAL DAMAGES (SUCH AS, BUT NOT LIMITED TO, DAMAGES FOR LOSS OF PROFITS, BUSINESS, SAVINGS, DATA OR RECORDS) CAUSED BY THE USE, MISUSE OR INABILITY TO USE THE PRODUCT.
Nothing in these terms shall attempt to exclude liability that cannot be excluded under applicable law. Some countries, states or provinces do not allow the exclusion or limitation of incidental or consequential damages or allow limitations on warranties, so certain limitations or exclusions may not apply to you. This warranty gives you specific legal rights, and you may have other rights that vary from state to state or province to province. Contact your authorized retailer to determine if another warranty applies.
Kodak does NOT manufacture this Product or provide any Warranty or support. Authorized KODAK Brand Licensee C&A Marketing, Inc.
Distributed by: C&A Marketing, Inc.
KODAKPHOTOPLUS.COM
Distributed by | Distribué par | Distribuido por | Vertrieben durch | Distribuito da | Distribuido por: C&A Marketing, Inc., 114 Tived Lane East, Edison, NJ 08837 USA, C&A Marketing UK LTD,
167 Hermitage Road, Crusader Industrial Estate, London N4 1LZ, UK
©2020, C&A IP Holdings, LLC


USING YOUR CAMERA
















