DEFA DSRC50 Workshop Charger

SAFETY
- Please read the manual carefully before use.
- Inexperienced users, children aged 8 and above and persons with reduced physical or mental capabilities must only use this product under supervision
or after having read or been given instructions on safe use. - Do not attempt to charge non-rechargeable batteries.
- Do not use the Standard or 14,7 charging program on a Li-Ion battery or the Li-ion charging battery on a lead-acid battery.
- After use, disconnect the mains power before disconnecting from the battery.
- Only use the charger in well-ventilated area and on vented batteries.
- This charger must be repaired by professionals.
- Never intentionally connect the charger incorrectly, even though it is protected against short-circuiting and reverse polarity.
- Do not install the charger in a highly flammable environment.
- Do not charge a damaged battery.
- During charging, batteries may release highly explosive gases. Take care not to have sparks, open flames, cigarettes or similar in the vicinity of the
battery and always ensure sufficient ventilation. - Battery acid is corrosive and harmful. It damages clothes, metal and varnish. In case of spillage and contact with skin, wash and rinse thoroughly with
water and consult a doctor. - Lead and other chemicals that are used in batteries are toxic. Wash skin and hands thoroughly after working with batteries
ABOUT THE CHARGER
DEFA WorkshopCharger is based on modern switch-mode technology. This charger represent the latest technology within battery charging and will give the batteries optimal performance and durability. It is well suited to charge lead/acid, AGM, EFB, GEL and lithium-ion batteries up to approx. 600 Ah for a unlimited time. The charger can be used with up to 45A parallel consumption at the same time as it charges the batteries.
USE

- Read the user guide carefully.Please contact DEFA or a qualified person if you are unsure about how to safely use the charger.
- Connect red clamp to (+) and black clamp to (-) or the connection point recommended by the vehicle manufacturer. The charger is intended for use with lead/acid, AGM, EFB, GEL and Lithium batteries. The battery manufacturer’s recommendations must always be taken into consideration.
- Connect the DC charging cable to the charger. See C page 3.
- Connect the AC mains cable to the charger. Push the power button once. See B, page 2. The charger will start and initialize the pre-analyze process. To
turn of the charger, push the power button again.
NOTE: To make sure the correct charging voltages are applied, the charging cables must not be shortened or made longer.
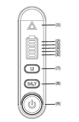
CONTROL PANEL
| No.: | Function |
| (1) | Error indicator |
| (2) | Charge level indicator 100% |
| (3) | Charge level indicator 80% |
| (4) | Charge level indicator 60% |
| (5) | Charge level indicator 40% |
| (6) | Charge level indicator 0-20% |
| (7) | Lithium-ion charge program |
| (8) | 14,7V charge program |
| (9) | Power button |
CHARGE PROCESS
See A on page 2. The figure shows the charge process in a graph with Voltage (V) and Current (I) over time (t)
The charge status is shown by the LED display. See E on page 3.
PRE-CHARGING ANALYSIS
- The charger checks if the battery is correctly connected.
- The battery’s charge level (V) is measured.
CHARGING
(Pressing only the power button)
The charger starts charging the battery with maximum 50A until the voltage level reaches 14.4V. The charge voltage is then held constant at 14.4V and
the charging current is reduced until it is below a defined level. The charge voltage then drops to 13.6V, before the long-term charging phase starts.
During charging, battery charge is shown by the number of LEDs illuminated. The blinking segment above these LEDs indicates active charging. Once full
battery charge is reached, all 5 LED segments remain illuminated. If the measured battery voltage is below 2.0V, the charger will enter Error Mode, and
the warning triangle above the battery indication will start to flash.
14,7 BUTTON
Some batteries require a higher charging voltage than other batteries. If the 14.7V button is pressed the button will be illuminated and the maximum
charging voltage will be 0.3V higher than the standard level. Always follow the battery manufacturers recommendation regarding charging voltage.
LI BUTTON
Pushing this button will activate the charging curve for Li-Ion batteries. The button will be illuminated when this mode is selected. The top charge voltage
is 14,4V and float charge voltage is 13,5V. The maximum time in step 3 is set to 30minutes. In this mode the charger output will be activated even if a
battery is not connected.
POST-CHARGING ANALYSIS
The charger analyses the battery again after the charging phase. Post analysis can detect batteries with a short circuit in individual cells. This cannot be
detected in the pre analysis. If the battery voltage drops below 12V within 2min, the charger will go into error mode and the red warning triangle will start
to flash. The charging sequence will be stopped.
MAINTENANCE CHARGING
After the battery is fully charged, the charger will deliver 13,6V with a maximum of 50A. This is indicated by all battery LEDs slowly pulsating
TEMPERATURE BASED VOLTAGE COMPENSATION
The charger automatically adjusts the charging voltage to the correct level according to the ambient temperature. The default ambient temperature
is 25°C. Voltage is reduced for higher ambient temperatures and increased for lower ambient temperatures. The correct amount is ±0.03V/°C. Max
temperature compensate charging voltage is 15.3 V
POWER SUPPLY MODE
When the charger is turned off, the power button can be pressed for 5 seconds until the LEDs shine one by one in a regular bottom to the top cycle. The
charger will be in power supply mode regardless of the battery voltage, so it can be used to replace the battery of the car without loosing car settings or
data. In this mode, the charger supply 13.7V and max 50 Amp. If the output short circuit in this mode, the charger will go into error mode. You should
press the power button to turn off the charger, correct the problem, then restart the charger (go to charger or power supply mode).
MAINTENANCE
Make sure that the connectors on both the charger and the cables are free from moisture and dirt before using the charger. See B page 2 and C page 3.
All batteries should be inspected monthly as a minimum to ensure maximum safety. The charging process is in such way that the batteries remain fully
charged without further water consumption than normal evaporation.
If future needs require a software update of the charger, it can be done through the micro-USB port at the end of the charger.
See D page 3. Necessary information will be given along with the software.
WARRANTY
The guarantee applies to faults in production and materials for 2 years from date of purchase. The customer must deliver the product back to the place
of purchase together with the receipt. The guarantee shall cease to apply if the charger is handled negligently, opened or repaired by someone other than
DEFA or an authorized representative of DEFA. DEFA has no other guarantee than this and will not be responsible for other costs than those referred to, i.e. no possible additional costs. Neither is DEFA bound by any other guarantee.
ERROR DESCRIPTION
Warning triangle flashes red every 1.5 seconds
- Cause: Battery disconnected for less than 30 seconds, or battery voltage less than 2V
- Rectification: Make sure that the battery voltage is higher than 2V and that the clamps are fastened
Warning triangle flashes twice red every 1.5 seconds
- Cause: Battery disconnected for more than 30 seconds, or battery voltage less than 2V
- Rectification: Make sure that the battery voltage is higher than 2V and that the clamps are fastened
Warning triangle flashes three times red every 1.5 seconds
- Cause: Over temperature protection
- Rectification: Check that the charger has sufficent ventilation.
Warning triangle flashes four times red every 1.5 seconds
- Cause: Short Circuit Protection
- Rectification: Check charging cables, contacts and battery poles
Warning triangle flashes six times red every 1.5 seconds
- Cause: Battery Fault
- Rectification: Check defective battery for cell short-circuit or sulfation
Warning triangle flashes seven times red every 1.5 seconds
- Cause: Too much parallel consumption connected
- Rectification: Make sure that the consumption from the battery is less than what the charger provides
TECHNICAL INFORMATION
| Electrical data input | |
| Mains voltage | 100 ~ 240 V AC |
| Mains frequency | 50/60 Hz |
| Mains current | max. 7. 1 A eff. |
| Efficiency | max. 94 % |
| Effective power | max. 800 W |
| Power consumption (standby) | max. 1.7 W |
| Protection class | I |
| EMC emission | Class A |
| Electrical data output | |
| Nominal output voltage | 12 V DC / 6 cells |
| Output voltage range | 2 V – 14.7 V DC |
| Output current @ 230V | 50 A at 14,4 V DC |
| Output current @ 120V | 40 A at 14,4 V DC |
| Battery return current | < 1 mA |
| Mechanical data | |
| Cooling | Convection |
| Dimensions (l x w x h) | 280 x 175 x 85 mm |
| Weight (without cable) | 3.8 kg |
| AC Power cable length | 5 m |
| DC charging cable length | 2,5/5,0 m |
| Environmental conditions | |
| Operating temperature | -20°C – +60°C |
| Storage temperature | -40°C – +85°C |
| Climate class | B |
| Ingress protection | 5K3 |




















