Electric Bolts
Zap is a registered trademark of System Q Ltd
ACC514, ACC516 – Quick Start Guide

Electric Bolts
The ACC514 has an adjustable delay and status relay output which can be connected to a buzzer or light to produce a visible or audible alert when the door is opened.
The ACC516 has an adjustable delay of up to 6 seconds, a relay output to alert when the door is opened and LED indicator to show the bolt status.
User Information
- There are no user serviceable parts, opening or attempting to repair the product will void the warranty.
- Do not install or use the device if the wires connected are damaged or have been subjected to water ingress
- Handle the equipment carefully, holding force can be reduced by damaging the bolt body or detector plate.
- The electric bolt lock should be fixed tightly on the door frame and the detector plate on the door leaf.
- Shut off all power to the access control system before wiring this device. · Maintain a clean and safe environment at all times.
Definition
NO (Normally Open) – This is a contact which remains open (as default) until activated, during the “active” state the contact provides a closed circuit and starts conducting.
NC (Normally Closed) – Is the opposite of a NO contact. The contact will remain closed (as default) until activated, during the “active” state the circuit breaks and stops current flow.
Connections

Setup Example
Electric bolts are an efficient method of adding secure access control to a door.
An electric bolt will protrude out as long as there is power being supplied and then detector plate is present.
For a “Fail Safe” setup, when the button is activated, power supply then releases power from the lock, and if power is lost then the lock also releases.
You would connect the control device and power to the bolt via an access control panel, relay or exit button so that the power can be cut when triggered. When powered up again the bolt protrude again locking the door in place.

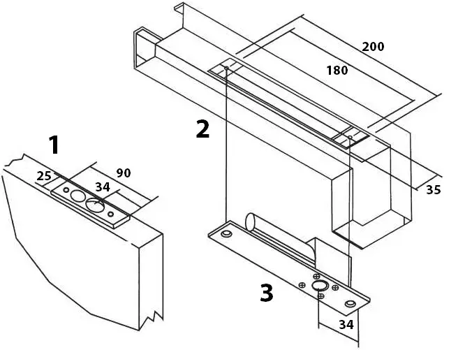
Mounting
ACC514
- Cut a rebate in the door for the detector plate, and cut the hole for the electric bolt using the template provided.
- Ensure a channel or hole is made for the cables and ensure they are protected by using a protection guard or conduit if exposed.
- Then fix the bolt to the door frame and the plate to the door using the screws provided.

ACC516
Mark the mounting holes for both the electronic bolt and detector plate to the door frame and door.
Then fix the bolt to the door frame and the plate to the door using the screws provided.
Ensure the cables for the lock are protected by using a protection guard or conduit.

Troubleshooting
If the door release is not activating the lock then there is likely a shorted wire, open circuit or some other failed device in the circuit.
To identify where the fault is, each wired connection in the circuit needs to be tested; working from the door release progress through, including the power supply and the lock.
If the fault is with the door release then check the connection wires for continuity and for trapped wires. Check for water ingress on the wired connections. Check the polarity in the power connections and ensure the connections are connected to the proper terminals.
| ACC514 | ACC516 | |
| Design | Mortice Mount | Surface Mount |
| Delay | Adjustable: 0 / 3 / 6s | Adjustable: 0 / 3 / 6s |
| Relay Output | NO / COM / NC | NC / COM |
| Voltage | 12V DC / 80mA (Holding) | 12V DC / 170mA (Holding) |
| Peak Current | 1A (<1s) | 1A (<1s) |
| Led Colour | N/A | Powered: Red / Locked: Green |
| Construction | Metal | Metal |
| Dimensions | (H) 200 x (W) 34 x (D) 41mm (Bolt) | (H) 150 x (W) 34 x (D) 28mm |
All specifications are approximate. System Q Ltd reserves the right to change product specifications or features without notice. Whilst every effort is made to ensure that these instructions are complete and accurate, System Q Ltd cannot be held responsible for any losses, no matter how they arise, from errors or omissions in these instructions, or the performance or non-performance of the equipment refered to.
Document ref: qACC514-516
© 2022 System Q Ltd
This symbol indicates that equipment must not be mixed with general household waste. For treatment, recovery and recycling please return to your local designated WEE/CG0783SS collection point as defined by your local council.
![]()


















