KOHLER 78059-RL-0 Rutledge White Round Slow-Close Toilet Seat

CAUTION: Risk of product damage. Avoid liquids contacting the battery pack.
CAUTION: Risk of product damage. Batteries must be oriented correctly within the battery pack.
NOTE: A 10-hour light cycle reoccurs daily. To set the cycle time, turn ON the light at the desired start time.
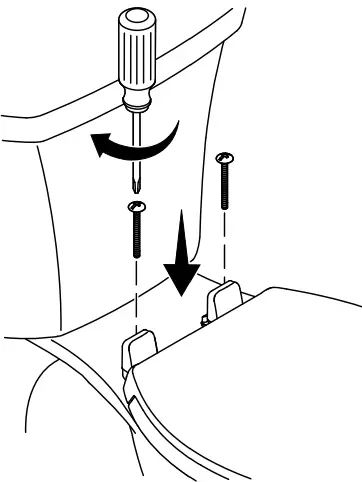
- Unthread the screw. Fold the anchor.

- Push into the hole.

- Verify that the anchor unfolds completely when installed

- Some Models: Install the bumpers.

- Remove the battery pack

- Insert the four AA batteries. Verify proper position.

- Verify that the hinge pins are inserted.

- Insert the battery pack

- Position the seat over the holes

- Tighten the screws

- Follow the remaining instructions for quick release and adjustments
- Unlock the latches

- Grip the seat near the hinges and pull the seat straight up.

- Adjustment: Loosen the screws. Rotate the seat mount to move the seat position

- Position the latches over the studs.

- Press firmly on the latches until they snap onto the studs.

- Verify that the seat is aligne with the toilet. Adjust as needed. Tighten the screws.

- Lock the latches and close the covers.

- Press the button once to turn light on HIGH, twice for MEDIUM, and again for LOW. Hold to turn off.

- Maintenance: Batteries last about 6 months on HIGH, or 12 months on LOW. The unit resets to HIGH when the batteries are replaced
- Change the batteries when the light flashes red.

Troubleshooting
The light does not turn on.
- Check the batteries. Change as needed.
- Press the power button to restart the 10-hour lighted cycle.
The battery terminal is wet.
- Remove the battery pack and allow to dry completely.
- Check the batteries. Change as needed.
- Press the power button to restart the 10-hour lighted cycle.
The battery pack does not fit.
- Check that the hinge dampers are completely inserted into the hinge.
- Press down on the toilet mounting arms to flex the plastic and to allow clearance while inserting the battery pack.
Need help? Contact our Customer Care Center.
- USA/Canada: 1-800-4KOHLER (1-800-456-4537)
Mexico: 001-800-456-4537 - Service parts: kohler.com/serviceparts
- Care and cleaning: kohler.com/clean
- Patents: kohlercompany.com/patents
This product is covered under the KOHLER® Toilets and Seats Limited Warranty, found at kohler.com/warranty. Fo a hardcopy of warranty terms, contact the Customer Care Center.
Mexico: 001-800-456-4537
kohler.com
References
Toilets, Showers, Sinks, Faucets and More for Bathroom & Kitchen | KOHLER
Toilets, Showers, Sinks, Faucets and More for Bathroom & Kitchen | KOHLER
How to Use KOHLER Cleaning Products | KOHLER
Find Service Parts & Identify Products | KOHLER
Kohler Warranty Info: Product Limited or Warranty | KOHLER
Kohler Co. Portfolio | Innovation and Design | Patents | Kohler | Kohler
Toilets, Showers, Sinks, Faucets and More for Bathroom & Kitchen | KOHLER
Kohler Co. Portfolio | Innovation and Design | Patents | Kohler | Kohler




































