XINLANTECH XLTWS-400 TWS Bluetooth Speaker

Product Information
The XINLANTECH Wireless XLTWS-400 PMN Bluetooth Speaker is a portable wireless speaker that can be used to play music from any Bluetooth-enabled device. The speaker comes with a built-in rechargeable battery that can provide up to 8 hours of playtime. It also has a built-in microphone for hands-free calling and a 3.5mm audio jack for non-Bluetooth devices. The speaker is designed to comply with FCC and Industry Canada standards for wireless devices.
Product Usage Instructions
- Charge the speaker using the included micro-USB cable before first use.
- Turn on your Bluetooth-enabled device and make sure it is discoverable.
- Press and hold the power button on the speaker until it enters pairing mode.
- Select “XLTWS-400” from the list of available Bluetooth devices on your device.
- Once paired, you can play music from your device through the speaker.
- To answer or make a call, press the play/pause button on the speaker.
- To adjust the volume, use the volume buttons on your device or on the speaker.
- To use a non-Bluetooth device, connect it to the speaker using the included 3.5mm audio cable.
Important: Do not modify or change the device in any way as this could void your authority to operate it. Keep a minimum distance of 0cm between the speaker and your body while in use to comply with FCC and Industry Canada radiation exposure limits.
INTRODUCTION
To get the most out of your new bluetooth speaker, please read through these instructions before use. Please also save the instructions in case you need to refer to them at a later date.
TECHNICAL DATA
- Battery: 3.7V, 2 x 2200 mAh, Li-ion (Built in rechargeable)
- Charging time: 2x 3 hours
- Operating time: 1pcs 15 hours – TWS mode 14 hours / by 50% volume
- Power supply: 5V DC
- Operation Frequency: 2402 MHz – 2480 MHz
Bluetooth version: 5.3 - IP Classification: IPX5 Incl. TWS function
- Output power: less than 20 dBm E.LR.PIncludes USB Charging cable and AUX Cable
- Bluetooth parring name: XLTWS-400
Warming: To prevent possible hearing damage, do not listen at high volume levels for long periods.
SPECIAL SAFETY INSTRUCTIONS
Do not place the speaker near heat sources.
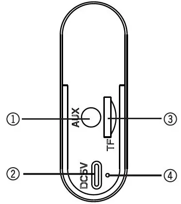
SPEAKER PORTs
- Audio in
- Charging port
- TF-card
- LED
Long press for power on/off
Short press one time for play/ pause.
Short press 2 times to select
mode: TF/BT/Audio in/FM
In FM radio mode, USB cable need to be plugged as antenna
Long press for next track.
Short press for volume up.
Long press for previous track.
Short press for volume down.![]()

Long press both buttons for TWS pairing.
Long press both buttons to disconnect when TWS paired.
Once the speakers have been paired with each other the first time, they will automatically pair, when they are turned on. Once you then turn one of them off, they will both shut off.
SETTING UP A CONNECTION
Switch the speaker on by lorng press on the power button until the LED indica tor rapidly flashes blue. When entering BT mode, please use a mobile device or other device that supports BT to search for the speaker name xLTws-400, pairing it successfully and then you can link it automatically next time. When the LED indicator lights up blue, the speaker is paired.
CHARGING
Remove the protective cover from the charging port (2) on the speaker. Connect the USB charging cable pro- vided to a 5 V USB charger and connect the USB charging cable’s connector to the charging port on the speaker (2). Before using the speaker for the first time, it must be charged for at least 2 hours.
CLEANING AND MAINTENANCE
- Wipe the speaker down regularly with a wellwrung cloth.
- Fully charge the speaker at least once a month, regardless of whether or not you use it.
- Store the speaker ina dry, dust-free location.
- When the built-in battery in the speaker is worn out, the speaker must be disposed of.
- The battery cannot be replaced.
Multifunctional speakers
When this XLTWS-400 speaker is working in FM radio/TF Card player/AUX input playback, This speaker will be in single speaker mode, without TWS function.
FCC
FCC Warning:
This equipment has been tested and found to comply with the limits for a Class B digital device, pursuant to part 15 of the FCC Rules. These limits are designed to provide reasonable protection against harmful interference in a residential installation. This equipment generates, uses and can radiate radio frequency energy and, if not installed and used in accordance with the instructions, may cause harmful interference to radio communications. However, there is no guarantee that interference will not occur in a particular installation. If this equipment does cause harmful interference e to radio or television reception, which can be determined by turning the equipmentoff and on, the user is encouraged to try to correct the interference by one or more of the following measures:
- Reorient or relocate the receiving antenna.
- Increase the separation between the equipment and receiver.
- Connect the equipment into an outlet on a circuit different from that to which the receiver is connected.
- Consult the dealer or an experienced radio/TV technician for help.
Caution: Any changes or modifications to this device not explicitly approved by manufacturer could void your authority to operate this equipment.
This device complies with part 15 of the FCC Rules. Operation is subject to the following two conditions:
(1)This device may not cause harmful interference, and (2) this device must accept any interference received, including interference that may cause undesired operation.
This equipment complies with FCC radiation exposure limits set forth for an uncontrolled environment. This equipment should be installed and operated with minimum distance 0cm between the radiator and your body.
ISED Statement
This device complies with Industry Canada license-exempt RSS standard(s). Operation is subject to the following two conditions: (1) This device may not cause interference, and (2) This device must accept any interference, including interference that may cause undesired operation of the device.
The digital apparatus complies with Canadian CAN ICES-3 (B)/NMB-3(B).
This device meets the exemption from the routine evaluation limits in section 2.5 of RSS 102 and compliance with RSS 102 RF exposure, users can obtain Canadian information on RF exposure and compliance.
This equipment complies with Canada radiation exposure limits set forth for an uncontrolled environment.
This equipment should be installed and operated with minimum distance 0cm between the radiator & your body.




















