REXING V1 4K Ultra HD Car Dash Cam 2.4″ LCD Screen

Overview
Thank you for choosing REXING! We hope you love your new product as much as we do.
If you need assistance, or have any suggestions to improve it, please contact us. You can reach us via [email protected] or call us at (203) 800-4466. Our support team will respond you as soon as possible.
Always a surprise in Rexing. Check us out here.
What’s in the box
|
|
|
|
|
|
|
|
Camera Overview


- Micro SD Card Slot
- Power Button
- Reset Button
- Menu Button
- Mode Button
- REC (Record) Button *
- OK (Confirm) Button **
- MIC (Microphone) Button ***
- Screen Button
- Mini-USB Port
- GPS Logger Port
- Rear Camera Port (Not Support)
- Lens Angle Adjustment
* The Camera is recording when the LED is flashing red.
** The Camera is recording when the LED is flashing red. The device charging or powered on when the LED is solid blue.
*** The device is charging or powered on when the LED is solid blue.
Installation
Step 1: Install the Dash Cam
Place the 3M adhesive on the mount and properly orient the mount square to the roof and hood line of the vehicle. Important! Ensure the T-interlock on the Mount is oriented in the correct direction (as shown below).
Firmly press the mount onto the windshield. Wait at least 20 minutes before mounting the camera.
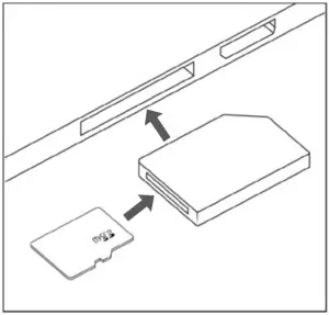
Step 2: Insert the Memory Card
The Rexing V1 accepts [Class 10/ UHS-1 or higher] Micro SD memory cards up to 256 GB. You will need to insert a memory card before you can begin recording. Before inserting or removing a memory card, first ensure you’ve powered down the device.
Gently push the memory card in until you hear a click, and allow the spring release to push the card out.
Step 3: Power the Camera and Format the Memory Card
Power the camera by connecting the charger to the car cigarette lighter and camera.
To ensure the V1 records to your memory card properly and without error. Before you start using a new memory card, you must format the card within the camera using the format function. Always backup important data stored on the memory card before formatting.
To format the memory card, make sure you have inserted your memory card, then turn on the device by connecting to a power source. Press REC to stop recording. Then press the MENU button twice to enter the System Setup Menu. Use the REC and MIC buttons and go to the Format setting. Press the OK Button to confirm the selection.
You may now disconnect from power. The camera will shut down after 3 seconds. The camera should begin recording automatically the next time it is powered on.
Step 4: Installing the Camera onto the Windshield
Place the camera on the mount and carefully route the power cable around the windscreen and tuck in under the trim.
Plug the Car Charger Cable into a 12V DC power outlet or the car cigarette lighter.
Connect car charger to the camera. The camera will auto-start recording once powered on.

Basic Operation
Device Power
The device is automatically powered on when plugged into a 12V accessory socket or cigarette lighter and receives a charge (i.e.: the vehicle is started.)
To turn the device on manually, press and hold the POWER button until the welcome screen appears.
The camera will automatically start recording when powered on.

Menu Settings
Power the camera on. If the camera is recording, press the REC button to stop recording. Press the MODE button and toggle to the desired mode.
Press the MENU button once to enter the settings menu for a Mode. Press the MENU button twice to enter the System Settings.

Video Recording
The camera will automatically start recording when the device receives a charge. The LED lights and the red dot will blink when the device is recording. Press the REC button to stop recording.

Video Playback
Playback of videos can be done on the device or a computer. Also, if you have purchased a Rexing GPS Logger you may play back the recordings in a specialized application.

To playback a video on the device, toggle to the Playback mode. Use the REC and MIC buttons to toggle to the desired video. Press the OK button to play.
During playback use the OK (pause), MIC (fast forward) and REC (rewind) buttons to control the video playback.
To playback a video on the computer either use an SD card adapter or connect the device to the computer directly using the USB to Mini B 5pin male cable.
To playback a video using an SD card adapter, remove the memory card and insert it into an SD card adapter. Place the adapter in the computer.
To playback a video using USB to Mini B 5pin male cable, connect the USB to Mini B 5pin Male Cable to the device and the USB connector to the computer.
After the device powers up, press the OK Button to select Mass Storage. On the computer, navigate to device drive. The videos are stored at: CARDV MOVIE.
Select the video to playback.
Parking Monitor
Connect the dash cam to the smart hardwire kit to activate the parking monitor function (Need to purchase the Smart Hardware Kit separately. ASIN: B07RN24B7V)
Please visit support.rexingusa.com to watch a video tutorial.
Wi-Fi Connect
Download “Rexing Connect” app from the App Store/Google Play Store.
- To access or exit the Wi-Fi feature, hold down OK.

- Open Wi-Fi settings on your phone, find “SSID:B50 _ XXXX” from the list, tap to connect. (Default Password: 12345678)

- Open the Rexing Connect app, tap “Connect to enter realtime video streaming page.
- Once connected, the dash cam screen will switch to the camera view and will display “Wi-Fi Connect” message.

Using the Rexing Connect app, you can view a live preview of the dash cam screen, start/stop recording, as well as view and save your captures with your mobile device.
For further instruction regarding the Wi-Fi Connect feature, please visit www.rexingusa.com/wifi-connect/.
GPS Logger
(Need to purchase separately. ASIN: B07BL4NCMD)
When connected to the camera, it will record the speed and location of your vehicle as you drive.
You can then access this information while playing back your recordings using the GPS Video player (For Windows and Mac, available at rexingusa.com).
Press the MENU button twice and enter the System Settings.
Toggle to the GPS Speed Unit setting and select your preferred speed unit.
After a GPS signal is found, the screen icon will turn from blue to green.
Please visit gpsa.rexingusa.com to watch a video tutorial.
Taking Photos
To take a photo, stop video recording and toggle to the Photo Mode.
Press the OK Button to take a photo.
To view a photo, stop video recording and toggle to the Playback Mode.
To delete a photo, stop video recording and toggle to the Playback Mode and toggle through the videos and photos to the one you want to delete.
Press the MENU button once and toggle to the Delete option.
Press the OK Button and select Delete Current or Delete All.



Car Charger
Dash Cam Mount Plate & 3M Adhesive
Mini-USB Cable
Cable Management Tool
Cable Clips©
V1 Quick Start Guide
V1 Safety Guide























