Paul Neuhaus 9002 LED Wall Lamp

Features & Specifications


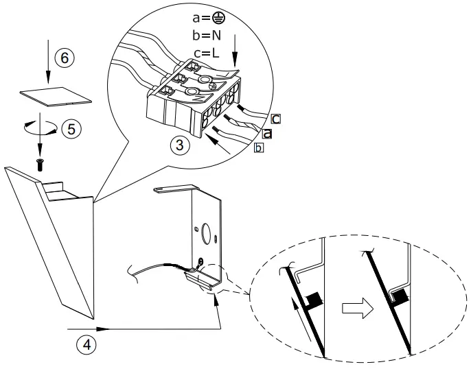
FITTING

Electrical connection

Teach remote control

RESET

This device fulfils the fundamental requirements of Directive 2014/53/EU (Radio Equipment Directive) of the European Parliament and of the Council of the European Union dated 16.04.2014 on items of radio equipment. The full declaration of conformity can be accessed at the Internet address give below.
Paul Neuhaus GmbH
Olakenweg 36·D-59457 Werl
Telefon: +49(0)2922-9721-0
Telefax: +49(0)2922-9721-9120
E-mail: [email protected]
http://scm.paul-neuhaus.de/public/conformity/




















