
3024022 Colonial Storage Chest with Lift-Up Lid
Instruction Manual
3024022 Colonial Storage Chest with Lift-Up Lid

WARNING![]()
PLEASE READ THESE INSTRUCTIONS CAREFULLY AND KEEP FOR FUTURE REFERENCE
IMPORTANT SAFETY INSTRUCTIONS
The product is intended for indoor and domestic use only.
Do not use the product for any purpose other than that for which it is designed.
This product is not a toy. Children should be supervised to ensure they do not play with the product.
WARNING! Ensure children never stand inside the product as this will damage the base.
CAUTION: The assembly pack contains small parts which pose a choking hazard to children and pets. Keep children and pets clear at all times during assembly.
Locate the product in a suitable area where it will not be an obstruction.
Do not store the product near any heat sources such as radiators or fires.
This product is water resistant but not waterproof. Any prolonged contact with water or damp clothing can cause the wood to warp or damage the finish.
WARNING! Never stand on, or rest on the product as this can cause damage or injury.
Do not overload the product as this may result in damage to the product or personal injury.
Do not exceed maximum loading capacity of 65kg (inside) 150kg (on top).
Do not clean the product with any abrasive chemicals, solvents and detergents as this can damage the surface.
Periodically check the fittings and secure as necessary (every 3 months or as required). Re-tighten the fittings 1 week after first assembly.
Take care not to over tighten any fixings as this could damage the product. Ensure you have sufficient space to assemble the product.
CAUTION: Do not use any power tools to assemble the product as this could cause damage to fixings and panels.
FINGER ENTRAPMENT WARNING! Keep your hands well clear of the product lid when closing to avoid the risk of finger entrapment.
Do not slam the lid shut.
COMPONENTS

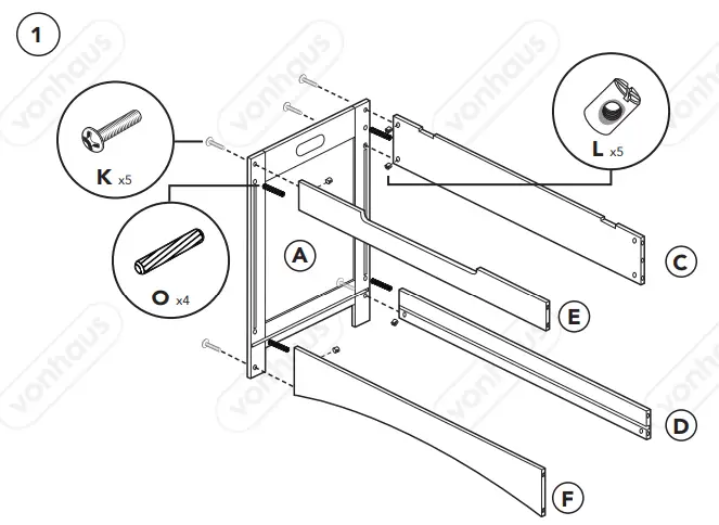
ASSEMBLY
IMPORTANT: DO NOT OVER TIGHTEN THE SCREWS AS THIS MAY SPLIT THE WOOD.
IMPORTANT: DO NOT OVER TIGHTEN THE SCREWS AS THIS MAY SPLIT THE WOOD.
CAUTION! TAKE EXTRA CARE WHEN CLOSING THE LID TO AVOID FINGER ENTRAPMENT.
CLEANING
- A weekly dust will help shift the filmy layer of airborne deposits that build up over time and can scratch the surface of your product.
- Dampen a clean, dry cloth (non-scratching and preferably microfibre) with water and gently wipe the surface. The moisture will collect the dust and prevent any flyaway dust particles.
CAUTION: Avoid using any abrasive cleaning solvents on the Hamper as this may damage the surfaces.
CUSTOMER SERVICE
If you are having difficulty using your product and require support, please contact [email protected]
DISPOSAL INFORMATION
Please recycle where facilities exist. Check with your local authority for recycling advice.
WARRANTY
To register your product and find out if you qualify for a free extended warranty please go to www.Vonhaus.com/warranty.
Please retain a proof of purchase receipt or statement as proof of the purchase date.
The warranty only applies if the product is used solely in the manner indicated in the Warnings page of this manual, and all other instructions have been followed accurately. Any abuse of the product or the manner in which it is used will invalidate the warranty.
Returned goods will not be accepted unless repackaged in its original packaging and accompanied by a relevant and completed returns form. This does not affect your statutory rights.
No rights are given under this warranty to a person acquiring the appliance second-hand or for commercial or communal use.
COPYRIGHT
All material in this instruction manual are copyrighted by DOMU Brands.
Any unauthorised use may violate worldwide copyright, trademark, and other laws.

Thank you for purchasing the Colonial Storage Chest with Lift Up Lid.
VonHaus® is a registered trademark of DOMU Brands Ltd
Made in China for DOMU Brands Ltd M24 2RW.
VonHaus.com



















