
Kit 187027
BMW 5-Series, 4-dr Sedan, 10-17
ISO 11154-E
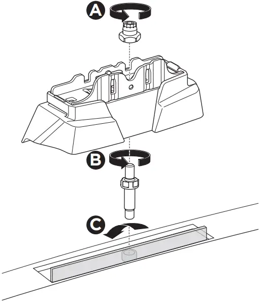
This kit is only for vehicles with fixpoint mounting.


7 kg 15,4 Ibs = Max: 75 kg / 165 lbs |
Max 130 km/h 80 Mph
|
80 km/h 50 Mph
|

| 1
| 2
|
| 3
| 4
|
| 5
| 6
|
![]()
| |
Thule Sweden AB, Borggatan 5
335 73 Hillerstorp, SWEDEN
PART OF THULE GROUP
© Thule Group 2021. All rights reserved.
5562082001
Kit 187027
7 kg 15,4 Ibs = Max: 75 kg / 165 lbs





























