Edifier R1850DB Active Bookshelf Speakers with Bluetooth and Optical Input

Specifications
- Product Dimensions
8.9 x 6.1 x 10 inches - Item Weight
16.59 pounds - Connectivity Technology
RCA, Bluetooth, Auxiliary - Speaker Type
Bookshelf, Subwoofer - Mounting Type
Coaxial, Shelf Mount - Power Output
R/L (treble): 16W+16W
R/L (mid-range and bass)
19W+19W - Frequency response
R/L: 60Hz-20KHz - Noise level
<25dB(A) - Audio inputs
PC/AUX/Optical/Coaxial/Bluetooth - Brand
Edifier
Introduction
An MDF frame surrounds the dynamic 2.0 active bookshelf speaker known as the R1850DB. This model’s woofers deliver strong bass and quick response. This model’s bass makes whatever room or area it occupies vibrate. The second subwoofer output enables you to upgrade this model’s 2.0 system to a 2.1 system by adding a subwoofer. With the most latest Bluetooth technology allowing a break from smartphones, tablets, or PCs, the R1850DB is exceptional and entertaining.
Important Safety Information
WARNING
To reduce the risk of fire or electric shock, do not expose this apparatus to rain or moisture. Thank you for purchasing Editfier Ri1850DB active speakers. Please read this manual carefully before operating this system.
- Read these instructions.
- Keep these instructions. Follow all instructions.
- Heed all warnings.
- Clean only with ary cIon.
- Do not use this apparatus near water and never put this apparatus into liquids or allow liquids to drip or spill onto lt.
- Do not place appliances filled with water on this apparatus, such as a vase; nor place any form of open fire such as lit candle.
- Do not block any ventilation openings. Please leave enough space around the speakers to keep good ventilation (the distance should be above Scam).
- Install in aCCordance with the manufacturer’s instructions
- Do not install near any heat sources such as radiators, heat registers, stoves, or other apparatus (including amplifiers) that produce heat.
- Do not defeat the safety purpose of the polarized or grounding-type plug. A polarized plug has two blades one wider than the other. A grounding-type plug has two blades and a third grounding prong. Ihe wide blade or the third prong are provided tor your safety. If the provided plug does not fit into your outlet, consult an electrician tor replace of the obsolete outlet.
- Protect the power cord from being walked on or pinched particularly at plugs, convenience receptacles, and the point where they exit from the se attachments/accessories specified by the manufacturer.
- Unplug this apparatus during lightning storms or when unused for long periods of time.
- Refer all servicing to qualified service personnel. Servicing is required when the apparatus has been damaged in any way, such as the power-supply cord or plug is damaged, liquid has been spilled or objects have fallen into the apparatus, the apparatus has been exposed to rain or moisture, does not operate normally, or has been dropped.
- The Malins plug is used as the disconnect device, the disconnect device shall remain readily operable.
- Using the product in an a0-35 environment is recommended.
- Do not use strong acid, strong alkali, and other chemical solvents to clean the product surface. Please use neutral solvent or water to dean the product.
Use only with the cart, stand, tripod., bracket, or table specified by the manufacturer, or sold with the apparatus. When a cart is used, uSe caution when moving the cart/apparatus combination to avoid injury Trom is over. correct DispOsal of this product. This marking indicates that this. the product should not be disposed of with other household wastes thrOughout the Sustainable reuse of material resources.
To return your used device, please use the return and collection systems or contact the retailer where the product was purchased. They can take this product for environmental state recycling. This equipment is a Class l or double insulated electrical appliance. It has been designed in such a way that it does not require a safety connection to the electrical earth.
What’s In the Box?
- Passive speaker
- Active speaker
- Remote Control
- User Manual


Control panel
Illustration


- Treble dial
- Bass dial
- Master volume dial
- Press to switch audio source: PC > AUX> OPT> COX
- Bluetooth
- Press and hold: Disconnect the Bluetooth connection
- Line-in input port
- 5 Optical input port
- 6 Coaxial input port
- Bass output
- Connect to the passive speaker port
- 9 Power switch
- 10 Power cord
- Connect to the active speaker port
- 2 LED indicators:
-Blue: Bluetooth mode
Green: PC mode (The light will flash once) AUX mode
(The light will flash twice)
Red: Optical mode (The light will flash once) Coaxial mode
(The light will flash twice)
Note
Ihe illustrations in this user manual may ditter from the product. Please previous with the product at your hand.
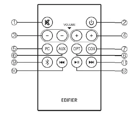
Remote Control

- Mute/cancel mute
- Standby/power on
- Volume decrease
- Volume increase
- PC input
- AUX input
- Coaxial input
- Optical input
- Bluetooth (press and hold to disconnect
Bluetooth connection) - Previous track (Bluetooth mode)
- Next track (Bluetooth mode)
- Play/Pause (Bluetooth mode)
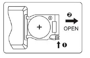
Replace the battery in the remote control
Open the remote control battery compartment as shown in the right picture. Properly replace the battery and close the battery compartment.
Note
A CR2025 cell battery sealed with insulating film is already placed in the remote control compartment as factory standard. Please take off the insulating film before the first use.
WARNING!
- Do not swallow the battery. It can cause dangerous!
- The product (the remote control included in the package) contains a cell battery. If it’s swallowed, it can cause severe injuries and lead to death within 2 hours. Please keep the new and used batteries away from children.
- If the battery compartment does not close securely, stop using the product and keep the remote control away from children.
- If you think the battery may have been swallowed or placed inside any part of the body, seek immediate medical attention.
Note
- Do not expose the remote control to extreme heat or humidity.
- Do not charge the batteries.
- Remove the batteries when not in use for an extended period of time.
- Do not expose the battery to excessive heat such as direct sun, fire, etc
- The danger of explosion if the battery is incorrectly replaced. Replace only with the same or equivalent type.
Operating Instructions
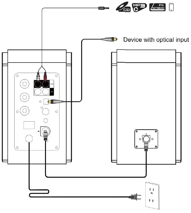
Connection

- Use the included speaker connecting cable to connect the active speaker and the passive speaker.
- Connect the speaker to the audio source device with the included audio cable.
- Connect the power adaptor to the speaker, and then connect to a power source.
- Turn on the speaker. The LED indicator on the active speaker indicates the current audio source. If it’s not the intended inputting audio source, select the corresponding input by the remote control.
Audio source Input
PC/AUX Inpur
Connect the audio cable to the PCAUX input port on the rear panel of the active speaker (please pay attention to the corresponding colors), and the other end to the audio source (i.e. PC, mobile phones and etc.).- Press PC/AUX button on the remote control or press the volume dial on the rear panel of the active speaker. The LED indicator on the active speaker turns to green: PC mode (The light will lash once), AUX mode (The light will flash twice)
- Play music and adjust the volume to a comfortable level.
Optical/Coaxial Input

- Connect the “Optical cable” or “Coaxial cable” (not included) to OPT/COX input port on the rear panel of the active speaker and device with optical and coaxial input.
- Press OPI/COX button on the remote control or press the volume dial on the rear panel of the active speaker. Ihe LED light on the active speaker turns to red: 0PT mode (The light will flash once), COX mode (The light will flash twice)
- Play music and adjust the volume to a comfortable level.
Note
In optical and coaxial modes, only PCM signals with 44.1KHz/48KHz can be decoded.
Bluetooth connection

- Press key on the remote control or the master volume control of the active speaker to select Bluetooth mode. LED indicator turns to blue.
- Turn on your Bluetooth device. Search and connect”EDIFIER R1850DB”

Disconnect Bluetooth
Press and hold the volume dial or the key on the remote control for about 2 seconds to disconnect Bluetooth
Playback
Reconnect Bluetooth and play music.
Note
- The Bluetooth on R1850DB can only be searched and connected after switching the speaker into Bluetooth input mode. Ihe existing Bluetooth connection will be disconnected once the speaker is switched to another audio source.
- When the speaker is switched back to Bluetooth input mode, the speaker will try to connect to the last connected Bluetooth audio source device.
- Pin code is “0000” if it is needed.
- In order to use all Bluetooth features offered by the product, make sure your audio source device supports A2DP and AVRCP profiles.
- The compatibility of the product may vary depending on the audio source device.
Troubleshooting

To lean more about EDIFIER, please visit www.edifier.com
For Edifier warranty queries, please visit the relevant country page on www.edifier.com and review the section titled Warranty Terms.
USA and Canada: [email protected]
South America: Please visit www.edifier.com (English) or www.edifierla.com (Spanish/Portuguese) for local contact information.
Frequently Asked Questions
- What cable do I need to connect this to a subwoofer through the sub out?
3.5mm to 3.5mm cable (if the sub has a 3.5mm input) or 3.5mm to RCA cable (if the sub has RCA inputs - Which model of Polk audio-powered subwoofer can i use with these speakers?
Since a powered subwoofer only uses a line-level input signal, you are free to use ANY brand or size-powered sub that you wish. But if you want a sub that compliments the size of these 4″ Edifiers, then the Polk 10″ would probably be a good choice. - Is there a light somewhere that shows you what mode the speaker is in?
The only light is when you are in Bluetooth mode (see instructions). - What is the rms power rating?
TOTAL POWER OUTPUT: RMS 16Wx2 + 19Wx2 = 70watts - Do they come with the cab;e to connect the left and right speakers?
Yes, it comes with a cable. I can’t measure it right now but it’s ~13-15 ft, a pretty good length. The cable has custom connections on each end, though, so it’s not a normal cable that you can just replace with a longer (or shorter) one. I’ve had the speakers for a while now — I absolutely love them. - I play my drums along with the music. are these speakers loud enough that i can still hear them while i play my drums to it?
That’s a loaded question, but I’ll share what I know. I have these and the Polk sub they recommend hooked to a TV in my garage. I have them approximately 7 feet from the ground on top of cabinets and the sub underneath the workbench. And it doesn’t matter what power tool I’m using whether it’s a table saw or paint pump, I can clearly hear the music and feel the base. Actually, I can hear it from the road. So I imagine if these were ear level with the sub on the floor, you’ll definitely hear them. These speakers are very nice and clean. I do recommend getting the sub for an extra 100 bucks. It really brings the speakers alive. I have been complimented on how good they sound by many people and plan on purchasing the exact same setup for another room or camper. I think I have 300 bucks into a system that people think I paid 3 times as much because they sound that good. - Does the skip song, fast forward, repeat last song work from the remote while connected to blue tooth? And is this plug-and-play no additional purchase?
I use Spotify and use the app to control my selections. - Can I use these speakers in my patio or they are too delicate?
I would not characterize these as “delicate”, they are however not weather-proof and would not perform well in a weather-exposed setting. - Is Bluetooth able to be disabled? Some Edifier models have Bluetooth always on
On my model R1850DB, yes, click the Bluetooth symbol on the remote. The light on the speaker will turn green from blue. GREAT SPEAKERS!!. - Do these have adjustable high-frequency crossover for tuning out some of the R1850db’s lower frequencies after adding a sub?
There is an 2 adjustment knob for the treble and base. Presumably, you would turn down the base of you add a powered sub. I have had these a week and I’m not convinced that a sub is necessary. I appreciate base and in my room, these provide quite a lot. I might hook up a PC sub I have just to see if it adds anything.

Connect the audio cable to the PCAUX input port on the rear panel of the active speaker (please pay attention to the corresponding colors), and the other end to the audio source (i.e. PC, mobile phones and etc.).


















