ELECOM TK-FDM106 Wireless Full KeyBoard and Mouse

Name and function of each part
Keyboard

- Power Switch
- Battery lamp
- Spacebar
- Battery cover
- Battery-storage compartment
- Receiver unit-storage compartment
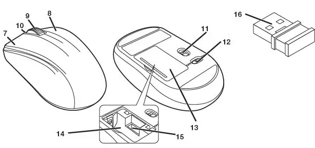
Mouse
- Left button
- Right button
- Wheel
- Battery lamp When power is ON, the LED is lit red for a fixed time. When remaining battery becomes low during use, the LED blinks red.
- Optical sensor
- Power Switch
- Battery cover
- Battery-storage compartment
- Receiver unit-storage compartment 16 USB connector (male)
Insert the battery
Keyboard

- Remove the battery cover.
- Insert the battery.
- Remove the receiver unit.
- Re-attach the battery cover to its original state.
Mouse

- Remove the battery cover.
- Insert the battery.
- Re-attach the battery cover to its original state.
Turning the Power On
Keyboard

Slide the power switch to the on position.Regarding standby mode The keyboard is usually in standby mode. Tapping on any key will automatically wake the keyboard. The keyboard will enter standby mode if there has not been any input for a fixed period of time.
Mouse

Slide the power switch to the on position. The red battery lamp lights up for a fixed period of time. fixed time. To wake the mouse from sleep mode. To preserve battery life, the mouse will automatically shift to sleep mode if left untouched for a fixed period of time while the power is ON. To wake the mouse from sleep mode, move the mouse.
Connecting to a PC

Start the PC.
Start the PC, and then wait for it to be ready to perform operations.
Insert the receiver unit into the PC’s USB port.
Any USB port may be used. The driver will be automatically installed. You will then be able to use the keyboard and mouse.
CAUTION
- Be sure to sufficiently check the connector orientation and the insertion location.
- If you feel a strong resistance when inserting the USB connector, check that the shape and orientation of the connector is correct. Using excessive force may damage the connector and cause injury.
- Do not directly touch the terminal area of the USB connector.
SPECIFICATIONS
| Number of keys | 109 keys (Japanese layout) |
| Key type | Membrane |
| Key pitch | 19.0 mm |
| Key stroke | 3.5 mm |
| Resolution | 1600 dpi |
| Read method | Optical sensor method |
| LED | Red |
| Compatible models | Windows OS devices equipped with USB interface |
| Supported OS | Windows® 10, Windows® 8.1, Windows® 7(SP1), Windows® XP(SP3) (Updating the OS or installing a service pack may be necessary.) * Compatibility information was retrieved during operation confirmation in our verification environment. There is no guarantee of complete compatibility with all devices, OS versions, and applications. |
| Interface | USB |
| Radio frequency | 2.4 GHz band |
| Radio wave method | GFSK |
| Radio wave range | Non-magnetic materials (such as wooden desks): approximately 10 m Magnetic materials (such as iron desks): approximately3 m * These are test values in company environment and are not guaranteed. |
| Dimensions (W × D × H) | Keyboard approx. 448 × 136 × 32 (mm) (The stand is not included.) approx. 448 × 136 × 41 (mm) (Using a stand) |
| Mouse approx. 60 × 100 × 38 (mm) | |
| Receiver unit approx. 20 × 16 × 7 (mm) | |
| Weight | Keyboard approx. 568 g *excluding the battery |
| Mouse approx. 57 g *excluding the battery | |
| Receiver unit approx. 2 g | |
| Operational temperature/humidity | 5°C to 40°C/ up to 90%RH (without condensation) |
| Storage temperature/ humidity | -10°C to 60°C/ up to 90%RH (without condensation) |
| Supported battery | Keyboard and mouse respectively Any one of AA alkaline battery, AA manganese battery, AA type nickel-metal hydride battery. |
| Operational time | Estimate when using alkaline battery * These are test values in company environment and are not guaranteed. Keyboard Approximately 4 years Mouse Continuous operation time : Approximately 384 hours Continuous standby time : Approximately 1041 days Estimated usage time : Approximately 2 years (The above is assuming the computer is used for eight hours a day with 5% of that time spent operating the mouse.) |
Safety Precautions
WARNING
If a foreign object (water, metal chip, etc.) enters the product, immediately stop using the product, remove the receiver unit from the PC, and remove the battery from the product. If you continue to use the product under these conditions, it may cause a fire or electric shock. If the product is behaving abnormally, such as by generating heat, smoke, or a strange smell, immediately stop using the product, shut down the PC, and then sufficiently check whether the product is generating heat while being careful to avoid being burned. Then, remove the receiver unit from the PC and remove the battery from the product. After that, contact the retailer from whom you purchased the product. Continuing to use the product under these conditions may cause a fire or electric shock. Do not drop the product or otherwise subject it to impacts. If this product is damaged, immediately stop using it, remove the receiver unit from the PC, and remove the battery from the product. After that, contact theretailer from whom you purchased the product. Continuing to use the product while it is damaged may cause a fire or electric shock. Do not attempt to disassemble, modify or repair this product by yourself, as this may cause a fire, electric shock or product damage. Do not put this product in fire, as the product may burst, resulting in a serious fire or injury. Do not insert or remove the receiver unit with wet hands. Also, do not make alterations to or forcefully bend the receiver unit.
Doing so may cause a fire or electric shock. The receiver unit presents a swallowing hazard for children, so be sure to store the receiver unit in a place out of the reach of children.
CAUTION
Do not place this product in any of the following environments:
- In a car exposed to sunlight, a place exposed to direct sunlight, or a place that becomes hot (around a heater, etc.)
- In a moist place or a place where condensation may occur In an uneven place or a place exposed to vibration
- In a place where a magnetic field is generated (near a magnet, etc.)
- In a dusty place
Batteries
This product (both keyboard and mouse) uses AA alkaline batteries, AA manganese batteries, or AA nickel hydride rechargeable batteries. If this product is not going to be used for a long period of time, remove the battery to avoid battery leakage and failure.
Cleaning the Product
If the product body becomes dirty, wipe it with a soft, dry cloth. Use of a volatile liquid (paint thinner, benzene, alcohol, etc.) may affect the material quality and colour of the product.
Cautions for Wireless Equipment
This product is wireless equipment using the entire range of the 2.4 GHz band and it is possible to avoid the band of mobile object identification systems. GFSK is used for the radio wave method. The interference distance is 10 m. The 2.4 GHz band is also used by medical equipment, Bluetooth, and wireless LAN equipment conforming to the IEEE802.11b/11g /11n standard.
WARNING
- Do not use with equipment which may cause serious consequences. There are rare cases in which an external radio wave at the same frequency, or the radio wave emitted from a mobile phone, causes this product to malfunction, slow down, or fail to operate.
- Do not use this product in a hospital or other locations where the use of radio waves is prohibited. The radio waves of this product may affect electronic and medical devices (e.g. pacemakers).
- Due to the possibility of hindering safe navigation of aircraft, the use of wireless keyboards and mouse in aircrafts is prohibited by the Civil Aeronautics Act. Remove the batteries from the keyboard and mouse before boarding and do not use after boarding. ELECOM is not liable for any accident or any indirect or consequential damage incurred due to the failure of this product.
Limitation of Liability
- In no event will ELECOM Co., Ltd be liable for any lost profits or special, consequential, indirect, punitive damages arising out of the use of this product.
- ELECOM Co., Ltd will have no liability for any loss of data, damages, or any other problems that may occur to any devices connected to this product.




















